LEMON Manuals: Even more car manuals for everyone: 1960-2025
Home >> Lexus >> 2010 >> ES 350 >> Repair and Diagnosis >> External Pages >> Different car >> Section 80 (Lighting) >> Lighting System >> System Diagram
April 5, 2026: LEMON Manuals is launched! Read the announcement.

System Diagram

WARNING: This page is about a different car, the 2007 Lexus ES 350. However, it is still accessible from the selected car via links, so may be relevant.
Fig 1: System Diagram - Exterior Light Control System
G05252276Courtesy of © TOYOTA, LICENSE AGREEMENT TMS1002
Fig 2: System Diagram - Illumination Control System
G05252277Courtesy of © TOYOTA, LICENSE AGREEMENT TMS1002
Fig 3: System Diagram - Automatic Headline Beam Level Control System
G05252278Courtesy of © TOYOTA, LICENSE AGREEMENT TMS1002
Fig 4: System Diagram - Adaptive Front-Lighting System
G05252279Courtesy of © TOYOTA, LICENSE AGREEMENT TMS1002
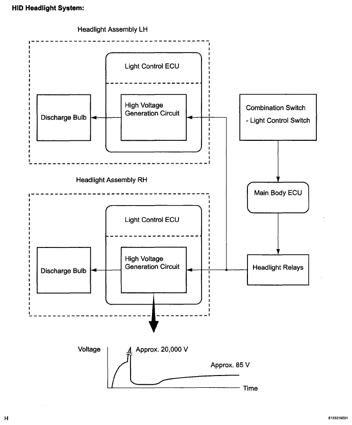
Fig 5: System Diagram - HID Headlight System
G05252280Courtesy of © TOYOTA, LICENSE AGREEMENT TMS1002