LEMON Manuals: Even more car manuals for everyone: 1960-2025
Home >> Lexus >> 2010 >> GS 450h >> Repair and Diagnosis >> General Information >> Identification >> Introduction >> Repair Instruction >> Precaution >> Precaution
April 5, 2026: LEMON Manuals is launched! Read the announcement.

Repair Instruction: Precaution: Precaution

  1. BASIC REPAIR HINT 
    1. HINTS ON OPERATIONS
      Fig 1: Hints On Operations
      GTY101633Courtesy of © TOYOTA, LICENSE AGREEMENT TMS1002
      1 Attire
      • Always wear a clean uniform.
      • Hat and safety shoes must be worn.
      2 Vehicle protection Prepare a grille cover, fender cover, seat cover and floor mat before starting the operation.
      3 Safe operation
      • When working with 2 or more persons, be sure to check safety for one another.
      • When working with the engine running, make sure to provide ventilation for exhaust fumes in the workshop.
      • If working on high temperature, high pressure, rotating, moving, or vibrating parts, wear appropriate safety equipment and take extra care not to injure yourself or others.
      • When jacking up the vehicle, be sure to support the specified location with a safety stand.
      • When lifting up the vehicle, use appropriate safety equipment.
      4 Preparation of tools and measuring gauge Before starting operation, prepare a tool stand, SST, gauge, oil and parts for replacement.
      5 Removal and installation, disassembly and assembly operations
      • Diagnose with a thorough understanding of proper procedures and of the reported problem.
      • Before removing the parts, check the general condition of the assembly and for deformation and damage.
      • When the assembly is complicated, take notes. For example, note the total number of electrical connections, bolts, or hoses removed. Add matchmarks to ensure reassembly of components in the original positions. Temporarily mark hoses and their fittings if needed.
      • Clean and wash the removed parts if necessary and assemble them after a thorough check.
      6 Removed parts
      • Place the removed parts in a separate box to avoid mixing them up with the new parts or contaminating the new parts.
      • For non-reusable parts such as gaskets, O-rings, and self-locking nuts, replace them with new ones as instructed in this information.
      • Retain the removed parts for customer inspection, if requested.
    2. JACKING UP AND SUPPORTING VEHICLE
      1. Care must be taken when jacking up and supporting the vehicle. Be sure to lift and support the vehicle at the proper locations.
    3. PRECOATED PARTS
      Fig 2: Identifying Seal Lock Adhesive
      GTY101485Courtesy of © TOYOTA, LICENSE AGREEMENT TMS1002
      1. Precoated parts are bolts and nuts that are coated with a seal lock adhesive at the factory.
      2. If a precoated part is retightened, loosened or moved in any way, it must be recoated with the specified adhesive.
      3. When reusing a precoated part, clean off the old adhesive and dry the part with compressed air. Then apply new seal lock adhesive appropriate to that part.
      4. Some seal lock agents harden slowly. You may have to wait for the seal lock adhesive to harden.
    4. GASKETS
      1. When necessary, use a sealer on gaskets to prevent leaks.
    5. BOLTS, NUTS AND SCREWS
      1. Carefully follow all the specifications for tightening torques. Always use a torque wrench.
    6. FUSES
      Fig 3: Identifying Fuses Condition
      GTY108767Courtesy of © TOYOTA, LICENSE AGREEMENT TMS1002
      1. When inspecting a fuse, check that the wire of the fuse is not broken.
      2. If the wire of a fuse is broken, confirm that there are no shorts in its circuit.
      3. When a fuse is replaced, a fuse with the same amperage rating must be used.
        Illustration Symbol Part Name Abbreviation
        GTY101271Courtesy of © TOYOTA, LICENSE AGREEMENT TMS1002
        GTY101272Courtesy of © TOYOTA, LICENSE AGREEMENT TMS1002
        FUSE FUSE
        GTY101269Courtesy of © TOYOTA, LICENSE AGREEMENT TMS1002
        GTY101270Courtesy of © TOYOTA, LICENSE AGREEMENT TMS1002
        MEDIUM CURRENT FUSE M-FUSE
        GTY103959Courtesy of © TOYOTA, LICENSE AGREEMENT TMS1002
        GTY101267Courtesy of © TOYOTA, LICENSE AGREEMENT TMS1002
        HIGH CURRENT FUSE H-FUSE
        GTY101280Courtesy of © TOYOTA, LICENSE AGREEMENT TMS1002
        GTY101281Courtesy of © TOYOTA, LICENSE AGREEMENT TMS1002
        FUSIBLE LINK FL
        GTY103963Courtesy of © TOYOTA, LICENSE AGREEMENT TMS1002
        GTY101277Courtesy of © TOYOTA, LICENSE AGREEMENT TMS1002
        CIRCUIT BREAKER CB
    7. CLIPS
      1. The removal and installation methods of typical clips used for vehicle body parts are shown in the table below.

        HINT: 

        If clips are damaged during a procedure, always replace the clips with new clips.

        Shape (Example) Illustration Procedures
        GTY103962Courtesy of © TOYOTA, LICENSE AGREEMENT TMS1002
        GTY101278Courtesy of © TOYOTA, LICENSE AGREEMENT TMS1002
        1. Remove clips with a clip remover or pliers.
        GTY101279Courtesy of © TOYOTA, LICENSE AGREEMENT TMS1002
        GTY101274Courtesy of © TOYOTA, LICENSE AGREEMENT TMS1002
        1. Remove clips with a clip remover or screwdriver.
        GTY103961Courtesy of © TOYOTA, LICENSE AGREEMENT TMS1002
        GTY101275Courtesy of © TOYOTA, LICENSE AGREEMENT TMS1002
        1. Remove clips with a wide scraper to prevent panel damage.
        GTY101293Courtesy of © TOYOTA, LICENSE AGREEMENT TMS1002
        GTY101292Courtesy of © TOYOTA, LICENSE AGREEMENT TMS1002
        1. Remove clips by pushing the center pin through and prying out the shell.
        GTY101291Courtesy of © TOYOTA, LICENSE AGREEMENT TMS1002
        GTY101290Courtesy of © TOYOTA, LICENSE AGREEMENT TMS1002
        1. Remove clips by unscrewing the center pin and prying out the shell.
        GTY101295Courtesy of © TOYOTA, LICENSE AGREEMENT TMS1002
        GTY103966Courtesy of © TOYOTA, LICENSE AGREEMENT TMS1002
        1. Remove clips by prying out the pin and then prying out the shell.
    8. CLAWS
      1. The removal and installation methods of typical claws used for vehicle body parts are shown in the table below.

        HINT: 

        If claws of caps or covers are damaged during a procedure, always replace the caps or covers with new ones.

        Shape (Example) Illustration Procedures
        GTY102292Courtesy of © TOYOTA, LICENSE AGREEMENT TMS1002
        GTY102294Courtesy of © TOYOTA, LICENSE AGREEMENT TMS1002
        1. Using a screwdriver, detach the claws and remove the caps or covers.
        GTY102138Courtesy of © TOYOTA, LICENSE AGREEMENT TMS1002
        GTY102147Courtesy of © TOYOTA, LICENSE AGREEMENT TMS1002
        1. Using a screwdriver, detach the claws and remove the caps or covers.
        GTY102146Courtesy of © TOYOTA, LICENSE AGREEMENT TMS1002
        GTY102144Courtesy of © TOYOTA, LICENSE AGREEMENT TMS1002
        1. Using a screwdriver, detach the claws and remove the caps or covers.
    9. REMOVAL AND INSTALLATION OF VACUUM HOSES
      1. To disconnect a vacuum hose, pull and twist from the end of the hose. Do not pull from the middle of the hose as this may cause damage.
        Fig 4: Precaution For Disconnecting Vacuum Hose
        GTY102112Courtesy of © TOYOTA, LICENSE AGREEMENT TMS1002
      2. When disconnecting vacuum hoses, use tags to identify where they should be reconnected.
        Fig 5: Identifying Tag On Vacuum Hoses
        GTY103856Courtesy of © TOYOTA, LICENSE AGREEMENT TMS1002
      3. After completing any hose related repairs, double check that the vacuum hoses are properly connected. The label under the hood shows the proper layout.
      4. When using a vacuum gauge, never force the hose onto a connector that is too large. If a hose has been stretched, it may leak air. Use a step-down adapter if necessary.
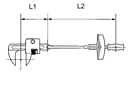
    10. TORQUE WHEN USING TORQUE WRENCH WITH EXTENSION TOOL
      Fig 6: Identifying Torque Wrench Dimension
      GTY107697Courtesy of © TOYOTA, LICENSE AGREEMENT TMS1002
      1. Use the formula below to calculate special torque values for situations where SST or an extension tool is combined with a torque wrench.
        Fig 7: Identifying SST Dimension
        GTY100345Courtesy of © TOYOTA, LICENSE AGREEMENT TMS1002

        Formula

        T' = L2 / (L1 + L2) * T

        T' Reading of torque wrench {N*m (kgf*cm, ft.*lbf)}
        T Torque {N*m (kgf*cm, ft.*lbf)}
        L1 Length of SST or extension tool {cm (in.)}
        L2 Length of torque wrench {cm (in.)}
        NOTE:

        If an extension tool or SST is combined with a torque wrench and the wrench is used to tighten to a torque specification in this information, the actual torque will be excessive and parts will be damaged.

  2. PRECAUTIONS FOR HIGH-VOLTAGE CIRCUIT INSPECTION AND SERVICE 
    1. Engineers must undergo special training to be able to perform high-voltage system inspection and servicing.
    2. All high-voltage wire harnesses are colored orange. The HV battery and other high-voltage components have "High Voltage" caution labels. Do not carelessly touch these wires and components.
    3. Fig 8: Identifying Battery Service Hole Cover
      GTY149772Courtesy of © TOYOTA, LICENSE AGREEMENT TMS1002
    4. Before inspecting or servicing the high-voltage system, be sure to follow safety measures, such as wearing insulated gloves and removing the service plug to prevent electrocution. Carry the removed service plug in your pocket to prevent other technicians from reinstalling it while you are servicing the vehicle.
    5. After removing the service plug, wait 10 minutes before touching any of the high-voltage connectors and terminals.

      HINT: 

      10 minutes are required to discharge the high-voltage condenser inside the inverter.

    6. Be sure to install the service plug before starting the hybrid system. Starting the hybrid system with the service plug removed may damage the vehicle.
    7. Before using insulated gloves, be sure to check them for cracks, tears and other types of damage by performing the following procedure.
      Fig 9: Check Gloves For Cracks, Tears And Other Types Of Damage
      GTY125493Courtesy of © TOYOTA, LICENSE AGREEMENT TMS1002
      1. Place the glove on its side.
      2. Roll the opening up 2 or 3 times.
      3. Fold the opening in half to close it.
      4. Confirm that there are no air leaks.
    8. When servicing the vehicle, do not carry metal objects like mechanical pencils or scales that can be dropped accidentally and cause a short circuit.
    9. Before touching a bare high-voltage terminal, wear insulated gloves and use an electrical tester to ensure that the terminal is not charged with electricity (approximately 0 V).
    10. Fig 10: Insulating High-Voltage Connector Or Terminal Using Insulation Tape
      GTY149773Courtesy of © TOYOTA, LICENSE AGREEMENT TMS1002
    11. After disconnecting or exposing a high-voltage connector or terminal, insulate it immediately using insulation tape.
    12. The screw of a high-voltage terminal should be tightened firmly to the specified torque. Both insufficient and excessive torque can cause failure.
    13. Use the "CAUTION: HIGH VOLTAGE. DO NOT TOUCH DURING OPERATION." sign to notify other engineers that a high-voltage system is being inspected and/or repaired.
    14. Do not place the battery upside down while removing and installing it.
    15. After servicing the high-voltage system and before reinstalling the service plug, check again that you have not left a part or tool inside, that the high-voltage terminal screws are firmly tightened, and that the connectors are correctly connected.
      Fig 11: CAUTION - HIGH VOLTAGE. DO NOT TOUCH DURING OPERATION
      GTY131978Courtesy of © TOYOTA, LICENSE AGREEMENT TMS1002
  3. PRECAUTIONS TO BE OBSERVED WHEN INSPECTING OR SERVICING ENGINE COMPARTMENT 
    Fig 12: Caution Indication Label
    GTY131980Courtesy of © TOYOTA, LICENSE AGREEMENT TMS1002

    The LEXUS GS450h automatically turns the engine ON and OFF when the READY light on the instrument panel is ON. To avoid injury, remove the key from the vehicle before inspecting or servicing the engine compartment.

  4. ACTIONS TO BE TAKEN WHEN BATTERIES ARE DEPLETED 
    1. Perform this procedure when the auxiliary battery is fully depleted.

      HINT: 

      The following problems indicate that the auxiliary battery is depleted:

      • No display appears on the instrument panel when the power switch is ON (IG).
      • The hybrid system does not start.
      • The headlights are dim.
      • The sound from the horn is weak.
      NOTE:

      Never use a quick charger.

      1. Move the shift lever to the P position and engage the parking brake.
      2. Remove the key from the vehicle.
      3. Fig 13: Connecting Battery To Vehicle
        GTY149830Courtesy of © TOYOTA, LICENSE AGREEMENT TMS1002
      4. Using a booster cable, connect the rescue vehicle's 12 V battery positive (+) lead to the stalled vehicle's relay block positive (+) terminal and the negative (-) lead to the suspension support's nut on the right side.
      5. Start the engine of the rescue vehicle and run the engine at a speed slightly higher than the idling speed for 5 minutes to charge the auxiliary battery of the stalled vehicle.
      6. Depress the brake pedal and push the power switch to start the hybrid system.

        If the hybrid system fails to start, the master warning light flashes, and the multi-information display is as shown in the illustration, the HV battery may be depleted.

        Fig 14: Identifying Master Warning Light Flashes
        GTY139074Courtesy of © TOYOTA, LICENSE AGREEMENT TMS1002
      7. Disconnect the booster cable in the reverse order of the connection procedure.
        NOTE:

        If the auxiliary battery needs to be replaced, replace it only with a 12 V battery specially designed for use with the LEXUS GS450h.

    2. When the HV battery is depleted, replace the HV battery.

      HINT: 

      Fig 15: Identifying Master Warning Light Flashes
      GTY139074Courtesy of © TOYOTA, LICENSE AGREEMENT TMS1002

      If the HV battery is depleted, the master warning light flashes, and the multi-information display is as shown in the illustration, and DTC P3000-388, 389 or 603 code is output.

  5. ACTIONS TO BE TAKEN FOR VEHICLE DAMAGED BY IMPACT 
    1. Items to be prepared for operation at the site of the accident
      • Protective clothing (insulated gloves, rubber gloves, goggles, and safety shoes)
      • Saturated boric acid solution 20 L (obtain 800 g of boric acid powder, put it into a container, and dissolve it in water)
      • Red litmus paper
      • ABC fire extinguisher (effective against both oil flames and electrical flames)
      • Shop rags (for wiping off the electrolyte)
      • Vinyl tape (for insulating cables)
      • Electrical tester
    2. Actions to be taken at the accident site
      1. Wear insulated or rubber gloves, goggles and safety shoes.
      2. Do not touch a bare cable that could be a high voltage cable. If the cable must be touched or if accidental contact is unavoidable, follow these instructions: 1) wear insulated or rubber gloves and goggles, 2) measure the voltage between the cable and the body ground using an electrical tester, and 3) insulate the cable using vinyl tape.
      3. If the vehicle catches on fire, use an ABC fire extinguisher to extinguish the fire. Trying to extinguish a fire using only a small amount of water can be more dangerous than effective. Use a substantial amount of water or wait for firefighters.
      4. Visually check the HV battery and immediate area for any electrolyte leakage. Do not touch any leaked liquid because it could be a highly alkaline electrolyte. Wear rubber gloves and goggles, and then apply red litmus paper to the leak. If the paper turns blue, the liquid must be neutralized before wiping. Neutralize the liquid using the following procedures: 1) apply saturated boric acid solution to the liquid, and 2) reapply red litmus paper and make sure it does not turn blue. Repeat steps 1 and 2 above until the paper does not turn blue. Then, wipe the neutralized liquid with a shop rag.
      5. If damage to any of the high-voltage components and cables is suspected, cut the high-voltage circuit using the procedure below.
        Fig 16: Identifying High Voltage Components Location
        GTY149822Courtesy of © TOYOTA, LICENSE AGREEMENT TMS1002
        1. Move the shift lever to the P position and engage the parking brake.
        2. Remove the key from the vehicle. Then disconnect the cable from the negative (-) terminal of the auxiliary battery.
        3. Remove the service plug while wearing insulated gloves.
          Fig 17: Identifying Battery Service Hole Cover
          GTY149772Courtesy of © TOYOTA, LICENSE AGREEMENT TMS1002
        WARNING:

        Do not turn the power switch ON (READY) while removing the service plug.

        NOTE:
        Fig 18: Identifying IGCT NO. 1 Fuse
        GTY149831Courtesy of © TOYOTA, LICENSE AGREEMENT TMS1002

        If the service plug cannot be removed due to damage to the rear portion of the vehicle, remove the IGCT NO. 1 fuse from the engine room No. 1 relay block instead.

    3. Moving the damaged vehicle

      HINT: 

      If any of the following applies, tow the vehicle away using a tow truck.

      • One or more of the high-voltage components and cables are damaged.
      • The driving, traction, or fuel system is damaged.
      • Fig 19: Identifying READY Light
        GTY149819Courtesy of © TOYOTA, LICENSE AGREEMENT TMS1002
      • The READY light is not illuminated when you start the engine.
      NOTE:
      • Tow the damaged vehicle with its front and rear wheels lifted off the ground.
      • Before towing the vehicle away using a tow truck, disconnect the cable from the negative (-) terminal of the auxiliary battery and remove the service plug. Only if none of the above applies and there are no problems that might affect driving, drive the vehicle away from the accident site to a safe place nearby.
      • Perform the procedure below if the READY light turns off, or there are abnormal noises, unusual smells, or strong vibrations while driving:
        1. Park the vehicle in a safe place.
        2. Move the shift lever to the P position and engage the parking brake.
        3. Disconnect the cable from the negative (-) terminal of the auxiliary battery.
        4. Remove the service plug while wearing insulated gloves.
    4. Actions required after moving the damaged vehicle If you see any liquid on the road surface, it could be a highly alkaline electrolyte leakage.

      Wear rubber gloves and goggles, and apply red litmus paper to the leak. If the paper turns blue, the liquid must be neutralized before wiping. Neutralize the liquid using the following procedures: 1) apply saturated boric acid solution to the liquid, and 2) reapply red litmus paper and make sure it does not turn blue. Repeat steps 1 and 2 above until the paper does not turn blue. Then wipe the neutralized liquid with a shop rag.

    5. Items to be prepared (when repairing damaged vehicles)
      • Protective clothing (insulated gloves, rubber gloves, goggles, and safety shoes)
      • Saturated boric acid solution 20 L (obtain 800 g of boric acid powder, put it into a container, and dissolve it in water)
      • Red litmus paper
      • Shop rags (for wiping off the electrolyte)
      • Vinyl tape (for insulating cables)
      • Electrical tester
    6. Precautions to be observed when servicing the damaged vehicle
      1. Wear insulated or rubber gloves, goggles, and safety shoes.
      2. Do not touch a bare cable that could be a high voltage cable. If the cable must be touched or if accidental contact is unavailable, follow these instructions: 1) wear insulated or rubber gloves and goggles, 2) measure the voltage between the cable and the body ground using an electrical tester, and 3) insulate the cable using vinyl tape.
      3. Check the HV battery and immediate area for any electrolyte leakage. Do not touch any leaked liquid because it could be a highly alkaline electrolyte. Wear rubber gloves and goggles, and then apply red litmus paper to the leak. If the paper turns blue, the liquid must be neutralized before wiping. Neutralize the liquid using the following procedures: 1) apply saturated boric acid solution to the liquid, and 2) reapply red litmus paper and make sure it does not turn blue. Repeat steps 1 and 2 above until the paper does not turn blue. Then wipe the neutralized liquid with a shop rag.
      4. If the electrolyte adheres to your skin, wash the skin immediately using saturated boric acid solution or a large amount of water. If the electrolyte adheres to an article of clothing, take the clothing off immediately.
      5. If the electrolyte comes in contact with your eyes, call out loudly for help. Do not rub your eyes. Wash them with a large amount of water and seek medical care immediately.
      6. If damage to any of the high-voltage components and cables is suspected, cut the high-voltage circuit using the procedure below.
        1. Move the shift lever to the P position and engage the parking brake.
        2. Remove the key from the vehicle. Then disconnect the cable from the negative (-) terminal of the auxiliary battery.
        3. Wear insulated gloves, and then remove the service plug.
        NOTE:

        If the service plug cannot be removed due to damage to the rear portion of the vehicle, remove the IGCT NO. 1 fuse from the engine room No. 1 relay block instead.

    7. Precautions to be taken when disposing of the vehicle

      When scrapping the vehicle, remove the HV battery from the vehicle and return it to the location specified by the manufacturer. The same applies to any damaged HV battery.

    8. After removing the battery, keep it away from water. Water may heat the battery, which results in a fire.
    9. Do not tow the vehicle with its 4 wheels on the ground.
  6. FOR VEHICLES WITH SUPPLEMENTAL RESTRAINT SYSTEM 

    The LEXUS GS450h is equipped with a Supplemental Restraint System (SRS). The SRS of this vehicle consists of the following:

    1. Steering pad
    2. Driver side knee airbag assembly
    3. Front passenger side knee airbag assembly
    4. Front passenger airbag assembly
    5. Curtain shield airbag assembly
    6. Front seat side airbag assembly
    7. Rear seat side airbag assembly
    8. Center airbag sensor assembly
    9. Front airbag sensor
    10. Side airbag sensor
    11. Rear airbag sensor
    12. Seat position sensor
    13. Front seat inner belt assembly
    14. Front seat outer belt assembly
    15. Rear seat outer belt assembly
    WARNING:
    • Before performing pre-disposal deployment of any SRS component, review and closely follow all applicable environmental and hazardous material regulations. Pre-disposal deployment may be considered hazardous material treatment.
    • Failure to carry out service procedures in the correct sequence could cause SRS parts to unexpectedly deploy and possibly lead to serious injuries. Furthermore, if a mistake is made when servicing SRS parts, they may fail to operate when required. Before performing servicing (including installation/removal, inspection and replacement of parts), be sure to read the following precautions.
    • Before starting work, wait at least 90 seconds after the power switch is turned OFF and after the cable of the negative (-) battery terminal is disconnected. (SRS parts are equipped with a backup power source. If work is started within 90 seconds of turning the power switch OFF and disconnecting the cable from the negative (-) battery terminal, SRS parts may deploy.)
    • Do not expose SRS parts directly to hot air or flames.
    NOTE:
    • Malfunction symptoms of SRS parts are difficult to confirm. DTCs are the most important source of information when troubleshooting. During troubleshooting, always confirm DTCs before disconnecting the cable from the negative (-) battery terminal.
    • For minor collisions where SRS parts do not deploy, always inspect the SRS parts.
    • Before performing repairs, remove airbag sensors as necessary if any kind of impact is likely to occur to an airbag sensor during repairs.
    • Never use SRS parts from another vehicle. When replacing SRS parts, replace them with new ones.
    • Never disassemble or attempt to repair SRS parts.
    • If an SRS part has been dropped, or if there are any cracks, dents or other defects in the case, bracket or connector, replace the SRS part with a new one.
    • Use an ohmmeter/voltmeter with high impedance (10 kΩ/V minimum) for troubleshooting the electrical circuits.
    • Information labels are attached to the periphery of SRS parts. Follow the cautions and instructions on the labels.
    • After work on SRS parts is completed, perform the SRS warning light check.
    • When the cable is disconnected from the negative (-) battery terminal, the memory settings of each system will be cleared. Because of this, be sure to write down the settings of each system before starting work. When work is finished, reset the settings of each system as before. Never use a backup power supply from outside the vehicle to avoid erasing the memory in a system.
    1. SPIRAL CABLE
      1. The steering wheel must be fitted correctly to the steering column with the spiral cable at the neutral position, as cable disconnection and other problems may occur. Refer to the information about correct installation of the steering wheel STEERING (SERVICE INFORMATION) .
    2. AIRBAG ASSEMBLY
      1. Airbag assembly with pad:

        Always place a removed or new airbag assembly with the pad surface facing upward. Placing the airbag assembly with the airbag inflation direction facing downward could cause a serious accident if the airbag inflates. Also, do not place anything on top of the airbag assembly.

      2. Never measure the resistance of the airbag squib. This may cause the airbag to inflate, which could cause a serious injury.
      3. Grease or detergents of any kind should not be applied to the airbag assembly.
      4. Store the airbag assembly in an area where the ambient temperature is below 93°C (200°F), the humidity is not high and there is no electrical noise.
      5. When using electric welding anywhere on the vehicle, disconnect the airbag ECU connectors. These connectors contain shorting springs. This feature reduces the possibility of the airbag deploying due to currents entering the squib wiring.
      6. When disposing of the vehicle or the airbag assembly by itself, the airbag should be deployed using SST before disposal. Activate the airbag in a safe place away from electrical noise.
    3. SEAT OUTER BELT ASSEMBLY WITH PRETENSIONER
      1. Never measure the resistance of the seat outer belt. This may cause the pretensioner of the seat outer belt to activate, which could cause a serious injury.
      2. Never install the seat outer belt on another vehicle.
      3. Store the seat outer belt in an area where the ambient temperature is below 80°C (176°F), the humidity is not high and there is no electrical noise.
      4. When using electric welding anywhere on the vehicle, disconnect the airbag ECU connectors (2 pins). These connectors contain shorting springs. This feature reduces the possibility of the pretensioner deploying due to currents entering the squib wiring.
      5. When disposing of a vehicle or the seat outer belt by itself, the pretensioner should be activated before disposal. Activate the pretensioner in a safe place away from electrical noise.
      6. As the seat outer belt is hot after the pretensioner is activated, allow some time for it to cool down sufficiently before disposal. Never apply water to try to cool down the seat outer belt.
      7. Grease, detergents, oil or water should not be applied to the seat outer belt.
    4. AIRBAG SENSOR ASSEMBLY
      1. Never reuse an airbag sensor assembly that has been involved in a collision where the SRS has deployed.
      2. The connectors to the airbag sensor assembly should be connected or disconnected with the sensor placed on the floor. If the connectors are connected or disconnected while the airbag sensor assembly is not placed on the floor, the SRS may activate.
      3. Work must be started at least 90 seconds after the power switch is turned OFF and the cable is disconnected from the negative (-) battery terminal, even if only loosening the set bolts of the airbag sensor assembly.
    5. WIRE HARNESS AND CONNECTOR
      1. The SRS wire harness is integrated with the instrument panel wire harness assembly. All the connectors in the system are yellow. If the SRS wire harness becomes disconnected or the connector becomes broken, repair or replace it.
  7. ELECTRONIC CONTROL 
    Fig 20: Disconnecting Battery Negative Cable
    GTY107923Courtesy of © TOYOTA, LICENSE AGREEMENT TMS1002
    1. REMOVAL AND INSTALLATION OF BATTERY TERMINAL
      NOTE:

      Certain systems need to be initialized after disconnecting and reconnecting the cable from the negative (-) battery terminal.

      1. Before performing electronic work, disconnect the cable from the negative (-) battery terminal to prevent component and wire damage caused by accidental short circuits.
      2. When disconnecting the cable, turn the power switch OFF and headlight dimmer switch OFF and loosen the cable nut completely. Perform these operations without twisting or prying the cable. Then disconnect the cable.
      3. Clock settings, radio settings, audio system memory, DTCs and other data are erased when the cable is disconnected from the negative (-) battery terminal. Write down any necessary data before disconnecting the cable.
    2. HANDLING OF ELECTRONIC PARTS
      Fig 21: Precaution For Handling Of Electronic Parts
      GTY101247Courtesy of © TOYOTA, LICENSE AGREEMENT TMS1002
      1. Do not open the cover or case of the ECU unless absolutely necessary. If the IC terminals are touched, the IC may be rendered inoperative by static electricity.
      2. Do not pull the wires when disconnecting electronic connectors. Pull the connector itself.
      3. Be careful not to drop electronic components, such as sensors or relays. If they are dropped on a hard surface, they should be replaced.
      4. When cleaning the engine with steam, protect the electronic components, air filter and emission-related components from water.
      5. Never use an impact wrench to remove or install temperature switches or temperature sensors.
      6. When measuring the resistance of a wire connector, insert the tester probe carefully to prevent terminals from bending.
  8. REMOVAL AND INSTALLATION OF FUEL CONTROL PARTS 
    1. PLACE FOR REMOVING AND INSTALLING FUEL SYSTEM PARTS
      1. Work in a location with good air ventilation that does not have welders, grinders, drills, electric motors, stoves, or any other ignition sources.
      2. Never work in a pit or near a pit as vaporized fuel will collect in those places.
    2. REMOVING AND INSTALLING FUEL SYSTEM PARTS
      1. Prepare a fire extinguisher before starting the operation.
      2. To prevent static electricity, install a ground wire to the fuel changer, vehicle and fuel tank, and do not spray the surrounding area with water. Be careful when performing work in this area, as the work surface will become slippery. Do not clean up gasoline spills with water, as this may cause the gasoline to spread, and possibly create a fire hazard.
      3. Avoid using electric motors, working lights and other electric equipment that can cause sparks or high temperatures.
      4. Avoid using iron hammers as they may create sparks.
      5. Dispose of fuel-contaminated cloth separately using a fire resistant container.
  9. REMOVAL AND INSTALLATION OF ENGINE INTAKE PARTS 
    Fig 22: Identifying Engine Intake Parts
    GTY103361Courtesy of © TOYOTA, LICENSE AGREEMENT TMS1002
    1. If any metal particles enter inlet system parts, this may damage the engine.
    2. When removing and installing inlet system parts, cover the openings of the removed parts and engine openings. Use gummed tape or other suitable materials.
    3. When installing inlet system parts, check that no metal particles have entered the engine or the installed parts.
  10. HANDLING OF HOSE CLAMPS 
    Fig 23: Identifying Hose Clamps
    GTY100652Courtesy of © TOYOTA, LICENSE AGREEMENT TMS1002
    1. Before removing the hose, check the clamp position so that it can be reinstalled in the same position.
    2. Replace any deformed or dented clamps with new ones.
    3. When reusing a hose, attach the clamp on the clamp track portion of the hose.
    4. For a spring type clamp, you may want to spread the tabs slightly after installation by pushing in the direction of the arrows as shown in the illustration.
  11. FOR VEHICLES EQUIPPED WITH MOBILE COMMUNICATION SYSTEMS 
    1. Install the antenna as far away from the ECU and sensors of the vehicle electronic systems as possible.
      Fig 24: Installing Antenna Feeder Away From ECU And Sensors
      GTY103758Courtesy of © TOYOTA, LICENSE AGREEMENT TMS1002
    2. Install the antenna feeder at least 20 cm (7.87 in.) away from the ECU and sensors of the vehicle electronic systems. For details about ECU and sensor locations, refer to the article of the applicable components.
    3. Keep the antenna and feeder separate from other wirings as much as possible. This will prevent signals from the communication equipment from affecting vehicle equipment and vice versa.
    4. Check that the antenna and feeder are correctly adjusted.
    5. Do not install a high-powered mobile communication system.
  12. HEADLIGHT INSPECTION MAINTENANCE 
    1. When the headlight dimmer switch assembly is set to HEAD, do not touch the discharge headlight's high-voltage socket area.
      NOTE:

      When performing inspection maintenance, the discharge headlight's precautions must be followed.

    2. When the headlights are illuminated, do not cover the headlights for 3 minutes or more.
      Fig 25: Caution - Do Not Cover Headlights For 3 Minutes Or More
      GTY104190Courtesy of © TOYOTA, LICENSE AGREEMENT TMS1002
      NOTE:

      As the headlight's outer lens is made of resin, the resulting heat created when covering the headlight for an extended period of time may deform the headlight.

  13. FOR VEHICLES EQUIPPED WITH TRACTION CONTROL (TRAC) AND VEHICLE STABILITY CONTROL (VSC) SYSTEM 

    When testing with 2-wheel drum tester such as a speedometer tester, a combination tester for the speedometer and brake, a chassis dynamometer, or when jacking up the rear wheels and turning the wheels, enter the "MAINTENANCE MODE" with the Techstream and turn traction control off and the VSC system off.

    WARNING:

    If the vehicle is tested in normal mode on the drum tester, the traction control and VSC system may cause the vehicle to jump out from the drum tester.

    NOTE:
    • Check that the slip indicator light illuminates on the combination meter.
    • For safety, secure the vehicle with restraint chains while using a drum tester.
    1. Activating inspection mode:
      1. Connect the Techstream to the DLC3.
      2. Turn the power switch ON (IG).
      3. Turn the Techstream ON.
      4. Select from the tester menus: Powertrain, Hybrid Control, Utility, Inspection mode - 2WD Inspection.
      5. Check that "MAINTENANCE MODE" is displayed on the multi-information display.
        Fig 26: Identifying Warning Light - MAINTENANCE MODE
        GTY149821Courtesy of © TOYOTA, LICENSE AGREEMENT TMS1002

        HINT: 

        The slip indicator light illuminates on the combination meter.

      6. Begin testing.
      7. Check that the "MAINTENANCE MODE" is deactivated and the slip indicator light turns off after testing.
        WARNING:

        Do not drive the vehicle if it is in "MAINTENANCE MODE".

    2. Notices when using drum tester for the vehicle stability control system
      1. Do not perform unnecessary installation and removal as it might affect the adjustment of VSC related parts.
      2. Be sure to follow the instructions for work preparation and final confirmation of proper operation of the VSC system.
  14. FOR VEHICLES EQUIPPED WITH CATALYTIC CONVERTER 
    WARNING:

    If a large amount of unburned gasoline or gasoline vapors flow into the converter, it may cause overheating and create a fire hazard. To prevent this, observe the following precautions.

    1. Use only unleaded gasoline.
    2. Avoid idling the engine for more than 20 minutes.
    3. Avoid performing unnecessary spark jump tests.
      1. Perform a spark jump test only when absolutely necessary. Perform this test as rapidly as possible.
      2. While testing, never race the engine.
    4. Avoid a prolonged engine compression measurement. Engine compression measurements must be performed as rapidly as possible.
    5. Do not run the engine when the fuel tank is nearly empty. This may cause the engine to misfire and create an extra load on the converter.
  15. INSPECTION AND ADJUSTMENT OF JOINT ANGLE DURING REMOVAL AND INSTALLATION OF PROPELLER SHAFT 
    1. When performing operations which involve the removal and installation of the propeller shaft, always check the joint angle. Make adjustments if necessary. Refer to REMOVAL & INSTALLATION - Step 3 .
      Fig 27: Measuring Installation Angle Of Differential
      GTY136618Courtesy of © TOYOTA, LICENSE AGREEMENT TMS1002