LEMON Manuals: Even more car manuals for everyone: 1960-2025
Home >> Lexus >> 2010 >> IS 250 AWD V6-2.5L (4GR-FSE) >> Repair and Diagnosis >> Heating and Air Conditioning >> Control Assembly >> Service and Repair >> Overhaul >> Reassembly
April 5, 2026: LEMON Manuals is launched! Read the announcement.

Reassembly





AIR CONDITIONING: AIR CONDITIONING PANEL: REASSEMBLY

1. INSTALL NO. 1 CONTROL KNOB SUB-ASSEMBLY

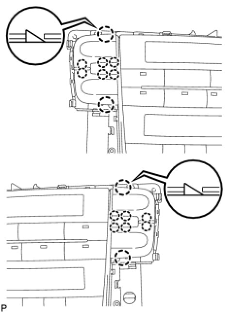
(a) Engage the 16 claws, and install the No. 1 control knob sub-assembly.





2. INSTALL INSTRUMENT CLUSTER FINISH PANEL CENTER

(a) Engage the 5 claws.





(b) Install the integration control panel with 6 screws.