LEMON Manuals: Even more car manuals for everyone: 1960-2025
Home >> Lexus >> 2010 >> IS 350C V6-3.5L (2GR-FSE) >> Repair and Diagnosis >> Maintenance >> Alignment >> Service and Repair >> Rear Wheel Alignment
April 5, 2026: LEMON Manuals is launched! Read the announcement.

Rear Wheel Alignment





ALIGNMENT / HANDLING DIAGNOSIS: REAR WHEEL ALIGNMENT: ADJUSTMENT

NOTICE:
If the wheel alignment has been adjusted, or if suspension or underbody components have been removed/installed or replaced, be sure to perform the following initialization procedure in order for the system to function normally:

* Disconnect the cable from the negative (-) battery terminal for more than 2 seconds.
* Reconnect the cable to the negative (-) battery terminal.
* Perform zero point calibration of the yaw rate and acceleration sensor and test mode inspection.
1. INSPECT TIRES

(a) Inspect the tires Component Tests and General Diagnostics.

2. MEASURE VEHICLE HEIGHT Front Wheel Alignment

3. INSPECT CAMBER

(a) Remove the center wheel ornament.

(b) Install a camber-caster-kingpin gauge at the center of the axle hub or drive shaft.





Text in Illustration





(c) Inspect the camber.

Camber (Unloaded Vehicle):





NOTICE:
Inspect while the vehicle is unloaded.

(d) If the measured value is not within the specified range, inspect the suspension parts for damage and wear. Replace parts as necessary because camber cannot be properly adjusted with any damaged or worn parts.

(e) Remove the camber-caster-kingpin gauge.

(f) Install the center wheel ornament.

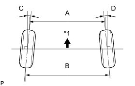
4. INSPECT TOE-IN





Text in Illustration





Toe-in (Unloaded Vehicle):





NOTICE:
Inspect while the vehicle is unloaded.

HINT
Measure "B - A" only when "C + D" cannot be measured.

If the toe-in is not within the specified range, inspect the suspension parts and replace parts if necessary.

5. ADJUST TOE-IN

(a) Loosen the toe adjust cam nut.





(b) Turn the adjust cams by an equal amount to adjust the toe-in.

HINT
* Try to adjust the toe-in to the center value.
* The toe-in will change by the following amount corresponding to each graduation of the cam:
* Approx. 4.0 mm (0.16 in.)
(c) Tighten the toe adjust cam nut.

Torque : 50 Nm (510 kgf-cm, 37 ft-lbf)

6. INSPECT REAR SUSPENSION

(a) Inspect the rear suspension member.





(1) Measure the distance between the centers of the 2 installation bolts of the rear No. 2 suspension arm assembly LH and RH.

Standard:

508.6 to 514.6 mm (1.669 to 1.688 ft.)

(1) If the distance is not within the specified range, replace the rear suspension member.

HINT
Refer to the instructions for Removal and Installation of the rear suspension member Removal.

(2) Visually inspect the press holes on the installation area of the rear No. 2 upper control arm assembly.

Standard:

The holes are not deformed.





(2) If the holes are deformed, replace the rear suspension member.

HINT
Refer to the instructions for Removal and Installation of the rear suspension member Removal.

(b) Inspect the rear No. 2 suspension arm assembly.





(1) Measure the distance between the centers of the 2 installation bolts of the rear No. 2 suspension arm assembly.

Standard:

433.4 to 434.4 mm (1.422 to 1.425 ft.)

(1) If the distance is not within the specified range, replace the rear No. 2 suspension arm assembly.

HINT
Refer to the instructions for Removal and Installation of the rear lower arm Removal.

(c) Inspect the rear No. 2 upper control arm assembly.





(1) Measure the distance between the centers of the installation bolt of the rear No. 2 upper control arm assembly and the ball joint stud.

Standard:

307.3 to 308.7 mm (1.008 to 1.013 ft.)

(1) If the distance is not within the specified range, replace the rear No. 2 upper control arm assembly.

HINT
Refer to the instructions for Removal and Installation of the rear upper arm Removal.

(d) Inspect and adjust the toe-in and camber.

(1) Inspect the toe-in and camber.

If the values are not within the specified ranges, adjust the installation bolt holding the rear suspension member to the vehicle body, or the bolt holding the upper control arm and rear suspension arm so that the values fall within the specified ranges.

7. PLACE FRONT WHEELS FACING STRAIGHT AHEAD

8. DISCONNECT CABLE FROM NEGATIVE BATTERY TERMINAL

NOTICE:
Disconnect the cable from the negative (-) battery terminal for more than 2 seconds.

NOTICE:

W/ Navigation System for HDD

After the engine switch is turned off, the display and navigation module display (HDD navigation system) records various types of memory and settings. As a result, after turning the engine switch off, make sure to wait at least 60 seconds before disconnecting the cable from the negative (-) battery terminal.

9. CONNECT CABLE TO NEGATIVE BATTERY TERMINAL

10. PERFORM YAW RATE AND ACCELERATION SENSOR ZERO POINT CALIBRATION

HINT
Perform the yaw rate and acceleration sensor zero point calibration Programming and Relearning.

11. CHECK STEERING ANGLE SENSOR ZERO POINT CALIBRATION

HINT
Check steering angle sensor zero point calibration C1290.