LEMON Manuals: Even more car manuals for everyone: 1960-2025
Home >> Lexus >> 2010 >> IS 350C >> Repair and Diagnosis >> Body & Frame >> Windows >> Power Window Control (Diagnostics) >> Power Window Control System >> Front Passenger Side Power Window does not Operate with Front Passenger Side Power Window Switch >> Procedure
April 5, 2026: LEMON Manuals is launched! Read the announcement.

Front Passenger Side Power Window does not Operate with Front Passenger Side Power Window Switch: Procedure

  1. CHECK REMOTE UP / DOWN FUNCTION (for Front Passenger Side) 
    1. Check that the remote up and down function using the power window regulator master switch assembly operates the front passenger door window. Refer to OPERATION CHECK .

      OK

      Front passenger door remote up and down function operates normally.

    NG → See step   2 

    OK → See step   8 

  2. CHECK HARNESS AND CONNECTOR (POWER WINDOW REGULATOR SWITCH - BODY GROUND AND BATTERY) 
    1. Disconnect the power window regulator switch assembly connector.
      Fig 1: Identifying L17 Connector Terminals
      GTY275970Courtesy of © TOYOTA, LICENSE AGREEMENT TMS1002
      TEXT IN ILLUSTRATION

      *1 Front view of wire harness connector
      (to Power Window Regulator Switch Assembly)
    2. Measure the resistance and voltage according to the value(s) in the table below.

      Standard Resistance

      Tester Connection Condition Specified Condition
      L17-20 (GND) - Body ground Always Below 1 Ω

      Standard Voltage

      Tester Connection Condition Specified Condition
      L17-8 (B) - L17-20 (GND) Always 11 to 14 V
      L17-10 (B) - L17-20 (GND) Always 11 to 14 V

    NG → REPAIR OR REPLACE HARNESS OR CONNECTOR 

    OK: Go to next step 

  3. INSPECT POWER WINDOW REGULATOR MASTER SWITCH ASSEMBLY (WINDOW LOCK SWITCH OPERATION SIGNAL) 
    1. Turn the engine switch on (IG).
    2. Measure the voltage according to the value(s) in the table below.
      Fig 2: Identifying M17 Connector Terminals
      GTY257654Courtesy of © TOYOTA, LICENSE AGREEMENT TMS1002
      TEXT IN ILLUSTRATION

      *1 Component with harness connected
      (Power Window Regulator Master Switch Assembly)

      Standard Voltage

      Tester Connection Switch Condition Specified Condition
      M17-16 (PWS) - Body ground Window lock switch off 11 to 14 V
      M17-16 (PWS) - Body ground Window lock switch on Below 1 V

    NG → See step   9 

    OK: Go to next step 

  4. CHECK HARNESS AND CONNECTOR (MASTER SWITCH - POWER WINDOW REGULATOR SWITCH) 
    1. Disconnect the power window regulator master switch assembly connector.
      Fig 3: Identifying M17 And L17 Connector Terminals
      GTY269776Courtesy of © TOYOTA, LICENSE AGREEMENT TMS1002
      TEXT IN ILLUSTRATION

      *1 Front view of wire harness connector
      (to Power Window Regulator Master Switch Assembly)
      *2 Front view of wire harness connector
      (to Power Window Regulator Switch Assembly)
    2. Measure the resistance according to the value(s) in the table below.

      Standard Resistance

      Tester Connection Condition Specified Condition
      M17-16 (PWS) - L17-16 (PCT) Always Below 1 Ω
      M17-16 (PWS) - Body ground Always 10 kΩ or higher
      L17-16 (PCT) - Body ground Always 10 kΩ or higher

    NG → REPAIR OR REPLACE HARNESS OR CONNECTOR 

    OK: Go to next step 

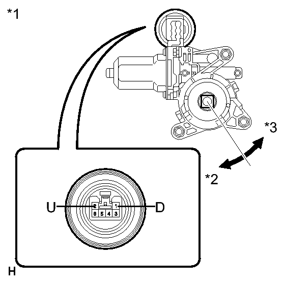
  5. INSPECT POWER WINDOW REGULATOR MOTOR ASSEMBLY (for Front Passenger Side) 
    1. Remove the power window regulator motor assembly (for front passenger side). Refer to REMOVAL .
      Fig 4: Identifying Power Window Regulator Motor Assembly (For Front Passenger Side) Connector Terminals
      GTY280610Courtesy of © TOYOTA, LICENSE AGREEMENT TMS1002
      TEXT IN ILLUSTRATION

      *1 Component without harness connected
      (Power Window Regulator Motor Assembly (for Front Passenger Side))
      *2 Clockwise
      *3 Counterclockwise
    2. Check power window regulator motor operation:
      1. Apply battery voltage to connector terminals 1 and 2.
        NOTE:

        Do not apply battery voltage to any terminals except terminals 1 and 2.

      2. Check that the motor gear rotates smoothly as follows.

        OK

        Measurement Condition Specified Condition
        Battery positive (+) → 1 (D)
        Battery negative (-) → 2 (U)
        Motor gear rotates clockwise
        Battery positive (+) → 2 (U)
        Battery negative (-) → 1 (D)
        Motor gear rotates counterclockwise
    3. Check PTC operation:
      NOTE:

      This check must be performed with the power window regulator and door glass installed on the vehicle.

      1. Install the power window regulator motor assembly (for front passenger side). Refer to INSTALLATION .
      2. Reconnect the power window regulator switch assembly connector.
      3. Initialize the power window regulator switch assembly. Refer to INITIALIZATION .
      4. Connect an electrical tester DC 400 A probe to the wire harness of terminal 2.
        Fig 5: Identifying L15 Connector Terminals
        GTY286352Courtesy of © TOYOTA, LICENSE AGREEMENT TMS1002
        TEXT IN ILLUSTRATION

        *1 Component with harness connected
        (Power Window Regulator Motor Assembly (for Front Passenger Side))
        NOTE:

        Match the arrow mark of the probe with the direction of the current flow.

      5. Fully close the door glass by pulling up the power window regulator switch assembly. Wait for approximately 60 seconds.
      6. Continue to pull up the power window regulator switch assembly and measure how long it takes for the electrical current to change from a range of 16 to 28 A to approximately 1 A (current shut-off inspection).

        Standard

        4 to 90 seconds

      7. Wait for 60 seconds after the previous step, and then push down the power window regulator switch assembly.

        OK

        The front passenger door window goes down.

    NG → See step   7 

    OK: Go to next step 

  6. CHECK HARNESS AND CONNECTOR (POWER WINDOW REGULATOR SWITCH - REGULATOR MOTOR) 
    1. Disconnect the power window regulator switch assembly connector.
    2. Disconnect the power window regulator motor assembly (for front passenger side) connector.
      Fig 6: Identifying L17 And L15 Connector Terminals
      GTY254325Courtesy of © TOYOTA, LICENSE AGREEMENT TMS1002
      TEXT IN ILLUSTRATION

      *1 Front view of wire harness connector
      (to Power Window Regulator Switch Assembly)
      *2 Front view of wire harness connector
      (to Power Window Regulator Motor Assembly (for Front Passenger Side))
    3. Measure the resistance according to the value(s) in the table below.

      Standard Resistance

      Tester Connection Condition Specified Condition
      L17-1 (UP) - L15-2 (U) Always Below 1 Ω
      L17-11 (DN) - L15-1 (D) Always Below 1 Ω
      L17-1 (UP) - Body ground Always 10 kΩ or higher
      L17-11 (DN) - Body ground Always 10 kΩ or higher
      L15-2 (U) - Body ground Always 10 kΩ or higher
      L15-1 (D) - Body ground Always 10 kΩ or higher

    NG → REPAIR OR REPLACE HARNESS OR CONNECTOR 

    OK → See step   8 

  7. REPLACE POWER WINDOW REGULATOR MOTOR ASSEMBLY (for Front Passenger Side). Refer to  REMOVAL 
  8. REPLACE POWER WINDOW REGULATOR SWITCH ASSEMBLY. Refer to  REMOVAL 
  9. REPLACE POWER WINDOW REGULATOR MASTER SWITCH ASSEMBLY. Refer to  REMOVAL