LEMON Manuals: Even more car manuals for everyone: 1960-2025
Home >> Lexus >> 2010 >> IS F >> Repair and Diagnosis >> Accessories & Equipment >> Infotainment >> LEXUS ENFORM System (Diagnostics) >> LEXUS ENFORM System >> System Diagram >> System Diagram
April 5, 2026: LEMON Manuals is launched! Read the announcement.

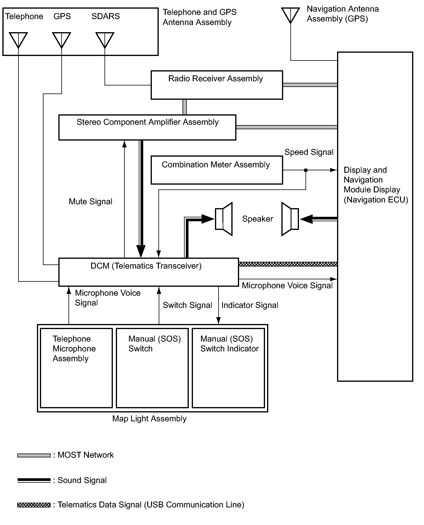
System Diagram

Fig 1: Lexus Enform System Diagram
GTY276533Courtesy of © TOYOTA, LICENSE AGREEMENT TMS1002