LEMON Manuals: Even more car manuals for everyone: 1960-2025
Home >> Lexus >> 2010 >> LS 460 AWD >> Repair and Diagnosis >> Body & Frame >> Windows >> Windshield / WINDOWGLASS (Service Information) >> Windshield Glass >> Installation >> Installation
April 5, 2026: LEMON Manuals is launched! Read the announcement.

Windshield Glass: Installation: Installation

HINT: 

A bolt without a torque specification is shown in the standard bolt chart. Refer to SPECIFIED TORQUE FOR STANDARD BOLTS .

  1. INSTALL NO. 1 WINDSHIELD GLASS STOPPER 
    Fig 1: Identifying Stoppers To Vehicle Body
    GTY120125Courtesy of © TOYOTA, LICENSE AGREEMENT TMS1002
    1. Install 2 new stoppers to the vehicle body as shown in the illustration.
  2. INSTALL NO. 2 WINDSHIELD GLASS STOPPER 
    1. Apply Primer G to the glass where the stopper will be installed.
      NOTE:
      • Allow the primer to dry for 3 minutes or more.
      • Throw away any leftover primer.
      • Do not apply too much primer.
    2. Install 2 new stoppers onto the glass as shown in the illustration.
      Fig 2: Identifying Ceramic Notch & Ceramic Line
      GTY117428Courtesy of © TOYOTA, LICENSE AGREEMENT TMS1002
  3. INSTALL UPPER WINDSHIELD OUTSIDE MOLDING 
    1. Using a brush or sponge, coat the contact surface of the glass and molding with Primer G.
      NOTE:
      • Allow the primer coating to dry for 3 minutes or more.
      • Do not coat the adhesive with Primer G.
      • Throw away any leftover primer.
    2. Fig 3: Applying Adhesive To Molding
      GTY128704Courtesy of © TOYOTA, LICENSE AGREEMENT TMS1002
    3. Apply adhesive to the molding as shown in the illustration.

      Adhesive

      Toyota Genuine Windshield Glass Adhesive or equivalent

      HINT: 

      Use all adhesive within the time written in the table below.

      Usage timeframe

      Temperature Usage Timeframe
      35°C (95°F) 15 minutes
      20°C (68°F) 1 hour 40 minutes
      5°C (41°F) 8 hours
    4. Fig 4: Identifying Windshield Outside Molding
      GTY136193Courtesy of © TOYOTA, LICENSE AGREEMENT TMS1002
    5. Install the windshield outside molding, as shown in the illustration.
    6. Fig 5: Identifying Adhesive Applying Area
      GTY116561Courtesy of © TOYOTA, LICENSE AGREEMENT TMS1002
      NOTE:

      Make sure that no adhesive remains on the molding and glass.

    7. Remove any unnecessary adhesive before it hardens.
  4. INSTALL WINDSHIELD GLASS RETAINER 
    1. Apply Primer G to the glass where the retainer will be installed.
      NOTE:
      • Allow the primer to dry for 3 minutes or more.
      • Throw away any leftover primer.
      • Do not apply too much primer.
    2. Install 2 new retainers onto the glass as shown in the illustration.
      Fig 6: Identifying Windshield Glass Retainers
      GTY142209Courtesy of © TOYOTA, LICENSE AGREEMENT TMS1002

      Specification

      Area Measurement
      a 30 mm (1.18 in.)
  5. INSTALL WINDSHIELD GLASS ADHESIVE DAM 
    1. Apply Primer G to the glass where the glass adhesive dams will be installed.
      NOTE:
      • Allow the primer to dry for 3 minutes or more.
      • Throw away any leftover primer.
      • Do not apply too much primer.
    2. Remove the peeling paper from the adhesive part of the dam. Install the dam (adhesive side) to the glass (Primer G area), but exclude the area above the notches on the upper part of the glass.
      Fig 7: Identifying Dam Center Line & Ceramic Line With Ceramic Notch
      GTY139948Courtesy of © TOYOTA, LICENSE AGREEMENT TMS1002
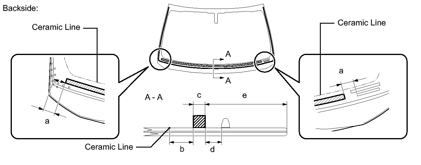
  6. INSTALL WINDSHIELD GLASS SEAL 
    1. Apply Primer G to the glass where the windshield glass seal will be installed.
      NOTE:
      • Allow the primer to dry for 3 minutes or more.
      • Throw away any leftover primer.
      • Do not apply too much primer.
    2. Remove the peeling paper from the windshield glass seal. Install the seal to the glass.
      Fig 8: Identifying Windshield Glass Seal Paper Installation Position
      GTY116624Courtesy of © TOYOTA, LICENSE AGREEMENT TMS1002

      Specification

      Area Measurement
      a 30.0 mm (1.18 in.)
      b 20.0 mm (0.787 in.)
      c 10.0 mm (0.394 in.)
      d 13.0 mm (0.512 in.)
      e 88.7 mm (3.49 in.)
  7. INSTALL WINDSHIELD GLASS 
    Fig 9: Placing Matchmarks Over Glass And Vehicle Body
    GTY125716Courtesy of © TOYOTA, LICENSE AGREEMENT TMS1002
    1. Position the glass.
      1. Using suction cups, place the glass in the correct position.
      2. Check that the entire contact surface of the glass rim is perfectly even.
      3. Place matchmarks on the glass and vehicle body on the locations indicated in the illustration.

        HINT: 

        • Placing matchmarks is only necessary when installing new glass. If it is the reused glass, matchmarks should already be present.
        • When reusing the glass, check and correct the matchmark positions.
        NOTE:

        Check that the stoppers are attached to the vehicle body correctly.

      4. Using suction cups, remove the glass.
    2. Using a brush, apply Primer M to the exposed part of the vehicle body.
      Fig 10: Applying Primer M To Exposed Part Of Vehicle Body
      GTY141421Courtesy of © TOYOTA, LICENSE AGREEMENT TMS1002
      NOTE:
      • Allow the primer to dry for 3 minutes or more.
      • Do not apply primer to the adhesive.
      • Throw away any leftover primer.
      • Do not apply too much primer.
    3. Using a brush or sponge, apply Primer G to the contact surface of the glass.
      Fig 11: Identifying Adhesive Center Line
      GTY134598Courtesy of © TOYOTA, LICENSE AGREEMENT TMS1002

      Specification

      Area Measurement
      a 6.5 mm (0.258 in.)
      b 7.0 mm (0.276 in.)
      c 3.0 mm (0.118 in.)
      d 4.0 mm (0.157 in.)
      e 8.0 mm (0.315 in.)

      HINT: 

      If the primer is applied to an area that is not specified, apply non-residue solvent to a clean cloth and wipe off the excess primer before it dries.

      NOTE:
      • Allow the primer to dry for 3 minutes or more.
      • Throw away any leftover primer.
      • Do not apply too much primer.
    4. Apply adhesive to the glass.

      Adhesive

      Toyota Genuine Windshield Glass Adhesive or equivalent

      1. Cut off the tip of the cartridge nozzle as shown in the illustration.

        HINT: 

        After cutting off the tip, use all adhesive within the time written in the table below.

        Usage timeframe

        Temperature Usage Timeframe
        35°C (95°F) 15 minutes
        20°C (68°F) 1 hour 40 minutes
        5°C (41°F) 8 hours
      2. Load the sealer gun with the cartridge.
      3. Apply adhesive to the glass as shown in the illustration.
        Fig 12: Applying Adhesive To Glass
        GTY117429Courtesy of © TOYOTA, LICENSE AGREEMENT TMS1002

        Specification

        Area Measurement
        a 12.0 mm (0.472 in.)
        b 8.0 mm (0.315 in.)
        c 6.5 mm (0.258 in.)
        d 3.0 mm (0.118 in.)
    5. Fig 13: Aligning Matchmarks To Position Glass
      GTY123589Courtesy of © TOYOTA, LICENSE AGREEMENT TMS1002
    6. Install the glass to the vehicle body.
      1. Using suction cups, position the glass so that the matchmarks are aligned. Press it in gently along the rim.
      2. Lightly press the outer surface of the glass to ensure that it is securely fit to the vehicle body.
        NOTE:
        • Check that the stoppers are attached to the vehicle body correctly.
        • Check that the vehicle body and glass have a small gap between them.
      3. Hold the glass in place securely with protective tape or equivalent until the adhesive hardens.
        NOTE:

        Do not drive the vehicle for the amount of time written in the table below.

        Minimum time

        Temperature Minimum time prior to driving vehicle
        35°C (95°F) 1 hour 30 minutes
        20°C (68°F) 5 hours
        5°C (41°F) 24 hours
    7. w/ Windshield Deicer System:

      Connect the windshield deicer connector.

  8. CHECK FOR WATER LEAKS 
    1. Conduct a leak test after the adhesive has completely hardened.
    2. Seal any leaks with auto glass sealer.
  9. INSTALL ROOF HEADLINING ASSEMBLY 
    1. Return the roof headlining to its original position.

      For Standard Body, refer to the following procedures. Refer to INSTALLATION .

      For Long Body, refer to the following procedures. Refer to INSTALLATION .

  10. INSTALL RAIN SENSOR TAPE  . Refer to INSTALLATION - Step 1
  11. INSTALL RAIN SENSOR  . Refer to INSTALLATION - Step 2
  12. INSTALL INNER REAR VIEW MIRROR ASSEMBLY (w/ Automatic High Beam System)  . Refer to INSTALLATION - Step 1
  13. INSTALL INNER REAR VIEW MIRROR ASSEMBLY (w/o Automatic High Beam System)  . Refer to INSTALLATION - Step 2
  14. INSTALL RAIN SENSOR COVER (w/o Lane Keeping Assist System)  . Refer to INSTALLATION - Step 3
  15. INSTALL RAIN SENSOR COVER (w/ Lane Keeping Assist System)  . Refer to INSTALLATION - Step 4
  16. INSTALL MAP LIGHT ASSEMBLY  . Refer to INSTALLATION - Step 20
  17. INSTALL ASSIST GRIP SUB-ASSEMBLY  . Refer to INSTALLATION - Step 14
  18. INSTALL VISOR HOLDER  . Refer to INSTALLATION - Step 10
  19. INSTALL VISOR ASSEMBLY LH  . Refer to INSTALLATION - Step 11
  20. INSTALL VISOR ASSEMBLY RH  . Refer to INSTALLATION - Step 12
  21. INSTALL VISOR BRACKET COVER  . Refer to INSTALLATION - Step 13
  22. INSTALL FRONT PILLAR GARNISH LH  . Refer to INSTALLATION - Step 33
  23. INSTALL FRONT PILLAR GARNISH RH  . Refer to INSTALLATION - Step 34
  24. INSTALL NO. 1 ROOF DRIP SIDE FINISH MOLDING CLIP  . Refer to INSTALLATION - Step 1
  25. INSTALL NO. 3 WINDSHIELD OUTSIDE MOLDING CLIP  . Refer to INSTALLATION - Step 2
  26. INSTALL NO. 2 ROOF DRIP SIDE FINISH MOLDING CLIP  . Refer to INSTALLATION - Step 3
  27. INSTALL NO. 2 WINDSHIELD OUTSIDE MOLDING CLIP  . Refer to INSTALLATION - Step 4
  28. INSTALL NO. 1 WINDSHIELD OUTSIDE MOLDING CLIP 

    HINT: 

    Use the same procedure described for the No. 2 windshield outside molding clip.

  29. INSTALL CENTER ROOF DRIP SIDE FINISH MOLDING LH  . Refer to INSTALLATION - Step 5
  30. INSTALL CENTER ROOF DRIP SIDE FINISH MOLDING RH 

    HINT: 

    Use the same procedure described for the LH side.

  31. INSTALL COWL TOP VENTILATOR LOUVER SUB-ASSEMBLY  . Refer to INSTALLATION - Step 4
  32. INSTALL COWL TOP VENTILATOR LOUVER PROTECTOR LH  . Refer to INSTALLATION - Step 5
  33. INSTALL HOOD TO COWL TOP SEAL  . Refer to INSTALLATION - Step 8
  34. INSTALL FRONT FENDER TO COWL SIDE SEAL LH  . Refer to INSTALLATION - Step 9
  35. INSTALL FRONT FENDER TO COWL SIDE SEAL RH  . Refer to INSTALLATION - Step 7
  36. INSTALL FRONT WIPER ARM LH  . Refer to INSTALLATION - Step 13
  37. INSTALL FRONT WIPER ARM RH  . Refer to INSTALLATION - Step 14
  38. CONNECT CABLE TO NEGATIVE BATTERY TERMINAL 
    NOTE:

    When disconnecting the cable, some systems need to be initialized after the cable is reconnected. Refer to INITIALIZATION .

  39. INSTALL COWL TOP VENTILATOR LOUVER RH  . Refer to INSTALLATION - Step 16