LEMON Manuals: Even more car manuals for everyone: 1960-2025
Home >> Lexus >> 2010 >> LS 460 RWD >> Repair and Diagnosis >> Engine Performance >> Remove, Overhaul & Install >> Engine Control System (Service Information) >> Knock Sensor >> Inspection >> Inspection
April 5, 2026: LEMON Manuals is launched! Read the announcement.

Knock Sensor: Inspection: Inspection

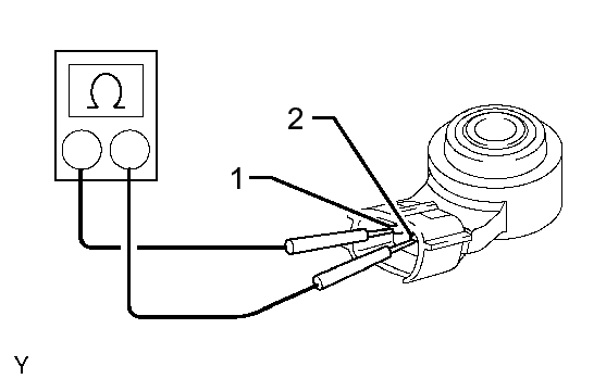
  1. INSPECT KNOCK SENSOR 
    Fig 1: Inspecting Knock Sensor
    GTY287276Courtesy of © TOYOTA, LICENSE AGREEMENT TMS1002
    1. Measure the resistance according to the value(s) in the table below.

      Standard resistance

      Tester Connection Condition Specified Condition
      1 - 2 20°C (68°F) 120 to 280 kΩ

      If the result is not as specified, replace the knock sensor.