LEMON Manuals: Even more car manuals for everyone: 1960-2025
Home >> Lexus >> 2010 >> RX 350 AWD >> Repair and Diagnosis >> External Pages >> Different car >> Section 249 (Smart Access System With Push-Button Start (For Start Function) (Diagnostic Codes & Symptom Tests)) >> SMART ACCESS SYSTEM WITH PUSH-BUTTON START (for Start Function) >> DTC B2271: Ignition Hold Monitor Malfunction >> Procedure
April 5, 2026: LEMON Manuals is launched! Read the announcement.

DTC B2271: Ignition Hold Monitor Malfunction: Procedure

WARNING: This page is about a different car, the 2011 Lexus RX 350. However, it is still accessible from the selected car via links, so may be relevant.
  1. CHECK HARNESS AND CONNECTOR (BATTERY - POWER MANAGEMENT CONTROL ECU) 
    1. Disconnect the F8 connector from the power management control ECU.
      Fig 1: F8 Connector
      GTY348252Courtesy of © TOYOTA, LICENSE AGREEMENT TMS1002
    2. Measure the voltage according to the value(s) in the table below.

      Standard Voltage

      Tester Connection Condition Specified Condition
      F8-1 (AM22) - Body ground Always 9.5 to 16 V
      F8-2 (AM21) - Body ground Always 9.5 to 16 V
      TEXT IN ILLUSTRATION

      *1 Front view of wire harness connector
      (to Power Management Control ECU)

    NG → REPAIR OR REPLACE HARNESS OR CONNECTOR (BATTERY - POWER MANAGEMENT CONTROL ECU) 

    OK: Go to next step 

  2. CHECK HARNESS AND CONNECTOR (POWER MANAGEMENT CONTROL ECU - BODY GROUND) 
    1. Disconnect the F8 connector from the power management control ECU.
      Fig 2: F8 Connector
      GTY348255Courtesy of © TOYOTA, LICENSE AGREEMENT TMS1002
    2. Measure the resistance according to the value(s) in the table below.

      Standard Resistance

      Tester Connection Condition Specified Condition
      F8-5 (GND2) - Body ground Always Below 1 Ω
      F8-6 (GND) - Body ground Always Below 1 Ω
      TEXT IN ILLUSTRATION

      *1 Front view of wire harness connector
      (to Power Management Control ECU)

    NG → REPAIR OR REPLACE HARNESS OR CONNECTOR (POWER MANAGEMENT CONTROL ECU - BODY GROUND) 

    OK: Go to next step 

  3. INSPECT IG1 RELAY 
    1. Remove the IG1 relay from the engine room relay block assembly.
      Fig 3: Identifying Relay Test Terminals
      GTY100961Courtesy of © TOYOTA, LICENSE AGREEMENT TMS1002
    2. Measure the resistance according to the value(s) in the table below.

      Standard Resistance

      Tester Connection Condition Specified Condition
      1 - 2 Always 130 to 230 Ω
      3 - 5 When battery voltage is not applied to terminals 1 and 2 10 kΩ or higher
      3 - 5 When battery voltage is applied to terminals 1 and 2 Below 1 Ω

    NG → REPLACE IG1 RELAY 

    OK: Go to next step 

  4. INSPECT IG2 RELAY 
    1. Remove the IG2 relay from the engine room relay block assembly.
      Fig 4: Identifying Relay Test Terminals
      GTY100961Courtesy of © TOYOTA, LICENSE AGREEMENT TMS1002
    2. Measure the resistance according to the value(s) in the table below.

      Standard Resistance

      Tester Connection Condition Specified Condition
      1 - 2 Always 130 to 230 Ω
      3 - 5 When battery voltage is not applied to terminals 1 and 2 10 kΩ or higher
      3 - 5 When battery voltage is applied to terminals 1 and 2 Below 1 Ω

    NG → REPLACE IG2 RELAY 

    OK: Go to next step 

  5. INSPECT INSTRUMENT PANEL JUNCTION BLOCK ASSEMBLY (IG NO. 1, IG NO. 2 AND IG NO. 3 RELAY) 
    1. Remove the instrument panel junction block assembly. Refer to REMOVAL - Step 2 .
      Fig 5: 2A Connector
      GTY351675Courtesy of © TOYOTA, LICENSE AGREEMENT TMS1002
    2. Measure the resistance according to the value(s) in the table below.

      Standard Resistance

      Tester Connection Condition Specified Condition
      2A-20 - 2A-3 20°C 54.32 to 79.32 Ω
      TEXT IN ILLUSTRATION

      *1 Component without harness connected
      (Instrument Panel Junction Block Assembly)

    NG → See step   12 

    OK: Go to next step 

  6. CHECK HARNESS AND CONNECTOR 
    1. Measure the resistance according to the value(s) in the table below.
      Fig 6: F8 & 2A Connector
      GTY351373Courtesy of © TOYOTA, LICENSE AGREEMENT TMS1002

      Standard Resistance

      Tester Connection Condition Specified Condition
      F8-20 (IG1D) - 2A-20 Always Below 1 Ω
      F8-20 (IG1D) - Body ground Always 10 kΩ or higher
      TEXT IN ILLUSTRATION

      *1 Front view of wire harness connector
      (to Power Management Control ECU)
      *2 Front view of wire harness connector
      (to Instrument Panel Junction Block Assembly)

    NG → REPAIR OR REPLACE HARNESS OR CONNECTOR 

    OK: Go to next step 

  7. CHECK HARNESS AND CONNECTOR (INSTRUMENT PANEL JUNCTION BLOCK ASSEMBLY - BODY GROUND) 
    1. Measure the resistance according to the value(s) in the table below.
      Fig 7: 2A Connector
      GTY349377Courtesy of © TOYOTA, LICENSE AGREEMENT TMS1002

      Standard Resistance

      Tester Connection Condition Specified Condition
      2A-3 - Body ground Always Below 1 Ω
      TEXT IN ILLUSTRATION

      *1 Front view of wire harness connector
      (to Instrument Panel Junction Block Assembly)

    NG → REPAIR OR REPLACE HARNESS OR CONNECTOR (INSTRUMENT PANEL JUNCTION BLOCK ASSEMBLY - BODY GROUND) 

    OK: Go to next step 

  8. CHECK HARNESS AND CONNECTOR (INSTRUMENT PANEL JUNCTION BLOCK ASSEMBLY - IG1 RELAY) 
    1. Measure the resistance according to the value(s) in the table below.
      Fig 8: 2F Connector, Engine Room Relay Block Assembly & IG1 Relay Terminal
      GTY350084Courtesy of © TOYOTA, LICENSE AGREEMENT TMS1002

      Standard Resistance

      Tester Connection Condition Specified Condition
      2F-14 - Engine room relay block IG1 relay terminal 2 Always Below 1 Ω
      2F-14 - Body ground Always 10 kΩ or higher
      TEXT IN ILLUSTRATION

      *1 Front view of wire harness connector
      (to Instrument Panel Junction Block Assembly)
      *2 Component without relay connected
      (Engine Room Relay Block Assembly)
      *3 IG1 Relay Terminal

    NG → REPAIR OR REPLACE HARNESS OR CONNECTOR (INSTRUMENT PANEL JUNCTION BLOCK ASSEMBLY - IG1 RELAY) 

    OK: Go to next step 

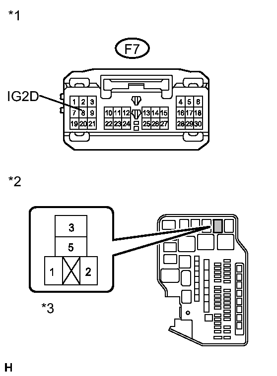
  9. CHECK HARNESS AND CONNECTOR (POWER MANAGEMENT CONTROL ECU - IG2 RELAY) 
    1. Disconnect the F7 connector.
      Fig 9: F7 Connector
      GTY350797Courtesy of © TOYOTA, LICENSE AGREEMENT TMS1002
    2. Measure the resistance according to the value(s) in the table below.

      Standard Resistance

      Tester Connection Condition Specified Condition
      F7-8 (IG2D) - Engine room relay block IG2 relay terminal 2 Always Below 1 Ω
      F7-8 (IG2D) - Body ground Always 10 kΩ or higher
      TEXT IN ILLUSTRATION

      *1 Front view of wire harness connector
      (to Power Management Control ECU)
      *2 Component without relay connected
      (Engine Room Relay Block Assembly)
      *3 IG2 Relay Terminal

    NG → REPAIR OR REPLACE HARNESS OR CONNECTOR (POWER MANAGEMENT CONTROL ECU - IG2 RELAY) 

    OK: Go to next step 

  10. CHECK HARNESS AND CONNECTOR (ENGINE ROOM RELAY BLOCK ASSEMBLY - BODY GROUND) 
    1. Measure the resistance according to the value(s) in the table below.
      Fig 10: Engine Room Relay Block Assembly, IG2 Relay Terminal & IG1 Relay Terminal
      GTY348571Courtesy of © TOYOTA, LICENSE AGREEMENT TMS1002

      Standard Resistance

      Tester Connection Condition Specified Condition
      Engine room relay block IG1 relay terminal 1 - Body ground Always Below 1 Ω
      Engine room relay block IG2 relay terminal 1 - Body ground Always Below 1 Ω
      TEXT IN ILLUSTRATION

      *1 Component without harness connected
      (Engine Room Relay Block Assembly)
      *2 IG2 Relay Terminal
      *3 IG1 Relay Terminal

    NG → REPAIR OR REPLACE HARNESS OR CONNECTOR (ENGINE ROOM RELAY BLOCK ASSEMBLY - BODY GROUND) 

    OK: Go to next step 

  11. CHECK POWER MANAGEMENT CONTROL ECU 
    1. Install the instrument panel junction block assembly. Refer to INSTALLATION - Step 4 .
      Fig 11: F7 And F8 Connectors
      GTY348821Courtesy of © TOYOTA, LICENSE AGREEMENT TMS1002
    2. Reconnect the F7 and F8 connectors.
    3. Measure the voltage according to the value(s) in the table below.

      Standard Voltage

      Tester Connection Condition Specified Condition
      F7-8 (IG2D) - Body ground Engine switch on (IG) Output voltage at terminal AM21 or AM22 -2.5 V or more
      F8-20 (IG1D) - Body ground Engine switch on (IG) Output voltage at terminal AM21 or AM22 -2.5 V or more
      TEXT IN ILLUSTRATION

      *1 Component with harness connected
      (Power Management Control ECU)

    NG → See step   13 

    OK → See step   14 

  12. REPLACE INSTRUMENT PANEL JUNCTION BLOCK ASSEMBLY. Refer to  REMOVAL - Step 2 
  13. REPLACE POWER MANAGEMENT CONTROL ECU. Refer to  REMOVAL 
  14. USE SIMULATION METHOD TO CHECK. Refer to  HOW TO PROCEED WITH TROUBLESHOOTING