LEMON Manuals: Even more car manuals for everyone: 1960-2025
Home >> Lexus >> 2010 >> RX 350 AWD >> Repair and Diagnosis >> External Pages >> Different car >> Section 249 (Smart Access System With Push-Button Start (For Start Function) (Diagnostic Codes & Symptom Tests)) >> SMART ACCESS SYSTEM WITH PUSH-BUTTON START (for Start Function) >> Symptom Tests >> Engine does not Start >> Description
April 5, 2026: LEMON Manuals is launched! Read the announcement.

Engine does not Start: Description

WARNING: This page is about a different car, the 2011 Lexus RX 350. However, it is still accessible from the selected car via links, so may be relevant.
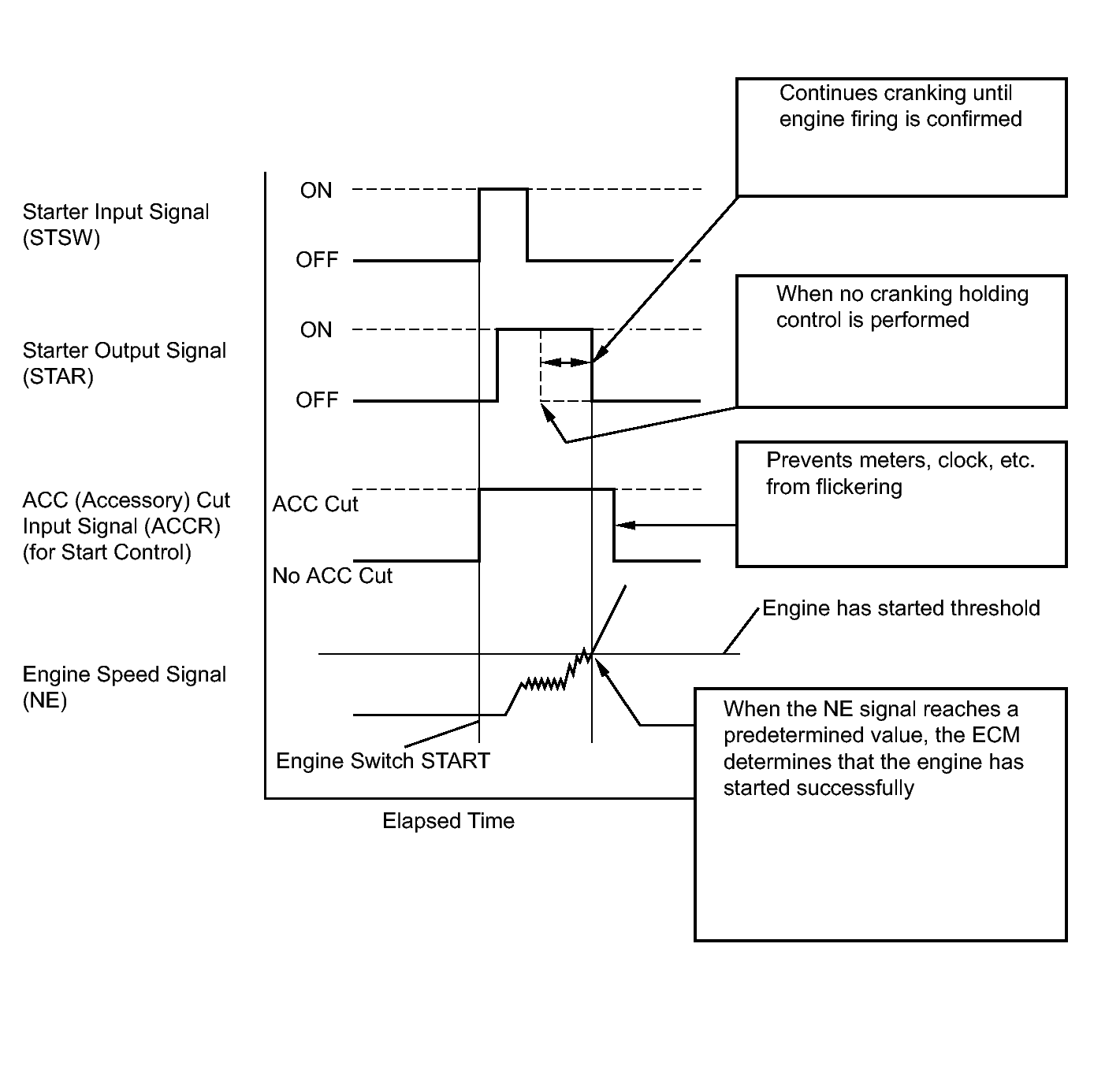
  1. ENGINE START SYSTEM FUNCTION 
    1. If the engine switch is pressed with the shift lever in P or N and the brake pedal depressed, the power management control ECU determines that this is an engine start request.
    2. The certification ECU (smart key ECU assembly) and other ECUs perform key verification via LIN communication.
    3. The power management control ECU activates the ACC relay.
    4. The power management control ECU activates the IG1 NO. 1, IG1 NO. 2, IG1 NO. 3, ACC1, ACC2, IG1 and IG2 relays.
    5. The certification ECU (smart key ECU assembly) outputs a steering UNLOCK signal. The signal is sent to the power management control ECU via the steering lock ECU.
    6. The power management control ECU activates the starter relay.

      HINT: 

      When the power management ECU operates the starter relay, it performs cranking holding control.

    7. The power management control ECU deactivates the ACC relay until the power management control ECU detects an engine start.

      HINT: 

      Whether the engine has started is judged based on the engine speed signals sent from the ECM.

      Fig 1: Starter Signal Graph
      GTY250860Courtesy of © TOYOTA, LICENSE AGREEMENT TMS1002