LEMON Manuals: Even more car manuals for everyone: 1960-2025
Home >> Lexus >> 2010 >> SC 430 >> Repair and Diagnosis >> Engine Performance >> System >> Engine Control System (Diagnostic Codes (P0351-U0101) & Circuit Tests) >> SFI System >> DTC P0420: Catalyst System Efficiency Below Threshold (Bank 1); DTC P0430: Catalyst System Efficiency Below Threshold (Bank 2) >> Wiring Diagram
April 5, 2026: LEMON Manuals is launched! Read the announcement.

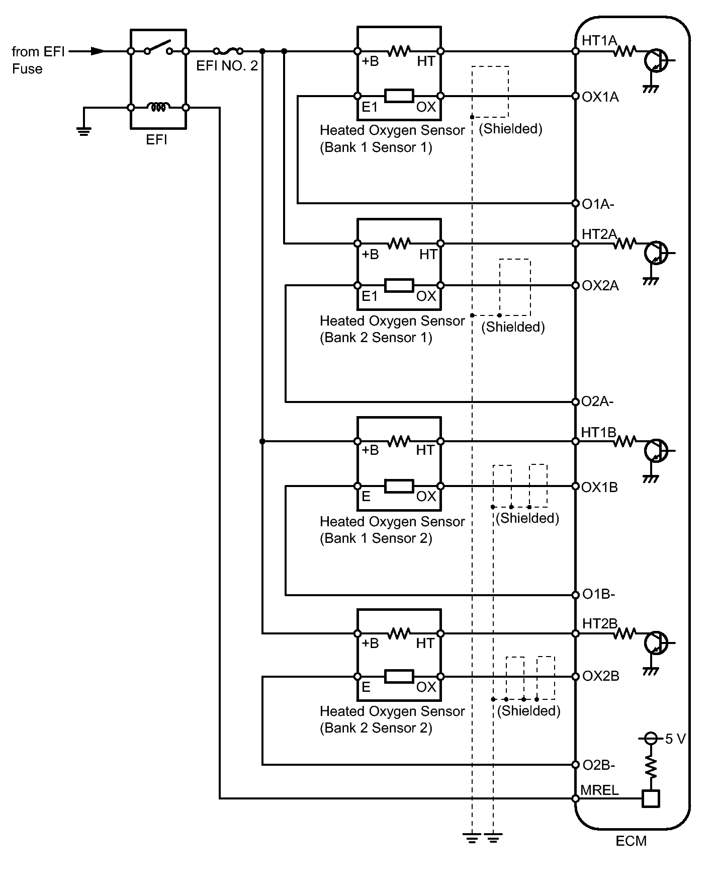
DTC P0420: Catalyst System Efficiency Below Threshold (Bank 1); DTC P0430: Catalyst System Efficiency Below Threshold (Bank 2): Wiring Diagram

Fig 1: Heated Oxygen Sensor Wiring Diagram
GTY267766Courtesy of © TOYOTA, LICENSE AGREEMENT TMS1002