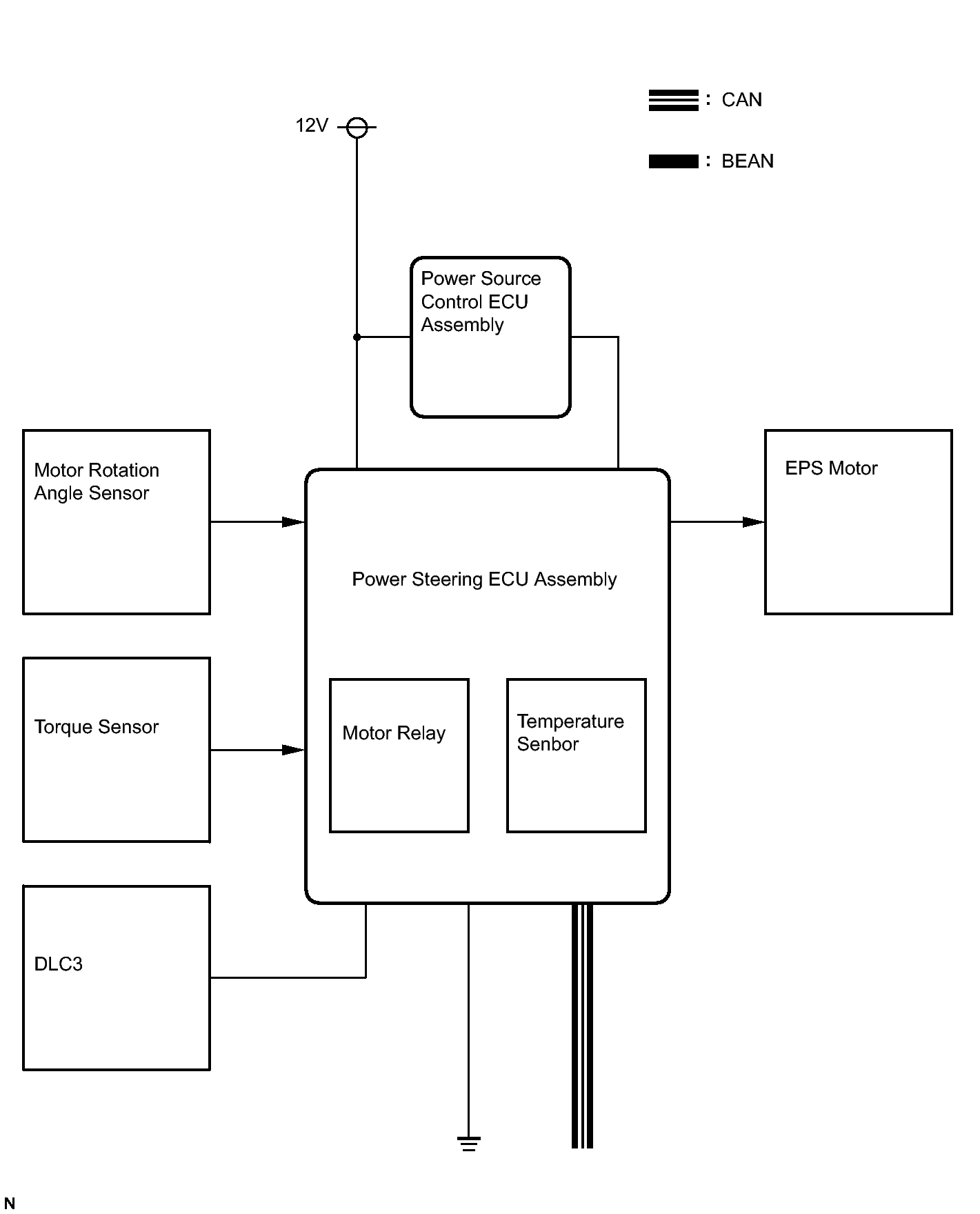
System Diagram
| Transmitting ECU (transmitter) |
Receiving ECU | Signals | Communication method |
|---|---|---|---|
| ECM | Power Steering ECU Assembly | T/M variation information signal | CAN |
| ECM | Power Steering ECU Assembly | Engine speed signal | CAN |
| ECM | Power Steering ECU Assembly | Ambient temperature signal | CAN |
| ECM | Power Steering ECU Assembly | Intake air temperature signal | CAN |
| ECM | Power Steering ECU Assembly | Engine variation information signal | CAN |
| ECM | Power Steering ECU Assembly | Vehicle destination information signal | CAN |
| Skid Control ECU | Power Steering ECU Assembly | Output command value (to EPS) signal | CAN |
| Skid Control ECU | Power Steering ECU Assembly | Additional torque target signal | CAN |
| Skid Control ECU | Power Steering ECU Assembly | Vehicle speed (SP1) status signal | CAN |
| Skid Control ECU | Power Steering ECU Assembly | Target steering angle and additional torque valid signal | CAN |
| Skid Control ECU | Power Steering ECU Assembly | Vehicle speed (SP1) signal | CAN |
| Skid Control ECU | Power Steering ECU Assembly | Test mode signal | CAN |
| Skid Control ECU | Power Steering ECU Assembly | VSC controlling signal | CAN |
| Skid Control ECU | Power Steering ECU Assembly | ABS controlling signal | CAN |
| Steering Angle Sensor | Power Steering ECU Assembly | Data continuity (valid/invalid) signal | CAN |
| Steering Angle Sensor | Power Steering ECU Assembly | +B open circuit signal | CAN |
| Steering Angle Sensor | Power Steering ECU Assembly | Sensor malfunction signal | CAN |
| Steering Angle Sensor | Power Steering ECU Assembly | Steering angle signal | CAN |
| Steering Angle Sensor | Power Steering ECU Assembly | Zero point memory (in sensor) valid/invalid signal | CAN |
| Steering Angle Sensor | Power Steering ECU Assembly | Zero point (stored in steering angle sensor) signal | CAN |
| Cowl Side J/B RH ECU (Body ECU) |
Power Steering ECU Assembly | Vehicle model signal | BEAN, CAN |
| Power Steering ECU Assembly | Skid Control ECU | EPS pinion angle invalid signal | CAN |
| Power Steering ECU Assembly | Skid Control ECU | EPS assisting current invalid signal | CAN |
| Power Steering ECU Assembly | Skid Control ECU | EPS torque sensor value invalid signal | CAN |
| Power Steering ECU Assembly | ECM | EPS idle up request signal | CAN |
| Power Steering ECU Assembly | Skid Control ECU | EPS torque sensor value signal | CAN |
| Power Steering ECU Assembly | Skid Control ECU | EPS pinion angle signal | CAN |
| Power Steering ECU Assembly | Skid Control ECU | EPS assisting current signal | CAN |
| Power Steering ECU Assembly | Combination Meter | EPS light ON request signal | BEAN, CAN |
| Power Steering ECU Assembly | Combination Meter | EPS diagnostic information signal | BEAN, CAN |
1UR-FSE:
| Transmitting ECU (transmitter) |
Receiving ECU | Signals | Communication method |
|---|---|---|---|
| Absorber Control ECU | Power Steering ECU Assembly | Damping force control mode signal (normal mode or sports mode) | CAN |
| Skid Control ECU | Power Steering ECU Assembly | Target steering angle signal | CAN |
| Skid Control ECU | Power Steering ECU Assembly | VDIM control permit status signal | CAN |
| Skid Control ECU | Power Steering ECU Assembly | Target relative angle 2 signal | CAN |
| Skid Control ECU | Power Steering ECU Assembly | Target momentary gear ratio signal | CAN |
| Skid Control ECU | Power Steering ECU Assembly | Automatic reverse steering controlling signal | CAN |
| Skid Control ECU | Power Steering ECU Assembly | Reverse steering controlling signal (*1) | CAN |
| Skid Control ECU | Power Steering ECU Assembly | Momentary gear ratio controlling signal | CAN |
| Skid Control ECU | Power Steering ECU Assembly | Braking force moment signal | CAN |
| Steering Control ECU | Power Steering ECU Assembly | VGRS fail signal | CAN |
| Steering Control ECU | Power Steering ECU Assembly | VGRS cooperative control permit signal | CAN |
| Steering Control ECU | Power Steering ECU Assembly | VGRS data output response signal | CAN |
| Steering Control ECU | Power Steering ECU Assembly | VGRS relative angle signal | CAN |
| Steering Control ECU | Power Steering ECU Assembly | VGRS relative angular velocity signal | CAN |
| Steering Control ECU | Power Steering ECU Assembly | VGRS relative angle invalid signal | CAN |
| Steering Control ECU | Power Steering ECU Assembly | VGRS target turning angle sensor signal | CAN |
| Steering Control ECU | Power Steering ECU Assembly | VGRS communication distinction information signal | CAN |
| Steering Control ECU | Power Steering ECU Assembly | VGRS warning light signal | CAN |
| Power Steering ECU Assembly | Skid control ECU Steering Control ECU |
EPS cooperative control permit signal | CAN |
| Power Steering ECU Assembly | Skid control ECU | VGRS detection signal | CAN |
| Power Steering ECU Assembly | ECM | VGRS detection signal | CAN |
| Power Steering ECU Assembly | Skid control ECU Absorber Control ECU |
EPS pinion angle invalid signal | CAN |
| Power Steering ECU Assembly | Skid control ECU Absorber Control ECU |
EPS assisting current invalid signal | CAN |
| Power Steering ECU Assembly | Skid control ECU Absorber Control ECU |
EPS torque sensor value invalid signal | CAN |
| Power Steering ECU Assembly | Skid control ECU Absorber Control ECU |
EPS torque sensor signal | CAN |
| Power Steering ECU Assembly | Skid control ECU Absorber Control ECU |
EPS pinion angle signal | CAN |
| Power Steering ECU Assembly | Steering Control ECU | EPS assisting current signal | CAN |
*1: Transmitted when the vehicle detects different levels of friction between the tires and road surface due to road conditions.