LEMON Manuals: Even more car manuals for everyone: 1960-2025
Home >> Lexus >> 2011 >> GX 460 >> Repair and Diagnosis (Single Page) >> Body & Frame >> Windows >> Power Window Control System (Diagnostics - Introduction) >> Power Window Control System >> System Diagram >> System Diagram
April 5, 2026: LEMON Manuals is launched! Read the announcement.

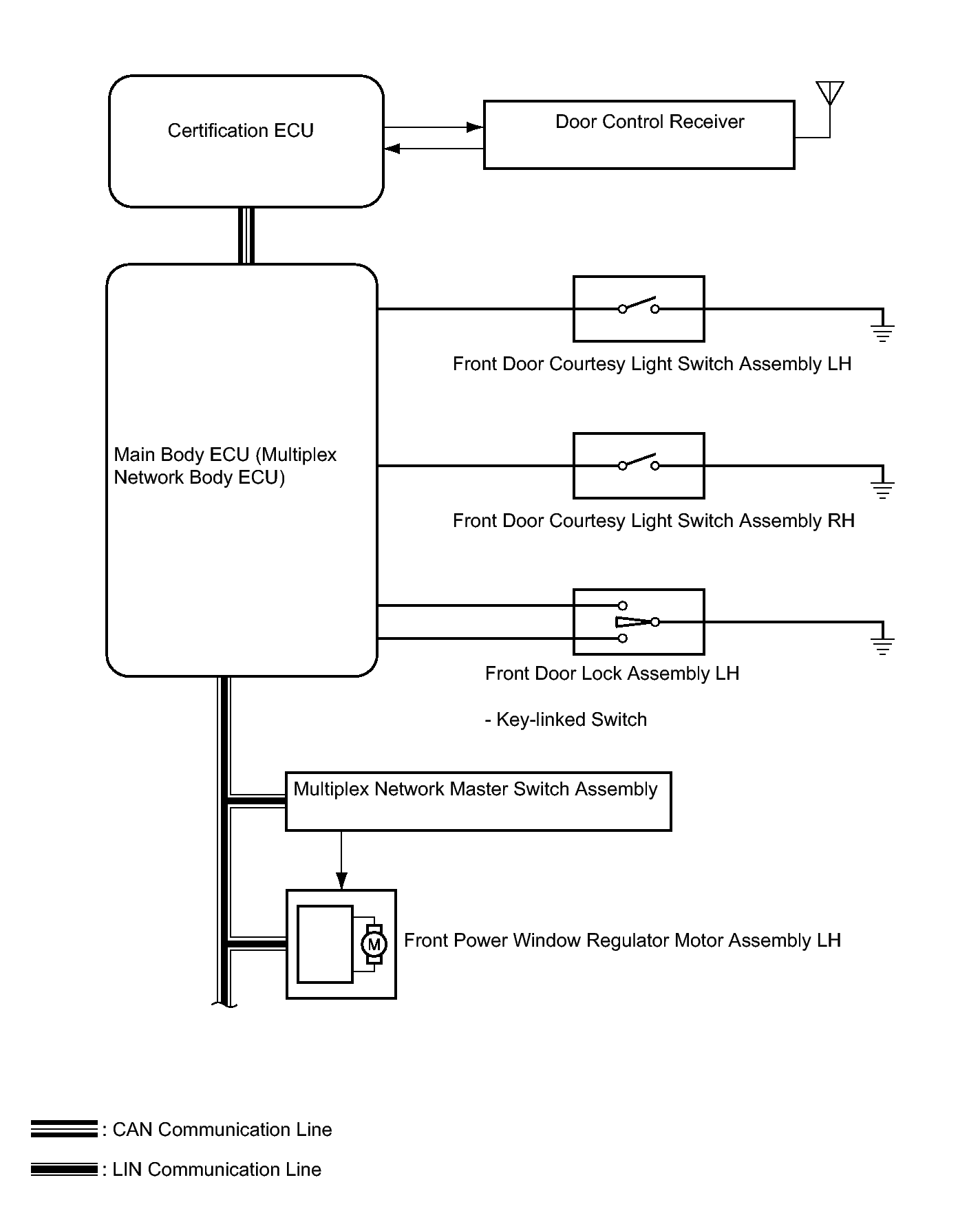
System Diagram

Fig 1: Identifying Power Window Control System Diagram (1 Of 2)
GTY273791Courtesy of © TOYOTA, LICENSE AGREEMENT TMS1002
Fig 2: Identifying Power Window Control System Diagram (2 Of 2)
GTY275643Courtesy of © TOYOTA, LICENSE AGREEMENT TMS1002
COMMUNICATION TABLE

Transmitting ECU Receiving ECU Signal Communication Method
Multiplex network master switch assembly Front power window regulator motor assembly LH Power window auto up and down signal LIN
  • Power window regulator motor assembly RH
  • Power window regulator motor assembly LH
  • Rear power window regulator motor assembly LH
  • Rear power window regulator motor assembly RH
Power window remote up and down signal LIN
Main body ECU (Multiplex network body ECU)
  • Front Power window regulator motor assembly LH
  • Front Power window regulator motor assembly RH
  • Rear power window regulator motor assembly LH
  • Rear power window regulator motor assembly RH
Power window operation permission signal LIN
Certification ECU Main body ECU (Multiplex network body ECU) Wireless power window up and down signal CAN