LEMON Manuals: Even more car manuals for everyone: 1960-2025
Home >> Lexus >> 2011 >> GX 460 >> Repair and Diagnosis >> Engine Performance >> Engine Control Systems >> Engine Control System (Service Information) >> Camshaft Oil Control Valve >> Inspection >> Inspection
April 5, 2026: LEMON Manuals is launched! Read the announcement.

Camshaft Oil Control Valve: Inspection: Inspection

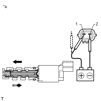
  1. INSPECT CAMSHAFT TIMING OIL CONTROL VALVE ASSEMBLY 
    1. Measure the resistance according to the value(s) in the table below.

      Standard Resistance

      Tester Connection Condition Specified Condition
      1 - 2 20°C (68°F) 6.9 to 7.9 Ω

      If the result is not as specified, replace the camshaft timing oil control valve assembly.

    2. Connect the positive (+) lead of the battery to terminal 1 and the negative (-) lead to terminal 2 and check the movement of the valve.
      Fig 1: Identifying Camshaft Timing Oil Control Valve Connector Terminals & Operation
      GTY254030Courtesy of © TOYOTA, LICENSE AGREEMENT TMS1002

      OK

      Condition Specified Condition
      Battery positive (+) voltage is applied Valve moves in left arrow direction shown in the illustration
      Battery positive (+) voltage is cut off Valve moves in right arrow direction shown in the illustration
      TEXT IN ILLUSTRATION

      *a Component without harness connected
      (Camshaft Timing Oil Control Valve)

      If the result is not as specified, replace the camshaft timing oil control valve assembly. If the valve cannot return properly because of foreign matter, a small pressure leak in the advanced direction may occur and a DTC may be stored.