LEMON Manuals: Even more car manuals for everyone: 1960-2025
Home >> Lexus >> 2011 >> HS 250h L4-2.4L (2AZ-FXE) Hybrid >> Repair and Diagnosis >> Powertrain Management >> Computers and Control Systems >> Relays and Modules - Computers and Control Systems >> Main Relay (Computer/Fuel System) >> Locations
April 5, 2026: LEMON Manuals is launched! Read the announcement.

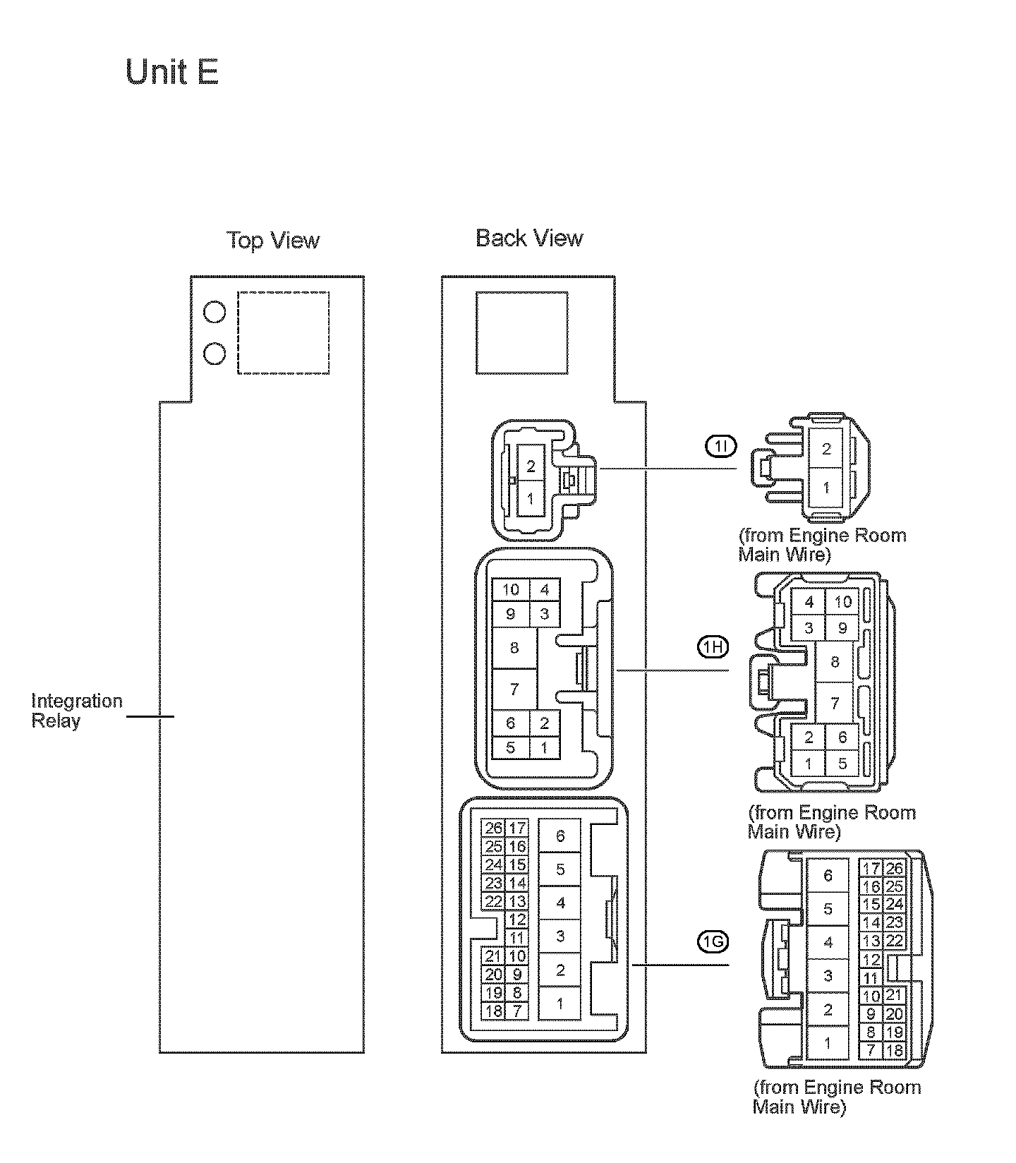
Main Relay (Computer/Fuel System): Locations





2AZ-FXE ENGINE CONTROL: SFI SYSTEM: PARTS LOCATION





Instrument Panel:





Engine Room R/B, Engine Room J/B - Engine Compartment Left:





Engine Room R/B, Engine Room J/B - Engine Compartment Left: