LEMON Manuals: Even more car manuals for everyone: 1960-2025
Home >> Lexus >> 2011 >> HS 250h >> Repair and Diagnosis >> Steering >> Manual Steering >> Power Steering System (Diagnostics - Introduction) >> Power Steering System >> System Diagram >> System Diagram
April 5, 2026: LEMON Manuals is launched! Read the announcement.

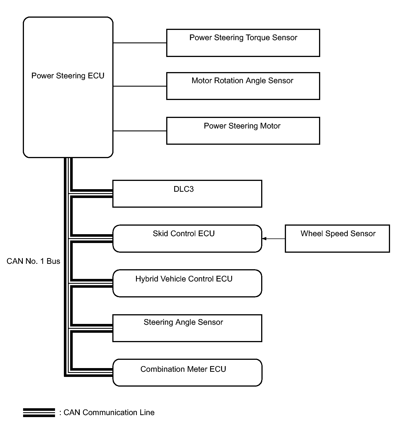
System Diagram

Fig 1: Identifying Power Steering System Diagram
GTY262959Courtesy of © TOYOTA, LICENSE AGREEMENT TMS1002