LEMON Manuals: Even more car manuals for everyone: 1960-2025
Home >> Lexus >> 2011 >> IS 250 AWD V6-2.5L (4GR-FSE) >> Repair and Diagnosis >> Powertrain Management >> Computers and Control Systems >> Information Bus >> Locations >> CAN Communication System
April 5, 2026: LEMON Manuals is launched! Read the announcement.

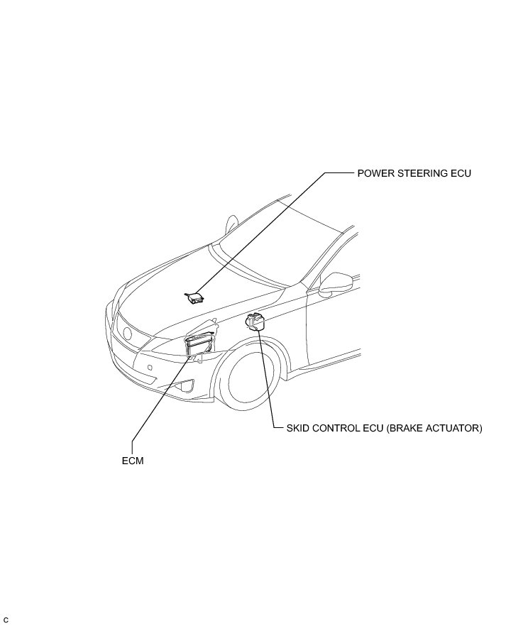
CAN Communication System





CAN COMMUNICATION: CAN COMMUNICATION SYSTEM: PARTS LOCATION