LEMON Manuals: Even more car manuals for everyone: 1960-2025
Home >> Lexus >> 2011 >> IS 250 Base, RWD, Automatic >> Repair and Diagnosis >> Accessories & Equipment >> Cruise Control Systems >> Cruise Control System (Diagnostics - Introduction) >> Cruise Control System >> System Diagram >> System Diagram
April 5, 2026: LEMON Manuals is launched! Read the announcement.

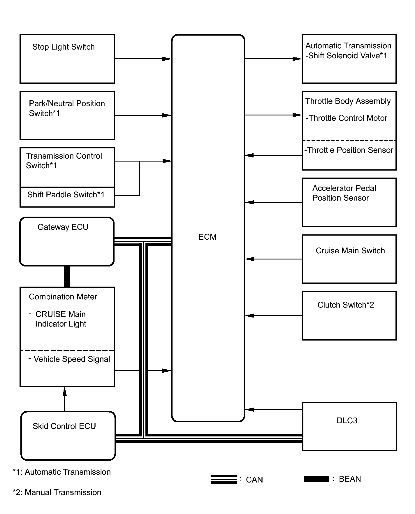
System Diagram

Fig 1: Identifying Cruise Control System Op[eration Diagram
GTY351497Courtesy of © TOYOTA, LICENSE AGREEMENT TMS1002
COMMUNICATION TABLE

Sender Receiver Signal Line
ECM Combination Meter ECU CRUISE main indicator operation signal BEAN - CAN
(Instrument Panel Bus)