LEMON Manuals: Even more car manuals for everyone: 1960-2025
Home >> Lexus >> 2011 >> IS 250C Automatic >> Repair and Diagnosis >> Engine Performance >> System >> Engine Control System (4GR-FSE) (Diagnostic Codes & Circuit Tests) >> SFI System >> Circuit Tests >> EVAP System >> Procedure
April 5, 2026: LEMON Manuals is launched! Read the announcement.

EVAP System: Procedure

  1. CONFIRM DTC 
    1. Turn the engine switch off and wait for 10 seconds.
    2. Turn the engine switch on (IG).
    3. Turn the engine switch off and wait for 10 seconds.
    4. Connect the Techstream to the DLC3.
    5. Turn the engine switch on (IG).
    6. Turn the Techstream on.
    7. Enter the following menus: Powertrain / Engine / Trouble Codes.
    8. Confirm DTCs and freeze frame data.

      If any EVAP system DTCs are set, the malfunctioning area can be determined using the following table.

      NOTE:

      If the reference pressure difference between the first and second checks is greater than the specification, all the DTCs relating to the reference pressure (P043E, P043F, P2401, P2402 and P2419) are stored.

      Fig 1: DTC Malfunctioning Areas Chart
      GTY249521Courtesy of © TOYOTA, LICENSE AGREEMENT TMS1002

    NEXT: Go to next step 

  2. PERFORM EVAPORATIVE SYSTEM CHECK (AUTOMATIC MODE) 
    NOTE:
    • In the Evaporative System Check (Automatic Mode), a series of consists of 5 steps are performed automatically by the Techstream. It takes a maximum of approximately 18 minutes.
    • Do not perform the Evaporative System Check when the fuel tank is more than 90% full because the cut-off valve may be closed, making the fuel tank leak check unavailable.
    • Do not run the engine during this operation.
    • When the temperature of the fuel is 35°C (95°F) or more, a large amount of vapor forms and any check results become inaccurate. When performing the Evaporative System Check, keep the fuel temperature below 35°C (95°F).
    1. Connect the Techstream to the DLC3.
    2. Turn the engine switch on (IG).
    3. Turn the Techstream on.
    4. Clear the DTCs. Refer to DTC CHECK / CLEAR .
    5. Enter the following menus: Powertrain / Engine / Utility / Evaporative System Check / Automatic Mode.
    6. After the Evaporative system check is completed, check for pending DTCs by entering the following menus: Powertrain / Engine / Trouble Codes.

      HINT: 

      If no pending DTCs are displayed, perform the Monitor Confirmation (see "Diagnostic Help" menu). After this confirmation, check for pending DTCs. If no DTCs are displayed, the EVAP system is normal.

    NEXT: Go to next step 

  3. PERFORM EVAPORATIVE SYSTEM CHECK (MANUAL MODE) 
    Fig 2: Identifying EVAP System Check (Manual Mode) Graph
    GTY175378Courtesy of © TOYOTA, LICENSE AGREEMENT TMS1002
    NOTE:
    • In the Evaporative System Check (Manual Mode), perform the series of 5 Evaporative System Check steps manually using the Techstream.
    • Do not perform the Evaporative System Check when the fuel tank is more than 90% full because the cut-off valve may be closed, making the fuel tank leak check unavailable.
    • Do not run the engine during this operation.
    • When the temperature of the fuel is 35°C (95°F) or more, a large amount of vapor forms and any check results become inaccurate. When performing the Evaporative System Check, keep the fuel temperature below 35°C (95°F).
    1. Connect the Techstream to the DLC3.
    2. Turn the engine switch on (IG).
    3. Turn the Techstream on.
    4. Clear the DTCs. Refer to DTC CHECK / CLEAR .
    5. Enter the following menus: Powertrain / Engine / Utility / Evaporative System Check / Manual Mode.

    NEXT: Go to next step 

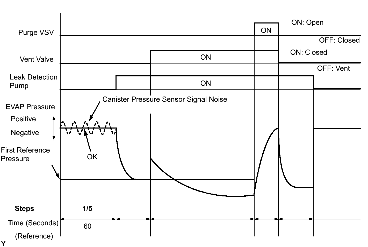
  4. PERFORM EVAPORATIVE SYSTEM CHECK (STEP 1/5) 
    Fig 3: Identifying Evaporative System Check (Step 1/5) Graph
    GTY282653Courtesy of © TOYOTA, LICENSE AGREEMENT TMS1002
    1. Check the EVAP pressure in step 1/5.

      Result

      DTC* Test Result Suspected Trouble Area Proceed to
      - Virtually no variation in EVAP pressure Not yet determined A
      P0451 EVAP pressure fluctuates by +/- 0.3 kPa (2.25 mmHg) or more Canister pressure sensor signal noise B

      *: These DTCs are already present in the ECM when the vehicle arrives and are confirmed in the "Confirm DTC" procedures above.

    B → See step   29 

    A: Go to next step 

  5. PERFORM EVAPORATIVE SYSTEM CHECK (STEP 1/5 TO 2/5) 
    Fig 4: Identifying Evaporative System Check (Step 1/5 To 2/5) Graph
    GTY270510Courtesy of © TOYOTA, LICENSE AGREEMENT TMS1002
    1. Check the EVAP pressure in steps 1/5 and 2/5.

      Result

      DTC* Test Result Suspected Trouble Area Proceed to
      - Virtually no variation in EVAP pressure during step 1/5. Then decreases to reference pressure Not yet determined A
      P2402 Small difference between EVAP pressures during steps 1/5 and 2/5 Leak detection pump stuck ON B

      *: These DTCs are already present in the ECM when the vehicle arrives and are confirmed in the "Confirm DTC" procedures above.

      HINT: 

      The first reference pressure is the value determined in step 2/5.

    B → See step   22 

    A: Go to next step 

  6. PERFORM EVAPORATIVE SYSTEM CHECK (STEP 2/5) 
    Fig 5: View Of Performing Evaporative System Check (Step 2/5)
    GTY272759Courtesy of © TOYOTA, LICENSE AGREEMENT TMS1002

    HINT: 

    Make a note of the pressures checked in steps (a) and (b) below.

    • (a) Check the EVAP pressure 4 seconds after the leak detection pump is activated*.

      *: The leak detection pump begins to operate as step 1/5 finishes and step 2/5 starts.

    • (b) Check the EVAP pressure again when it has stabilized. This pressure is the reference pressure.

      Result

      DTC* Test Result Suspected Trouble Area Proceed to
      - EVAP pressure in step (b) is between -4.85 kPa and -1.057 kPa (-36.4 mmHg and -7.93 mmHg) Not yet determined A
      P043F and P2401 EVAP pressure in step (b) is -1.057 kPa (-7.93 mmHg) or more
      • Reference orifice high-flow
      • Leak detection pump stuck OFF
      B
      P043E EVAP pressure in step (b) is below -4.85 kPa (-36.4 mmHg) Reference orifice clogged C
      P2419 EVAP pressure in step (a) is more than -1.057 kPa (-7.93 mmHg) Vent valve stuck closed D

      *: These DTCs are already present in the ECM when the vehicle arrives and are confirmed in the "Confirm DTC" procedures above.

    B → See step   11 

    C → See step   29 

    D → See step   20 

    A: Go to next step 

  7. PERFORM EVAPORATIVE SYSTEM CHECK (STEP 2/5 TO 3/5) 
    Fig 6: View Of Performing Evaporative System Check (Step 2/5 To 3/5)
    GTY260637Courtesy of © TOYOTA, LICENSE AGREEMENT TMS1002
    1. Check the EVAP pressure in step 3/5.

      Result

      DTC* Test Result Suspected Trouble Area Proceed to
      - EVAP pressure increases by 0.3 kPa (2.25 mmHg) or more within 10 seconds of proceeding from step 2/5 to step 3/5 Not yet determined A
      P2420 No variation in EVAP pressure despite proceeding from step 2/5 to step 3/5 Vent valve stuck open (vent) B
      P0451 No variation in EVAP pressure during steps 1/5 through 3/5 Canister pressure sensor output value stuck C

      *: These DTCs are already present in the ECM when the vehicle arrives and are confirmed in the step 1 "Confirm DTC".

    B → See step   19 

    C → See step   29 

    A: Go to next step 

  8. PERFORM EVAPORATIVE SYSTEM CHECK (STEP 3/5) 
    Fig 7: View Of Performing Evaporative System Check (Step 3/5)
    GTY268477Courtesy of © TOYOTA, LICENSE AGREEMENT TMS1002
    1. Wait until the EVAP pressure change is less than 0.1 kPa (0.75 mmHg) for 30 seconds.
    2. Measure the EVAP pressure and record it.

      HINT: 

      A few minutes are required for the EVAP pressure to become saturated. When there is only a small amount of fuel in the fuel tank, it takes up to 15 minutes.

    NEXT: Go to next step 

  9. PERFORM EVAPORATIVE SYSTEM CHECK (STEP 4/5) 
    Fig 8: EVAP System Chart - STEP 4/5
    GTY251076Courtesy of © TOYOTA, LICENSE AGREEMENT TMS1002
    1. Check the EVAP pressure in step 4/5.

      Result

      DTC* Test Result Suspected Trouble Area Proceed to
      - EVAP pressure increases by 0.3 kPa (2.25 mmHg) or more within 10 seconds of proceeding from step 3/5 to step 4/5 Not yet determined A
      P0441 EVAP pressure increases by 0.3 kPa (2.25 mmHg) or more within 10 seconds of proceeding from step 3/5 to step 4/5 Problems in EVAP hose between purge VSV and intake manifold B
      P0441 Variation in EVAP pressure is less than 0.3 kPa (2.25 mmHg) for 10 seconds after proceeding from step 3/5 to step 4/5 Purge VSV stuck closed C

      *: These DTCs are already present in the ECM when the vehicle arrives and are confirmed in the step 1 "Confirm DTC".

    B → See step   15 

    C → See step   12 

    A: Go to next step 

  10. PERFORM EVAPORATIVE SYSTEM CHECK (STEP 5/5) 
    Fig 9: EVAP System Check Diagram -- Leak Detection
    GTY287947Courtesy of © TOYOTA, LICENSE AGREEMENT TMS1002
    1. Check the EVAP pressure in step 5/5.
    2. Compare the EVAP pressure in step 3/5 and the second reference pressure (step 5/5).

      Result

      DTC* Test Result Suspected Trouble Area Proceed to
      - EVAP pressure from step 3/5 is lower than second reference pressure (step 5/5) Not yet determined (no leakage from EVAP system) A
      P0441 and P0455 EVAP pressure from step 3/5 is higher than [second reference pressure (step 5/5) x 0.2]
      • Purge VSV stuck open
      • EVAP gross leak
      B
      P0456 EVAP pressure from step 3/5 is higher than second reference pressure (step 5/5) EVAP small leak B

      *: These DTCs are already present in the ECM when the vehicle arrives and are confirmed in the step 1 "Confirm DTC".

    A → See step   35 

    B → See step   12 

  11. PERFORM EVAPORATIVE SYSTEM CHECK (STEP 3/5) 
    Fig 10: View Of Performing Evaporative System Check (Step 3/5)
    GTY279862Courtesy of © TOYOTA, LICENSE AGREEMENT TMS1002
    1. Check the EVAP pressure in step 3/5.

      Result

      DTC* Test Result Suspected Trouble Area Proceed to
      P043F EVAP pressure is less than [reference pressure] measured in step 2/5 Reference orifice high-flow A
      P2401 EVAP pressure is almost the same as [reference pressure] measured in step 2/5 Leak detection pump stuck off B

      *: These DTCs are already present in the ECM when the vehicle arrives and are confirmed in the step 1 "Confirm DTC".

      HINT: 

      The first reference pressure is the value determined in step 2/5.

    A → See step   29 

    B → See step   22 

  12. PERFORM ACTIVE TEST USING TECHSTREAM (PURGE VSV) 
    Fig 11: Identifying Hose & Canister
    GTY280379Courtesy of © TOYOTA, LICENSE AGREEMENT TMS1002
    1. Enter the following menus: Powertrain / Engine / Active Test / Activate the VSV for EVAP Control.
    2. Disconnect the hose (connected to the canister) from the purge VSV.
      TEXT IN ILLUSTRATION

      *1 Purge VSV
      *2 Hose (to Canister)
    3. Start the engine.
    4. Using the Techstream, turn off the purge VSV (Activate the VSV for EVAP Control: OFF).
    5. Use your finger to confirm that the purge VSV has no suction.
    6. Using the Techstream, turn on the purge VSV (Activate the VSV for EVAP Control: ON).
    7. Use your finger to confirm that the purge VSV has suction.

      Result

      Test Result Suspected Trouble Area Proceed to
      No suction when purge VSV turned off, and suction applied when turned on Purge VSV normal A
      Suction applied when purge VSV turned off Purge VSV stuck open B
      No suction when purge VSV turned on
      • Purge VSV stuck closed
      • Problems with EVAP hose between purge VSV and intake manifold
      C
    8. Reconnect the hose.

    B → See step   14 

    C → See step   15 

    A: Go to next step 

  13. CHECK FUEL CAP 
    1. Check that the fuel cap is correctly installed and confirm that the fuel cap meets OEM specifications.
    2. Tighten the fuel cap until a few click sounds are heard.

      HINT: 

      If an EVAP tester is available, check the fuel cap using the Techstream.

      1. Remove the fuel cap and install it onto a fuel cap adapter.
      2. Connect an EVAP tester pump hose to the adapter, and pressurize the cap to 3.2 to 3.7 kPa (24 to 28 mmHg) using the EVAP tester pump.
      3. Seal the adapter and wait for 2 minutes.
      4. Check the pressure. If the pressure is 2 kPa-g (15 mmHg-g) or more, the fuel cap is normal.

      Result

      Test Result Suspected Trouble Area Proceed to
      Fuel cap correctly installed - A
      Fuel cap loose
      • Fuel cap improperly installed
      • Defective fuel cap
      • Fuel cap does not meet OEM specifications
      B
      No fuel cap - C
    3. Reinstall the fuel cap.

    A → See step   28 

    B → See step   26 

    C → See step   27 

  14. INSPECT PURGE VSV 
    Fig 12: Identifying Purge VSV
    GTY279577Courtesy of © TOYOTA, LICENSE AGREEMENT TMS1002
    1. Turn the engine switch off.
    2. Disconnect the purge VSV connector.
      TEXT IN ILLUSTRATION

      *1 Hose (to Canister)
      *2 Connector
      *3 Purge VSV
    3. Disconnect the hose (connected to the canister) from the purge VSV.
    4. Start the engine.
    5. Use your finger to confirm that the purge VSV has no suction.

      Result

      Test Result Suspected Trouble Area Proceed to
      No suction ECM A
      Suction applied Purge VSV B
    6. Reconnect the purge VSV connector.
    7. Reconnect the hose.

    A → See step   34 

    B → See step   30 

  15. CHECK EVAP HOSE (PURGE VSV - INTAKE AIR SURGE TANK ASSEMBLY) 
    Fig 13: Disconnecting Hose (Connected To Throttle Body) From EVAP VSV
    GTY287993Courtesy of © TOYOTA, LICENSE AGREEMENT TMS1002
    1. Disconnect the hose (connected to the intake air surge tank assembly) from the purge VSV.
      TEXT IN ILLUSTRATION

      *1 Purge VSV
      *2 Hose (to Intake Air Surge Tank Assembly)
    2. Start the engine.
    3. Use your finger to confirm that the hose has suction.

      Result

      Test Result Suspected Trouble Area Proceed to
      Suction applied EVAP hose between purge VSV and intake air surge tank assembly normal A
      No suction
      • Intake manifold port
      • EVAP hose between purge VSV and intake air surge tank assembly
      B
    4. Reconnect the hose.

    B → See step   25 

    A: Go to next step 

  16. INSPECT PURGE VSV 
    Fig 14: View Of Purge VSV And Air Flow
    GTY250826Courtesy of © TOYOTA, LICENSE AGREEMENT TMS1002
    1. Remove the purge VSV.
    2. Apply battery voltage to the terminals of the purge VSV.
      TEXT IN ILLUSTRATION

      *1 Purge VSV
    3. Using an air gun, confirm that air flows from port A to port B.

      Result

      Test Result Condition Suspected Trouble Area Proceed to
      Air flows Battery voltage is applied to purge VSV terminals Purge VSV normal A
      No air flow Battery voltage is applied to purge VSV terminals Purge VSV B
    4. Install the purge VSV.

    B → See step   30 

    A: Go to next step 

  17. CHECK HARNESS AND CONNECTOR (POWER SOURCE OF PURGE VSV) 
    Fig 15: Purge VSV Connector
    GTY349220Courtesy of © TOYOTA, LICENSE AGREEMENT TMS1002
    1. Disconnect the purge VSV connector.
    2. Turn the engine switch on (IG).
    3. Measure the voltage according to the value(s) in the table below.
      TEXT IN ILLUSTRATION

      *a Front view of wire harness connector
      (to Purge VSV)

      Result

      Tester Connection Switch Condition Specified Condition Suspected Trouble Area Proceed to
      E15-1 - Body ground Engine switch on (IG) 11 to 14 V Normal A
      Other than result above Wire harness or connectors between purge VSV and ECM B
    4. Reconnect the purge VSV connector.

    B → See step   31 

    A: Go to next step 

  18. CHECK HARNESS AND CONNECTOR (PURGE VSV - ECM) 
    1. Disconnect the ECM connector.
    2. Disconnect the purge VSV connector.
    3. Measure the resistance according to the value(s) in the table below.

      Standard Resistance (Check for Open)

      Tester Connection Condition Specified Condition
      E15-2 - E3-11 (PRG) Always Below 1 Ω

      Standard Resistance (Check for Short)

      Tester Connection Condition Specified Condition
      E15-2 or E3-11 (PRG) - Body ground Always 10 kΩ or higher
    4. Reconnect the purge VSV connector.
    5. Reconnect the ECM connector.

    OK → See step   34 

    NG → See step   31 

  19. INSPECT CANISTER PUMP MODULE (POWER SOURCE FOR VENT VALVE) 
    1. Disconnect the canister pump module connector.
      Fig 16: Canister Pump Module Connector
      GTY357792Courtesy of © TOYOTA, LICENSE AGREEMENT TMS1002
    2. Turn the engine switch on (IG).
    3. Measure the voltage according to the value(s) in the table below.

      Result

      Tester Connection Switch Condition Specified Condition Suspected Trouble Area Proceed to
      Q49-9 - Body ground Engine switch on (IG) 11 to 14 V
      1. Wire harness between vent valve and ECM
      2. Vent valve
      3. ECM
      A
      Below 3 V Power source wire harness of vent valve B
      TEXT IN ILLUSTRATION

      *a Front view of wire harness connector
      (to Canister Pump Module)
      - -
    4. Reconnect the canister pump module connector.

    B → See step   31 

    A: Go to next step 

  20. INSPECT CANISTER PUMP MODULE (VENT VALVE OPERATION) 
    Fig 17: Canister Pump Module Connector
    GTY348523Courtesy of © TOYOTA, LICENSE AGREEMENT TMS1002
    1. Disconnect the canister pump module connector.
    2. Apply battery voltage to terminals 8 and 9 terminals of the canister pump module.
    3. Touch the canister pump module to confirm the vent valve operation.
      TEXT IN ILLUSTRATION

      *a Component without harness connected
      (Canister Pump Module)

      Result

      Condition Test Result Suspected Trouble Area Proceed to
      Apply battery voltage to terminals 9 and 8 Operating 1. Wire harness between vent valve and ECM
      2. ECM
      A
      Not operating Vent valve B
    4. Reconnect the canister pump module connector.

    B → See step   29 

    A: Go to next step 

  21. CHECK HARNESS AND CONNECTOR (ECM - CANISTER PUMP MODULE) 
    1. Disconnect the ECM connector.
    2. Disconnect the canister pump module connector.
    3. Measure the resistance according to the value(s) in the table below.

      Result

      Tester Connection Condition Test Result Suspected Trouble Area Proceed to
      A6-12 (VPMP) - Q49-8 Always Below 1 Ω ECM A
      10 kΩ or higher Wire harness between ECM and canister pump module B
    4. Reconnect the ECM connector.
    5. Reconnect the canister pump module connector.

    A → See step   34 

    B → See step   31 

  22. PERFORM ACTIVE TEST USING TECHSTREAM (ACTIVATE THE VACUUM PUMP) 
    1. Turn the engine switch off.
      Fig 18: Canister Pump Module Connector
      GTY357792Courtesy of © TOYOTA, LICENSE AGREEMENT TMS1002
    2. Disconnect the canister pump module connector.
    3. Turn the engine switch on (IG).
    4. Enter the following menus: Powertrain / Engine / Active Test / Activate the Vacuum Pump.
    5. Measure the voltage according to the value(s) in the table below.

      Result

      Tester Connection Condition Test Result Suspected Trouble Area Proceed to
      Q49-1 - Body ground Leak detection pump on and off
      (Active Test ON and OFF)
      Below 3 V when OFF
      11 to 14 V when ON
      1. Wire harness between leak detection pump and body ground
      2. Leak detection pump
      A
      Below 3 V when OFF and ON
      1. Wire harness between leak detection pump and ECM
      2. ECM
      B
      11 to 14 V when OFF and ON ECM C
      TEXT IN ILLUSTRATION

      *a Front view of wire harness connector
      (to Canister Pump Module)
      - -
    6. Reconnect the canister pump module connector.

    B → See step   24 

    C → See step   34 

    A: Go to next step 

  23. CHECK HARNESS AND CONNECTOR (CANISTER PUMP MODULE - BODY GROUND) 
    1. Disconnect the canister pump module connector.
    2. Measure the resistance according to the value(s) in the table below.

      Result

      Tester Connection Condition Specified Condition Suspected Trouble Area Proceed to
      Q49-6 - Body ground Always Below 1 Ω Leak detection pump A
      10 kΩ or higher Wire harness between canister pump module and body ground B
    3. Reconnect the canister pump module connector.

    A → See step   29 

    B → See step   31 

  24. CHECK HARNESS AND CONNECTOR (ECM - CANISTER PUMP MODULE) 
    1. Disconnect the canister pump module connector.
    2. Disconnect the ECM connector.
    3. Measure the resistance according to the value(s) in the table below.

      Result

      Tester Connection Condition Test Result Suspected Trouble Area Proceed to
      A6-5 (MPMP) - Q49-1 Always Below 1 Ω ECM A
      10 kΩ or higher Wire harness between ECM and canister pump module B
    4. Reconnect the canister pump module connector.
    5. Reconnect the ECM connector.

    A → See step   34 

    B → See step   31 

  25. INSPECT INTAKE AIR SURGE TANK ASSEMBLY (EVAP PURGE PORT) 
    1. Disconnect the EVAP hose from the intake air surge tank assembly.
    2. Start the engine.
    3. Use your finger to confirm that the port of the intake air surge tank assembly has suction.

      Result

      Test Result Suspected Trouble Area Proceed to
      Suction applied EVAP hose between intake air surge tank assembly and purge VSV A
      No suction Intake air surge tank assembly B
    4. Reconnect the EVAP hose.

    A → See step   32 

    B → See step   33 

  26. CORRECTLY REINSTALL OR REPLACE FUEL CAP 

    HINT: 

    • When reinstalling the fuel cap, tighten it until a few click sounds are heard.
    • When replacing the fuel cap, use a fuel cap that meets OEM specifications, and install it until a few click sounds are heard.

    NEXT → See step   36 

  27. REPLACE FUEL CAP 

    HINT: 

    When installing the fuel cap, tighten it until a few click sounds are heard.

    NEXT → See step   36 

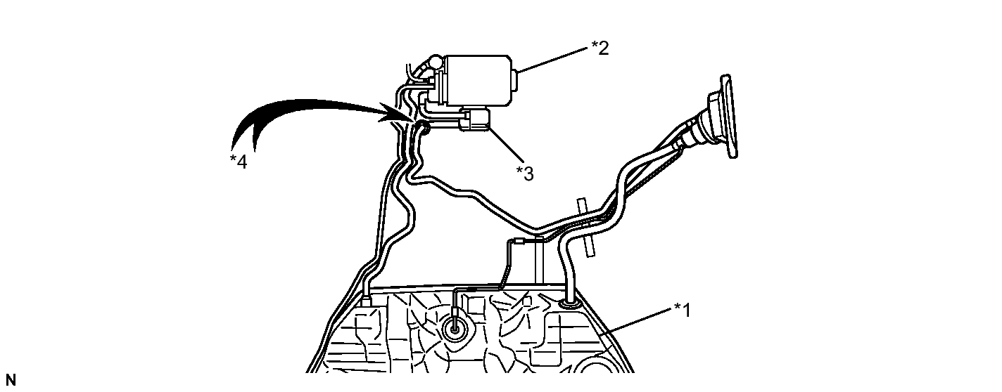
  28. LOCATE EVAP LEAK PART 
    1. Disconnect the vent hose.
      Fig 19: Identifying EVAP Leak Part
      GTY273703Courtesy of © TOYOTA, LICENSE AGREEMENT TMS1002
      TEXT IN ILLUSTRATION

      *1 Fuel Tank *2 Canister
      *3 Air Filter *4 Disconnect the vent hose here
    2. Connect the EVAP pressure tester tool to the canister pump module with the adapter.
      Fig 20: Connecting EVAP Pressure Tester Tool To Canister Pump Module
      GTY251354Courtesy of © TOYOTA, LICENSE AGREEMENT TMS1002
      TEXT IN ILLUSTRATION

      *1 Canister Pump Module *2 Adapter
      *3 EVAP Pressure Tester Tool - -
    3. Pressurize the EVAP system to 3.2 to 3.7 kPa (24 to 28 mmHg).
    4. Apply soapy water to the piping and connecting parts of the EVAP system.
    5. Look for areas where bubbles appear. This indicates the leak point.
    6. Repair or replace the leak point.

      HINT: 

      Disconnect the hose between the canister and fuel tank from the canister. Block the charcoal canister assembly side and conduct an inspection. In this way, the fuel tank can be excluded as an area suspected of causing fuel leaks.

    NEXT → See step   36 

  29. REPLACE CANISTER 
    1. Replace the canister assembly. Refer to REMOVAL .
      NOTE:

      When replacing the canister, check the canister pump module interior and related pipes for water, fuel and other liquids. If liquids are present, check for disconnections and/or cracks in the following: 1) the pipe from the air inlet port to the canister pump module; 2) the canister filter; and 3) the fuel tank vent hose.

      Fig 21: Identifying Canister
      GTY284093Courtesy of © TOYOTA, LICENSE AGREEMENT TMS1002
      TEXT IN ILLUSTRATION

      *1 Fuel Tank Vent Hose *2 Vent Hose
      *3 Air Inlet Port *4 Inspection Area
      (check for disconnection and/or cracks)
      *5 Canister Filter *6 Fuel Tank

    NEXT → See step   36 

  30. REPLACE PURGE VSV 
    1. Replace the purge VSV. Refer to REMOVAL .

    NEXT → See step   36 

  31. REPAIR OR REPLACE HARNESS OR CONNECTOR 

    NEXT → See step   36 

  32. REPLACE EVAP HOSE (INTAKE AIR SURGE TANK ASSEMBLY - PURGE VSV) 

    NEXT → See step   36 

  33. INSPECT INTAKE AIR SURGE TANK ASSEMBLY (EVAP PURGE PORT) 
    1. Check that the EVAP purge port of the intake air surge tank assembly is not clogged. If necessary, replace the intake air surge tank assembly.

    NEXT → See step   36 

  34. REPLACE ECM 
    1. Replace the ECM. Refer to REMOVAL .

    NEXT → See step   36 

  35. REPAIR OR REPLACE PARTS AND COMPONENTS INDICATED BY OUTPUT DTCS 
    1. Repair the malfunctioning areas indicated by the DTCs that had been confirmed when the vehicle was brought in.

    NEXT: Go to next step 

  36. PERFORM EVAP SYSTEM CHECK (AUTOMATIC MODE) 
    NOTE:
    • In the Evaporative System Check (Automatic Mode), a series of consists of 5 steps are performed automatically by the Techstream. It takes a maximum of approximately 18 minutes.
    • Do not perform the Evaporative System Check when the fuel tank is more than 90% full because the cut-off valve may be closed, making the fuel tank leak check unavailable.
    • Do not run the engine in this step.
    • When the temperature of the fuel is 35°C (95°F) or more, a large amount of vapor forms and any check results become inaccurate. When performing an Evaporative System Check, keep the fuel temperature below 35°C (95°F).
    1. Connect the Techstream to the DLC3.
    2. Turn the engine switch on (IG).
    3. Turn the Techstream on.
    4. Clear the DTCs. Refer to DTC CHECK / CLEAR .
    5. Enter the following menus: Powertrain / Engine / Utility / Evaporative System Check / Automatic Mode.
    6. After the Evaporative System Check is completed, check for pending DTCs by entering the following menus: Powertrain / Engine / Trouble Codes / Pending.

      HINT: 

      If no pending DTCs are found, the repair has been successfully completed.

    NEXT → COMPLETED