LEMON Manuals: Even more car manuals for everyone: 1960-2025
Home >> Lexus >> 2011 >> IS 350 Base, RWD >> Repair and Diagnosis >> Engine Performance >> Fuel Delivery >> Fuel System (Service Information) >> Fuel Pump >> Installation >> Installation
April 5, 2026: LEMON Manuals is launched! Read the announcement.

Fuel Pump: Installation: Installation

  1. INSTALL FUEL PRESSURE REGULATOR ASSEMBLY 
    1. Apply a light coat of gasoline to 2 new O-rings, and install them to the fuel pressure regulator.
      Fig 1: Identifying Fuel Pressure Regulator O-Rings
      GTY145209Courtesy of © TOYOTA, LICENSE AGREEMENT TMS1002
    2. Install the fuel pressure regulator to the fuel relief valve.
      Fig 2: Installing Clip To Relief Valve
      GTY140139Courtesy of © TOYOTA, LICENSE AGREEMENT TMS1002
  2. INSTALL JET PUMP 
    1. Apply a light coat of gasoline to a new O-ring, and install the O-ring and jet pump to the fuel relief valve assembly.
      Fig 3: Installing O-Ring & Jet Pump To Fuel Relief Valve Assembly
      GTY145296Courtesy of © TOYOTA, LICENSE AGREEMENT TMS1002
  3. INSTALL FUEL RELIEF VALVE ASSEMBLY 
    1. Apply a light coat of gasoline to a new O-ring, and install the O-ring and fuel relief valve assembly to the fuel filter.
      Fig 4: Identifying Fuel Relief Valve O-Ring
      GTY128523Courtesy of © TOYOTA, LICENSE AGREEMENT TMS1002
  4. INSTALL FLANGE ASSEMBLY 
    1. Apply a light coat of gasoline to a new O-ring, and install the O-ring and flange assembly to the fuel filter.
      Fig 5: Identifying Flange Assembly O-Ring
      GTY131216Courtesy of © TOYOTA, LICENSE AGREEMENT TMS1002
  5. INSTALL FUEL PUMP 
    1. Install the fuel pump spacer to the fuel pump.
      Fig 6: Installing Fuel Pump To Fuel Filter
      GTY140628Courtesy of © TOYOTA, LICENSE AGREEMENT TMS1002
    2. Apply a light coat of gasoline to a new seal, and install it to the fuel pump.
    3. Install the fuel pump to the fuel filter.
    4. Connect the 2 connectors and terminal.
      Fig 7: Locating Connectors And Terminal
      GTY104469Courtesy of © TOYOTA, LICENSE AGREEMENT TMS1002
  6. INSTALL NO. 1 FUEL SUB-TANK 
    1. Apply a light coat of gasoline to a new O-ring, and install the O-ring and No. 1 fuel sub-tank to the fuel filter with flange assembly.
      Fig 8: Identifying No. 1 Fuel Sub-Tank O-Ring
      GTY141987Courtesy of © TOYOTA, LICENSE AGREEMENT TMS1002
    2. Connect the jet pump nozzle to the No. 1 fuel sub-tank.
      Fig 9: Connecting Jet Pump Nozzle To No 1 Fuel Subtank. O-Ring
      GTY145300Courtesy of © TOYOTA, LICENSE AGREEMENT TMS1002
    3. Install a new E-ring.
      Fig 10: Identifying E-Ring
      GTY125981Courtesy of © TOYOTA, LICENSE AGREEMENT TMS1002
  7. INSTALL FUEL SENDER GAUGE ASSEMBLY 
    1. Set the fuel sender gauge to the No. 1 fuel sub-tank. Then slide the sender gauge downward to install it.
      Fig 11: Installing Fuel Sender Gauge Assembly
      GTY145291Courtesy of © TOYOTA, LICENSE AGREEMENT TMS1002
    2. Connect the fuel sender gauge connector.
  8. INSTALL FUEL SUCTION WITH PUMP AND GAUGE TUBE ASSEMBLY 
    1. Install a new gasket onto the fuel tank.
    2. Connect the fuel hose with the clip.
      Fig 12: Identifying Fuel Suction Tube & Fuel Tank
      GTY145275Courtesy of © TOYOTA, LICENSE AGREEMENT TMS1002
    3. Set the fuel suction tube to the fuel tank.
      NOTE:
      • Make sure that the fuel sender gauge arm does not bend.
      • Do not damage the No. 2 fuel hose.
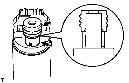
    4. Align the protrusion of the fuel suction tube and the cutout of the fuel tank vent tube set plate.
      Fig 13: Aligning Protrusion Of Fuel Suction Tube And Cutout Of Fuel Tank Vent Tube Set Plate
      GTY145273Courtesy of © TOYOTA, LICENSE AGREEMENT TMS1002
    5. While holding the fuel suction tube by hand, install the fuel tank vent tube to the fuel tank with the 8 bolts.

      Torque: 6.0 N.m (61 kgf cm, 53 in. lbf) 

    6. Connect the fuel tube.
      1. Push the fuel tube joint in the plug of the fuel suction plate, then install the 2 tube joint clips.
        Fig 14: Installing Fuel Tube Joint Clips
        GTY122124Courtesy of © TOYOTA, LICENSE AGREEMENT TMS1002
        NOTE:
        • Check that there are no scratches or foreign objects on the connecting parts.
        • Check that the fuel tube joint is inserted securely.
        • Check that the tube joint clips are on the collars of the fuel tube joints.
        • After installing the tube joint clips, check that the fuel tube joints have not been pulled off.
        • Be careful not to damage any clips. If a clip is damaged, replace it.
    7. Connect the fuel suction tube connector.
  9. CONNECT CABLE TO NEGATIVE BATTERY TERMINAL  . Refer to INSTALLATION - Step 92
  10. INSPECT FOR FUEL LEAK  . Refer to ON-VEHICLE INSPECTION - Step 1
  11. INSTALL NO. 2 REAR FLOOR SERVICE HOLE COVER 
    1. Install the No. 2 rear floor service hole cover with new butyl tape.
      Fig 15: Identifying Fuel Suction Tube Connector
      GTY145272Courtesy of © TOYOTA, LICENSE AGREEMENT TMS1002
  12. INSTALL REAR SEAT CUSHION ASSEMBLY  . Refer to INSTALLATION - Step 4