LEMON Manuals: Even more car manuals for everyone: 1960-2025
Home >> Lexus >> 2011 >> IS 350C >> Repair and Diagnosis >> External Pages >> Different car >> Section 157 (Lighting System (Service Information)) >> Height Control Sensor >> Inspection >> Inspection
April 5, 2026: LEMON Manuals is launched! Read the announcement.

Height Control Sensor: Inspection: Inspection

WARNING: This page is about a different car, the 2011 Lexus IS 350 and 2011 Lexus IS 250. However, it is still accessible from the selected car via links, so may be relevant.
  1. INSPECT FRONT HEIGHT CONTROL SENSOR SUB-ASSEMBLY LH 
    1. Connect 3 dry cell batteries (1.5 V) in series.
      Fig 1: Inspecting LH Front Height Control Sensor Sub-Assembly
      GTY349813Courtesy of © TOYOTA, LICENSE AGREEMENT TMS1002
    2. Connect the positive (+) lead from the battery to terminal 3 and the negative (-) lead from the battery to terminal 1.
    3. Measure the voltage between terminals 2 and 1 while slowly moving the link up and down.

      Standard voltage

      Tester Connection Condition Specified Condition
      A17-2 (SHFL) - A17-1 (SHG) +45° Approx. 4.05 V
      A17-2 (SHFL) - A17-1 (SHG) 0°(normal) Approx 2.25 V
      A17-2 (SHFL) - A17-1 (SHG) -45° Approx 0.45 V

      If the result is not as specified, replace the sensor.

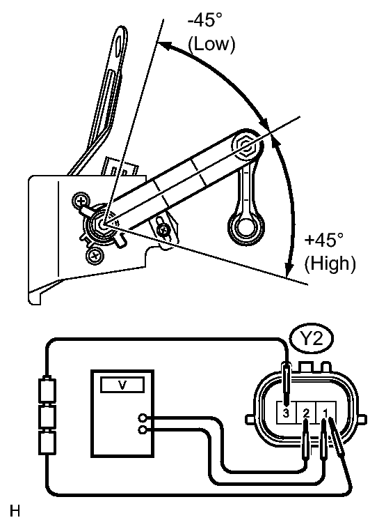
  2. INSPECT REAR HEIGHT CONTROL SENSOR SUB-ASSEMBLY LH 
    1. Connect 3 dry cell batteries (1.5 V) in series.
      Fig 2: Inspecting LH Rear Height Control Sensor Sub-Assembly
      GTY131578Courtesy of © TOYOTA, LICENSE AGREEMENT TMS1002
    2. Connect the positive (+) lead from the battery to terminal 3 and the negative (-) lead from the battery to terminal 1.
    3. Measure the voltage between terminals 2 and 1 while slowly moving the link up and down.

      Standard voltage

      Tester Connection Condition Specified Condition
      Y2-2 (SHRL) - Y2-1 (SHG) +45° Approx. 4.05 V
      Y2-2 (SHRL) - Y2-1 (SHG) 0°(normal) Approx 2.25 V
      Y2-2 (SHRL) - Y2-1 (SHG) -45° Approx 0.45 V

      If the result is not as specified, replace the sensor.