LEMON Manuals: Even more car manuals for everyone: 1960-2025
Home >> Lexus >> 2011 >> IS 350C >> Repair and Diagnosis >> External Pages >> Different car >> Section 192 (Lighting System (Diagnostics - Introduction)) >> Lighting System >> System Diagram >> System Diagram
April 5, 2026: LEMON Manuals is launched! Read the announcement.

System Diagram

WARNING: This page is about a different car, the 2011 Lexus IS 350 and 2011 Lexus IS 250. However, it is still accessible from the selected car via links, so may be relevant.
Fig 1: Automatic Light Control System Diagram
GTY350422Courtesy of © TOYOTA, LICENSE AGREEMENT TMS1002
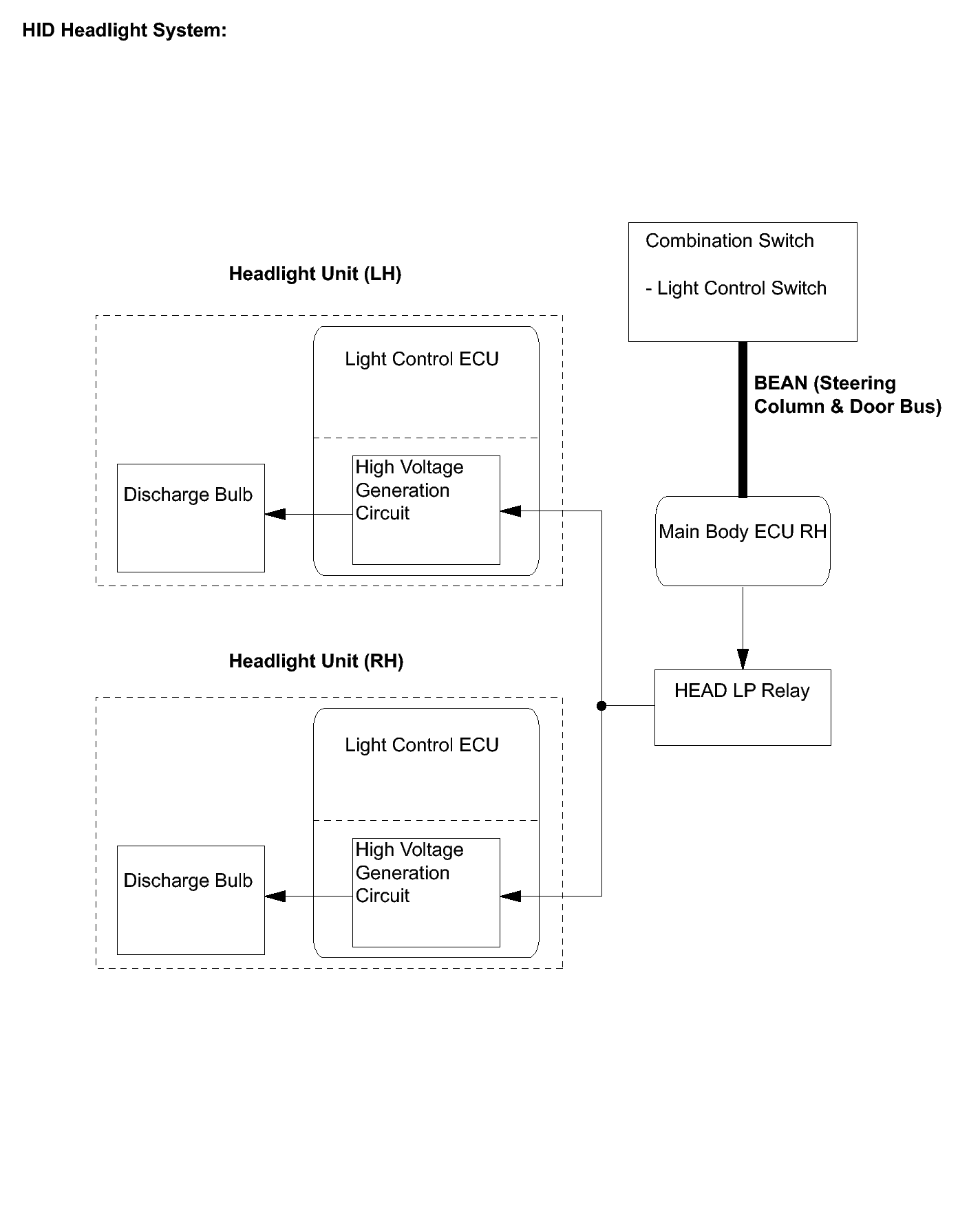
Fig 2: System Diagram -- HID Headlight System
GTY144078Courtesy of © TOYOTA, LICENSE AGREEMENT TMS1002
Fig 3: BI-FUNCTION System Diagram
GTY357560Courtesy of © TOYOTA, LICENSE AGREEMENT TMS1002
Fig 4: Automatic Headlight Beam Level Control System Diagram
GTY357225Courtesy of © TOYOTA, LICENSE AGREEMENT TMS1002
Fig 5: Intelligent AFS (Adaptive Front Lighting System) Diagram
GTY358023Courtesy of © TOYOTA, LICENSE AGREEMENT TMS1002
Fig 6: System Diagram -- Illuminated Entry System
GTY138479Courtesy of © TOYOTA, LICENSE AGREEMENT TMS1002

Various switches or sensors are represented as inputs for the different systems mentioned in the information. Where direct electrical connections do not exist between components, signals may be carried across the different networks (BEAN, CAN) that exist on the vehicle. If a signal needs to travel from the CAN network to the BEAN network, the gateway ECU allows the signal to travel between these different networks. Some of these different signals can be confirmed or inspected using the Techstream.