LEMON Manuals: Even more car manuals for everyone: 1960-2025
Home >> Lexus >> 2011 >> IS F >> Repair and Diagnosis >> Engine Performance >> System >> Engine Control System (Diagnostic Codes (P1604-U0101) & Circuit Tests)) >> SFI System >> EVAP System >> Procedure
April 5, 2026: LEMON Manuals is launched! Read the announcement.

EVAP System: Procedure

  1. CONFIRM DTC 
    1. Turn the engine switch off and wait for 10 seconds.
    2. Turn the engine switch on (IG).
    3. Turn the engine switch off and wait for 10 seconds.
    4. Connect the Techstream to the DLC3.
    5. Turn the engine switch on (IG) and turn the Techstream on.
    6. Enter the following menus: Powertrain / Engine / Trouble Codes.
    7. Confirm DTCs and freeze frame data.

      If any EVAP system DTCs are set, the malfunctioning area can be determined using the table below.

      Fig 1: EVAP System DTC Table
      GTY289999Courtesy of © TOYOTA, LICENSE AGREEMENT TMS1002
      NOTE:

      If the reference pressure difference between the first and second checks is greater than the specification, all the DTCs relating to the reference pressure (P043E, P043F, P2401, P2402 and P2419) are stored.

    NEXT: Go to next step 

  2. PERFORM EVAPORATIVE SYSTEM CHECK (AUTOMATIC MODE) 
    NOTE:
    • The Evaporative System Check (Automatic Mode) consists of five steps performed automatically by the Techstream. It takes a maximum of approximately 18 minutes.
    • Do not perform the Evaporative System Check when the fuel tank is more than 90% full because the cut-off valve may be closed, making the fuel tank leak check unavailable.
    • Do not run the engine during this operation.
    • When the temperature of the fuel is 35°C (95°F) or more, a large amount of vapor forms and any check results become inaccurate. When performing the Evaporative System Check, keep the temperature below 35°C (95°F).
    1. Connect the Techstream to the DLC3.
    2. Turn the engine switch on (IG) and turn the Techstream on.
    3. Clear DTCs. Refer to DTC CHECK / CLEAR .
    4. Enter the following menus: Powertrain / Engine / Utility / Evaporative System Check / Automatic Mode.
    5. After the Evaporative System Check is completed, check for pending DTCs by entering the following menus: Powertrain / Engine / Trouble Codes.

      HINT: 

      If no pending DTCs are displayed, perform the Monitor Confirmation (see "Diagnostic Help" menu). After this confirmation, check for pending DTCs. If no DTCs are displayed, the EVAP system is normal.

    NEXT: Go to next step 

  3. PERFORM EVAPORATIVE SYSTEM CHECK (MANUAL MODE) 
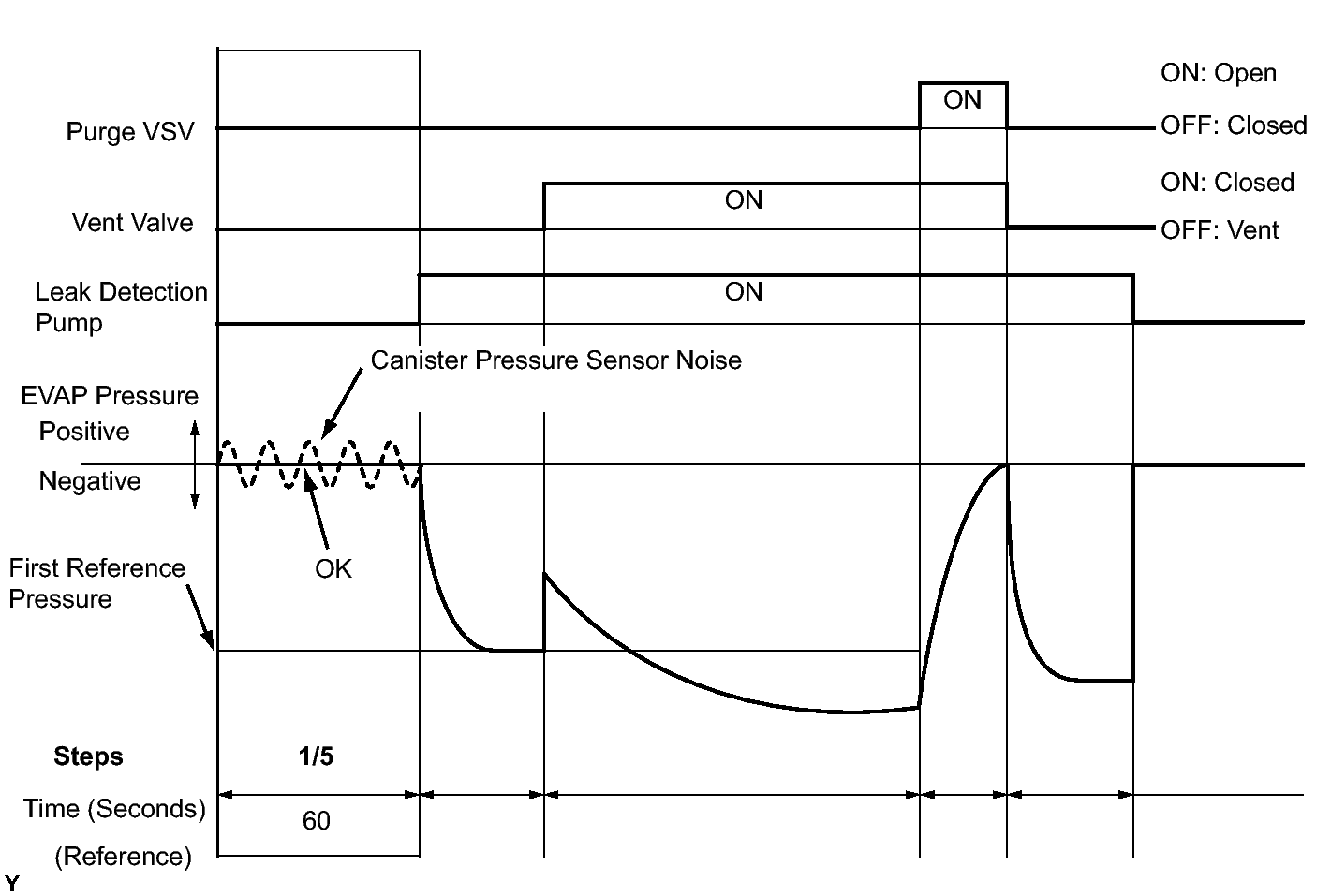
    Fig 2: Identifying EVAP Pressure Graph
    GTY260198Courtesy of © TOYOTA, LICENSE AGREEMENT TMS1002
    NOTE:
    • In the Evaporative System Check (Manual Mode), perform the series of 5 Evaporative System Check steps manually using the Techstream.
    • Do not perform the Evaporative System Check when the fuel tank is more than 90% full because the cut-off valve may be closed, making the fuel tank leak check unavailable.
    • Do not run the engine during this operation.
    • When the temperature of the fuel is 35°C (95°F) or more, a large amount of vapor forms and any check results become inaccurate. When performing the Evaporative System Check, keep the temperature below 35°C (95°F).
    1. Connect the Techstream to the DLC3.
    2. Turn the engine switch on (IG) and turn the Techstream on.
    3. Clear DTCs. Refer to DTC CHECK / CLEAR .
    4. Enter the following menus: Powertrain / Engine / Utility / Evaporative System Check / Manual Mode.

    NEXT: Go to next step 

  4. PERFORM EVAPORATIVE SYSTEM CHECK (STEP 1/5) 
    Fig 3: EVAP Pressure Graph
    GTY257460Courtesy of © TOYOTA, LICENSE AGREEMENT TMS1002
    1. Check the EVAP pressure in step 1/5.

      Result

      DTC* Test Result Suspected Trouble Area Proceed to
      - Virtually no variation in EVAP pressure Not yet determined A
      P0451 EVAP pressure fluctuates by +/-0.3 kPa (2.25 mmHg) or more Canister pressure sensor noise B

      * : These DTCs are already present in the ECM when the vehicle arrives and are confirmed in the "Confirm DTC" procedures above.

    B → See step   30 

    A: Go to next step 

  5. PERFORM EVAPORATIVE SYSTEM CHECK (STEP 1/5 TO 2/5) 
    Fig 4: EVAP Pressure Graph
    GTY279074Courtesy of © TOYOTA, LICENSE AGREEMENT TMS1002
    1. Check the EVAP pressure in steps 1/5 and 2/5.

      Result

      DTC* Test Result Suspected Trouble Area Proceed to
      - Virtually no variation in EVAP pressure during step 1/5. Then decreases to reference pressure Not yet determined A
      P2402 Small difference between EVAP pressures during steps 1/5 and 2/5 Leak detection pump stuck ON B

      * : These DTCs are already present in the ECM when the vehicle arrives and are confirmed in the "Confirm DTC" procedures above.

      HINT: 

      The first reference pressure is the value determined in step 2/5.

    B → See step   23 

    A: Go to next step 

  6. PERFORM EVAPORATIVE SYSTEM CHECK (STEP 2/5) 
    Fig 5: EVAP Pressure Graph (Step 2/5)
    GTY145423Courtesy of © TOYOTA, LICENSE AGREEMENT TMS1002

    HINT: 

    Make a note of the pressures checked in steps (a) and (b) below.

    (a) Check the EVAP pressure 4 seconds after the leak detection pump is activated* .

    * : The leak detection pump begins to operate as step 1/5 finishes and step 2/5 starts.

    (b) Check the EVAP pressure again when it has stabilized. This pressure is the reference pressure.

    Result

    DTC* Test Result Suspected Trouble Area Proceed to
    - EVAP pressure in step (b) between -4.85 kPa and -1.057 kPa (-36.4 mmHg and -7.93 mmHg) Not yet determined A
    P043F and P2401 EVAP pressure in step (b) -1.057 kPa (-7.93 mmHg) or more
    • Reference orifice high-flow
    • Leak detection pump stuck OFF
    B
    P043E EVAP pressure in step (b) below -4.85 kPa (-36.4 mmHg) Reference orifice clogged C
    P2419 EVAP pressure in step (a) more than -1.057 kPa (-7.93 mmHg) Vent valve stuck closed D

    *: These DTCs are already present in the ECM when the vehicle arrives and are confirmed in the "Confirm DTC" procedures above.

    B → See step   11 

    C → See step   30 

    D → See step   19 

    A: Go to next step 

  7. PERFORM EVAPORATIVE SYSTEM CHECK (STEP 2/5 TO 3/5) 
    Fig 6: EVAP Pressure Graph (Step 2/5 To 3/5)
    GTY145426Courtesy of © TOYOTA, LICENSE AGREEMENT TMS1002
    1. Check the EVAP pressure increase in step 3/5.

      Result

      DTC* Test Result Suspected Trouble Area Proceed to
      - EVAP pressure increases by 0.3 kPa (2.25 mmHg) or more within 10 seconds of proceeding from step 2/5 to step 3/5 Not yet determined A
      P2420 No variation in EVAP pressure despite proceeding from step 2/5 to step 3/5 Vent valve stuck open (vent) B
      P0451 No variation in EVAP pressure during steps 1/5 through 3/5 Canister pressure sensor malfunction fixed C

      * : These DTCs are already present in the ECM when the vehicle arrives and are confirmed in the "Confirm DTC" procedures above.

    B → See step   20 

    C → See step   30 

    A: Go to next step 

  8. PERFORM EVAPORATIVE SYSTEM CHECK (STEP 3/5) 
    Fig 7: EVAP Pressure Graph (Step 3/5)
    GTY145428Courtesy of © TOYOTA, LICENSE AGREEMENT TMS1002
    1. Wait until the EVAP pressure change is less than 0.12 kPa (0.75 mmHg) for 40 seconds.
    2. Measure the EVAP pressure and record it.

      HINT: 

      A few minutes are required for the EVAP pressure to become saturated. When there is little fuel in the fuel tank, it takes up to 15 minutes.

    NEXT: Go to next step 

  9. PERFORM EVAPORATIVE SYSTEM CHECK (STEP 4/5) 
    Fig 8: EVAP Pressure Graph (Step 4/5)
    GTY137037Courtesy of © TOYOTA, LICENSE AGREEMENT TMS1002
    1. Check the EVAP pressure in step 4/5.

      Result

      DTC* Test Result Suspected Trouble Area Proceed to
      - EVAP pressure increases by 0.3 kPa (2.25 mmHg) or more within 10 seconds of proceeding from step 3/5 to step 4/5 Not yet determined A
      P0441 EVAP pressure increases by 0.3 kPa (2.25 mmHg) or more within 10 seconds of proceeding from step 3/5 to step 4/5 Problems in EVAP hose between purge VSV and intake manifold B
      P0441 Variation in EVAP pressure less than 0.3 kPa (2.25 mmHg) for 10 seconds, after proceeding from step 3/5 to step 4/5 Purge VSV stuck closed C

      * : These DTCs are already present in the ECM when the vehicle arrives and are confirmed in the "Confirm DTC" procedures above.

    B → See step   15 

    C → See step   12 

    A: Go to next step 

  10. PERFORM EVAPORATIVE SYSTEM CHECK (STEP 5/5) 
    Fig 9: EVAP Pressure Graph (Step 5/5)
    GTY142564Courtesy of © TOYOTA, LICENSE AGREEMENT TMS1002
    1. Check the EVAP pressure in step 5/5.
    2. Compare the EVAP pressure in step 3/5 and the second reference pressure (step 5/5).

      Result

      DTC* Test Result Suspected Trouble Area Proceed to
      - EVAP pressure (step 3/5) lower than second reference pressure (step 5/5) Not yet determined (no leaks from EVAP system) A
      P0441 and P0455 EVAP pressure (step 3/5) higher than [second reference pressure (step 5/5) x 0.32]
      • EVAP gross leak
      • Purge VSV stuck open
      B
      P0456 EVAP pressure (step 3/5) higher than second reference pressure (step 5/5) EVAP small leak B

      * : These DTCs are already present in the ECM when the vehicle arrives and are confirmed in the "Confirm DTC" procedures above.

    A → See step   36 

    B → See step   12 

  11. PERFORM EVAPORATIVE SYSTEM CHECK (STEP 3/5) 
    Fig 10: EVAP Pressure Graph (Step 3/5)
    GTY140269Courtesy of © TOYOTA, LICENSE AGREEMENT TMS1002
    1. Check the EVAP pressure in step 3/5.

      Result

      DTC* Test Result Suspected Trouble Area Proceed to
      P043F EVAP pressure less than [reference pressure] measured at 2/5 Reference orifice high-flow A
      P2401 EVAP pressure almost same as [reference pressure] measured at 2/5 Leak detection pump stuck OFF B

      * : These DTCs are already present in the ECM when the vehicle arrives and are confirmed in the "Confirm DTC" procedures above.

      HINT: 

      The first reference pressure is the value determined in step 2/5.

    A → See step   30 

    B → See step   23 

  12. PERFORM ACTIVE TEST USING TECHSTREAM (PURGE VSV) 
    1. Enter the following menus: Powertrain / Engine / Active Test / Activate the VSV for EVAP Control.
      Fig 11: Identifying Purge VSV & Hose To Canister
      GTY149028Courtesy of © TOYOTA, LICENSE AGREEMENT TMS1002
    2. Disconnect the hose (connected to the canister) from the purge VSV.
    3. Start the engine.
    4. Using the Techstream, turn off the purge VSV (Activate the VSV for EVAP Control: OFF).
    5. Use your finger to confirm that the purge VSV has no suction.
    6. Using the Techstream, turn on the purge VSV (Activate the VSV for EVAP Control: ON).
    7. Use your finger to confirm that the purge VSV has suction.

      Result

      Test Result Suspected Trouble Area Proceed to
      No suction when purge VSV turned OFF, and suction applied when turned ON Purge VSV normal A
      Suction applied when purge VSV turned OFF Purge VSV stuck open B
      No suction when purge VSV turned ON
      • Purge VSV stuck closed
      • Problems with EVAP hose between purge VSV and intake air surge tank
      C
    8. Reconnect the hose.

    B → See step   14 

    C → See step   15 

    A: Go to next step 

  13. CHECK FUEL CAP ASSEMBLY 
    1. Check that the fuel cap is correctly installed and confirm the fuel cap meets OEM specifications.
    2. Confirm that the fuel cap is tightened until a few click sounds are heard.

      HINT: 

      If an EVAP tester is available, check the fuel cap using the Techstream.

      1. Remove the fuel cap and install it onto a fuel cap adaptor.
      2. Connect an EVAP tester pump hose to the adaptor, and pressurize the cap to 3.2 to 3.7 kPa (24 to 28 mmHg) using an EVAP tester pump.
      3. Seal the adaptor and wait for 2 minutes.
      4. Check the pressure. If the pressure is 2 kPa (15 mmHg) or more, the fuel cap is normal.

        Result

        Test Result Suspected Trouble Area Proceed to
        Fuel cap correctly installed - A
        Fuel cap loose
        • Fuel cap improperly installed
        • Defective fuel cap
        • Fuel cap does not meet OEM specifications
        B
        No fuel cap - C

    A → See step   29 

    B → See step   27 

    C → See step   28 

  14. INSPECT PURGE VSV 
    1. Turn the engine switch off.
      Fig 12: Identifying Purge VSV & Hose To Canister
      GTY139170Courtesy of © TOYOTA, LICENSE AGREEMENT TMS1002
    2. Disconnect the purge VSV connector.
    3. Disconnect the hose (connected to the canister) from the purge VSV.
    4. Start the engine.
    5. Use your finger to confirm that the purge VSV has no suction.

      Result

      Test Result Suspected Trouble Area Proceed to
      No suction ECM A
      Suction applied Purge VSV B
    6. Reconnect the Purge VSV connector.
    7. Reconnect the hose off.

    A → See step   35 

    B → See step   31 

  15. CHECK EVAP HOSE (PURGE VSV - INTAKE MANIFOLD) 
    1. Turn the engine switch off.
    2. Disconnect the hose (connected to the intake manifold) from the purge VSV.
      Fig 13: Identifying Purge VSV & Hose To Intake Manifold
      GTY148836Courtesy of © TOYOTA, LICENSE AGREEMENT TMS1002
    3. Start the engine.
    4. Use your finger to confirm that the hose has suction.

      Result

      Test Result Suspected Trouble Area Proceed to
      Suction applied EVAP hose between purge VSV and intake manifold A
      No suction
      • Intake air surge tank
      • EVAP hose between purge VSV and intake manifold
      B
    5. Reconnect the hose.

    B → See step   26 

    A: Go to next step 

  16. INSPECT PURGE VSV 
    1. Remove the purge VSV.
      Fig 14: Inspecting Purge VSV
      GTY126882Courtesy of © TOYOTA, LICENSE AGREEMENT TMS1002
    2. Apply the battery voltage to the terminals of the purge VSV.
    3. Using an air gun, confirm that air flows from port A to port B.

      Result

      Test Result Condition Suspected Trouble Area Proceed to
      Air flows Apply battery voltage to purge VSV terminals Purge VSV normal A
      No air flow Apply battery voltage to purge VSV terminals Purge VSV B
    4. Reinstall the purge VSV.

    B → See step   31 

    A: Go to next step 

  17. CHECK HARNESS AND CONNECTOR (POWER SOURCE OF PURGE VSV) 
    1. Disconnect the purge VSV connector.
    2. Turn the engine switch on (IG).
    3. Measure the voltage according to the value(s) in the table below.

      Result

      Tester Connection Switch Condition Test Result Suspected Trouble Area Proceed to
      E77-2 - Body ground Engine switch on (IG) 11 to 14 V Normal A
      Other than result above Wire harness or connectors between purge VSV and ECM B
    4. Reconnect the purge VSV connector.

    B → See step   32 

    A: Go to next step 

  18. CHECK HARNESS AND CONNECTOR (PURGE VSV - ECM) 
    1. Disconnect the purge VSV connector.
    2. Disconnect the ECM connector.
    3. Measure the resistance according to the value(s) in the table below.

      Standard Resistance (Check for Open)

      Tester Connection Condition Specified Condition
      E77-1 - E3-17 (PRG) Always Below 1 Ω

      Standard Resistance (Check for Short)

      Tester Connection Condition Specified Condition
      E77-1 or E3-17 (PRG) - Body ground Always 10 kΩ or higher
    4. Reconnect the VSV connector and ECM connector.

    OK → See step   35 

    NG → See step   32 

  19. PERFORM ACTIVE TEST USING TECHSTREAM (FOR VENT VALVE) 
    1. Connect the Techstream to the DLC3.
      Fig 15: Identifying E3 Connector Terminal
      GTY147491Courtesy of © TOYOTA, LICENSE AGREEMENT TMS1002
    2. Turn the engine switch on (IG) and turn the Techstream on.
    3. Enter the following menus: Powertrain / Active Test / Activate the VSV for Vent Valve.
    4. Measure the voltage according to the value(s) in the table below.

      Result

      Tester Connection Condition Test Result Suspected Trouble Area Proceed to
      E3-16 (VPMP) - Body ground Vent valve ON and OFF (Active test ON and OFF) 11 to 14 V when OFF
      Below 3 V when ON
      Vent valve A
      Below 3 V when OFF and ON ECM B

    A → See step   22 

    B → See step   35 

  20. PERFORM ACTIVE TEST USING TECHSTREAM (FOR VENT VALVE) 
    1. Connect the Techstream to the DLC3.
      Fig 16: Identifying E3 Connector Terminal
      GTY147491Courtesy of © TOYOTA, LICENSE AGREEMENT TMS1002
    2. Turn the engine switch on (IG) and turn the Techstream on.
    3. Enter the following menus: Powertrain / Active Test / Activate the VSV for Vent Valve.
    4. Measure the voltage according to the value(s) in the table below.

      Result

      Tester Connection Condition Test Result Suspected Trouble Area Proceed to
      E3-16 (VPMP) - Body ground Vent valve ON and OFF (Active test ON and OFF) Below 3 V when OFF and ON Power source of vent valve A
      11 to 14 V when OFF
      Below 3 V when ON
      Vent valve B
      11 to 14 V when OFF and ON ECM C

    B → See step   22 

    C → See step   35 

    A: Go to next step 

  21. INSPECT CANISTER PUMP MODULE (POWER SOURCE FOR VENT VALVE) 
    1. Turn the engine switch off.
      Fig 17: Identifying Canister Pump Module Connector
      GTY139652Courtesy of © TOYOTA, LICENSE AGREEMENT TMS1002
    2. Disconnect the canister pump module connector.
    3. Turn the engine switch on (IG).
    4. Measure the voltage according to the value(s) in the table below.

      Result

      Tester Connection Switch Condition Test Result Suspected Trouble Area Proceed to
      Q49-9 (VLVB) - Body ground Engine switch on (IG) 11 to 14 V Normal A
      Below 3 V Power source wire harness of vent valve B
    5. Reconnect the canister pump module connector.

    B → See step   32 

    A: Go to next step 

  22. INSPECT CANISTER PUMP MODULE (VENT VALVE OPERATION) 
    1. Turn the engine switch off.
      Fig 18: Identifying Canister Pump Module Connector Terminals
      GTY105397Courtesy of © TOYOTA, LICENSE AGREEMENT TMS1002
    2. Disconnect the canister pump module connector.
    3. Apply the battery voltage to VLVB and VGND terminals of the canister pump module.
    4. Touch the canister pump module to confirm the vent valve operation.

      Result

      Condition Test Result Suspected Trouble Area Proceed to
      Apply battery voltage to terminals VLVB and VGND Operating Wire harness between vent valve and ECM A
      Not operating Vent valve B
    5. Reconnect the canister pump module connector.

    A → See step   32 

    B → See step   30 

  23. PERFORM ACTIVE TEST USING TECHSTREAM (FOR LEAK DETECTION PUMP) 
    1. Connect the Techstream to the DLC3.
      Fig 19: Identifying E3 Connector Terminal
      GTY140670Courtesy of © TOYOTA, LICENSE AGREEMENT TMS1002
    2. Turn the engine switch on (IG) and turn the Techstream on.
    3. Enter the following menus: Powertrain / Active Test / Activate the Vacuum Pump.
    4. Measure the voltage according to the value(s) in the table below.

      Result

      Tester Connection Condition Test Result Suspected Trouble Area Proceed to
      E3-15 (MPMP) - Body ground Vacuum pump (leak detection pump) ON and OFF (Active test ON and OFF) Below 3 V when OFF
      11 to 14 V when ON
      ECM normal A
      11 to 14 V when OFF
      Below 3 V when ON
      ECM B

    B → See step   35 

    A: Go to next step 

  24. CHECK HARNESS AND CONNECTOR (CANISTER PUMP MODULE - ECM) 
    1. Connect the Techstream to the DLC3.
    2. Turn the engine switch off.
    3. Disconnect the canister pump module connector.
    4. Turn the engine switch on (IG) and turn the Techstream on.
    5. Enter the following menus: Powertrain / Active Test / Activate the Vacuum Pump.
    6. Turn the leak detection pump (vacuum pump) ON.
    7. Measure the voltage according to the value(s) in the table below.

      Result

      Tester Connection Condition Test Result Suspected Trouble Area Proceed to
      Q49-1 (MTRB) - Body ground Vacuum pump (leak detection pump) ON and OFF (Active test ON and OFF) 11 to 14 V Normal A
      Below 3 V Wire harness between ECM and leak detection pump B
    8. Reconnect the canister pump module connector.

    B → See step   32 

    A: Go to next step 

  25. CHECK HARNESS AND CONNECTOR (CANISTER PUMP MODULE - GROUND) 
    1. Turn the engine switch off.
    2. Disconnect the canister pump module connector.
    3. Measure the resistance according to the value(s) in the table below.

      Result

      Tester Connection Condition Test Result Suspected Trouble Area Proceed to
      Q49-6 (MGND) - Body ground Always Below 1 Ω Leak detection pump A
      10 kΩ or more Wire harness between leak detection pump and body ground B
    4. Reconnect the canister pump module connector.

    A → See step   30 

    B → See step   32 

  26. INSPECT INTAKE AIR SURGE TANK ASSEMBLY (EVAP PURGE PORT) 
    1. Stop the engine.
    2. Disconnect the EVAP hose from the intake air surge tank assembly.
    3. Start the engine.
    4. Use your finger to confirm that the port of the intake air surge tank assembly has suction.

      Result

      Test Result Suspected Trouble Area Proceed to
      Suction applied EVAP hose between intake air surge tank assembly and purge VSV A
      No suction Intake air surge tank assembly B
    5. Reconnect the EVAP hose.

    A → See step   33 

    B → See step   34 

  27. CORRECTLY REINSTALL OR REPLACE FUEL CAP ASSEMBLY 

    HINT: 

    • When reinstalling the fuel cap, tighten it until a few click sounds are heard.
    • When replacing the fuel cap, use a fuel cap that meets OEM specifications, and install it until a few click sounds are heard.

    NEXT → See step   37 

  28. REPLACE FUEL CAP ASSEMBLY 

    HINT: 

    When installing the fuel cap, tighten it until a few click sounds are heard.

    NEXT → See step   37 

  29. LOCATE EVAP LEAK PART 
    1. Disconnect the pressure gauge to the canister with the adapter.
      Fig 20: Identifying Vent Hose
      GTY132856Courtesy of © TOYOTA, LICENSE AGREEMENT TMS1002
    2. Connect the EVAP pressure tester tool to the canister with the adapter.
      Fig 21: Connecting Pressure Gauge To Canister With Adapter
      GTY146088Courtesy of © TOYOTA, LICENSE AGREEMENT TMS1002
    3. Pressurize the EVAP system to 3.2 to 3.7 kPa (24 to 28 mmHg).
    4. Apply soapy water to the piping and connecting parts of the EVAP system.
    5. Look for areas where bubbles appear. This indicates the leak point.
    6. Repair or replace the leak point.

      HINT: 

      Disconnect the hose between the canister and the fuel tank from the canister. Block the canister side and conduct an inspection. In this way, the fuel tank can be excluded as an area suspected of causing fuel leaks.

    7. Reconnect the vent hose.

    NEXT → See step   37 

  30. REPLACE CANISTER ASSEMBLY 
    1. Replace the canister assembly. Refer to REMOVAL .
      Fig 22: Identifying Canister Assembly
      GTY350787Courtesy of © TOYOTA, LICENSE AGREEMENT TMS1002
      NOTE:

      When replacing the canister, check the canister pump module interior and related pipes for water, fuel and other liquids. If liquids are present, check for disconnections and/or cracks in the following: 1) the pipe from the air inlet port to the canister pump module; 2) the canister filter; and 3) the fuel tank vent hose.

    NEXT → See step   37 

  31. REPLACE PURGE VSV (PURGE VSV) 
    1. Replace the purge VSV. Refer to REMOVAL .

    NEXT → See step   37 

  32. REPAIR OR REPLACE HARNESS OR CONNECTOR 

    NEXT → See step   37 

  33. REPLACE EVAP HOSE (INTAKE AIR SURGE TANK - PURGE VSV) 

    NEXT → See step   37 

  34. INSPECT INTAKE AIR SURGE TANK ASSEMBLY 
    1. Check that the EVAP purge port of the intake air surge tank assembly is not clogged. If necessary, replace the intake air surge tank assembly.

    NEXT → See step   37 

  35. REPLACE ECM 
    1. Replace the ECM. Refer to REMOVAL .

    NEXT → See step   37 

  36. REPAIR OR REPLACE PARTS AND COMPONENTS INDICATED BY OUTPUT DTCS 
    1. Repair the malfunctioning areas indicated by the DTCs that had been confirmed when the vehicle was brought in.

    NEXT → See step   37 

  37. PERFORM EVAPORATIVE SYSTEM CHECK (AUTOMATIC MODE) 
    NOTE:
    • The Evaporative System Check (Automatic Mode) consists of five steps performed automatically by the Techstream. It takes a maximum of approximately 18 minutes.
    • Do not perform the Evaporative System Check when the fuel tank is more than 90% full because the cut-off valve may be closed, making the fuel tank leak check unavailable.
    • Do not run the engine during this operation.
    • When the temperature of the fuel is 35°C (95°F) or more, a large amount of vapor forms and any check results become inaccurate. When performing an Evaporative System Check, keep the temperature below 35°C (95°F).
    1. Clear DTCs. Refer to DTC CHECK / CLEAR .
    2. Enter the following menus: Powertrain / Engine / Utility / Evaporative System Check / Automatic Mode.
    3. After the Evaporative System Check is completed, check for pending DTCs by entering the following menus: Powertrain / Engine / Trouble Codes.

      HINT: 

      If no pending DTCs are found, the repair has been successfully completed.

    NEXT → COMPLETED