LEMON Manuals: Even more car manuals for everyone: 1960-2025
Home >> Lexus >> 2011 >> IS F >> Repair and Diagnosis >> External Pages >> Different car >> Section 48 (Vehicle Stability Control System (Diagnostics - Introduction)) >> Vehicle Stability Control System >> System Description >> System Description
April 5, 2026: LEMON Manuals is launched! Read the announcement.

System Description

WARNING: This page is about a different car, the 2011 Toyota Avalon. However, it is still accessible from the selected car via links, so may be relevant.
  1. SYSTEM DESCRIPTION 

    HINT: 

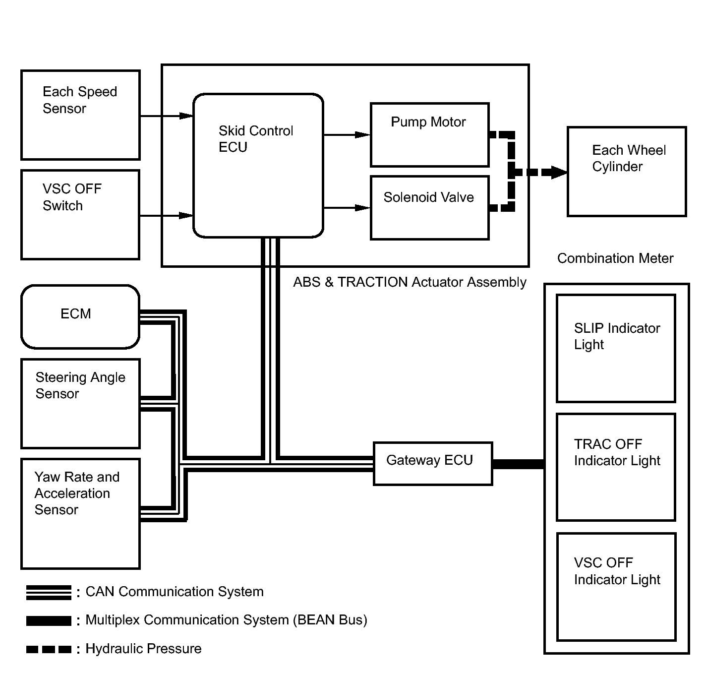
    • The skid control ECU is located within the ABS & TRACTION actuator assembly.
    • The yaw rate sensor and acceleration sensor are combined and in a signal unit. This unit communicates with the skid control ECU through CAN communication.
    1. ABS (Anti-lock Brake System)

      The ABS helps prevent the wheels from locking when the brakes are applied firmly or when braking on a slippery surface.

      Fig 1: Anti-lock Brake System - Communication Diagram
      GTY304960Courtesy of © TOYOTA, LICENSE AGREEMENT TMS1002
      1. Operation description

        The skid control ECU detects wheel lock condition by receiving vehicle speed signals from each speed sensor, and sends control signals to the pump motor and solenoid valve. The pump motor and solenoid valve avoid wheel lock by controlling the hydraulic pressure of each wheel cylinder.

        The ABS warning light comes on when the ABS system is malfunctioning.

    2. EBD (Electronic Brake force Distribution)

      The EBD control utilizes ABS, realizing proper brake force distribution between the front and rear wheels in accordance with driving conditions.

      In addition, when braking while cornering, it also controls the brake forces of the right and left wheels, helping to maintain vehicle behavior.

      Fig 2: Electronic Brake Force Distribution - Communication Diagram
      GTY294668Courtesy of © TOYOTA, LICENSE AGREEMENT TMS1002
      1. Operation description

        The skid control ECU receives the speed signal from each speed sensor to detect the slip condition of the wheels and sends the control signal to the solenoid.

        The solenoid valve controls the hydraulic pressure of each wheel cylinder and splits the control power properly between the front and rear wheels and the right and left wheels.

        Both of the ABS and BRAKE warning lights come on to indicate a malfunction in the EBD system.

    3. BA (Brake Assist)

      The primary purpose of the brake assist system is to provide auxiliary brake force to assist the driver who cannot generate a large enough brake force during emergency braking , thus helping to maximize the vehicle's brake performance.

      Fig 3: Brake Assist - Communication Diagram
      GTY302603Courtesy of © TOYOTA, LICENSE AGREEMENT TMS1002
      1. Operation description

        The skid control ECU receives the hydraulic pressure signal from the master cylinder pressure sensor to determine whether brake assist is necessary or not. If brake assist is deemed necessary, the skid control ECU sends control signals to the pump motor and solenoid. The pump and the solenoid valve then control the pressure applied to each wheel cylinder.

        The ABS warning light comes on to indicate a malfunction in the BA (Brake Assist) system.

    4. TRAC (Traction Control)

      The TRAC system helps prevent the drive wheels from slipping if the driver presses down on the accelerator pedal excessively when starting off or accelerating on a slippery surface.

      Fig 4: Traction Control - Communication Diagram
      GTY299262Courtesy of © TOYOTA, LICENSE AGREEMENT TMS1002
      1. Operation description

        The skid control ECU detects wheelspin by receiving signals from each speed sensor and the ECM via CAN communication. The skid control ECU controls engine torque with the ECM via CAN communication and brake hydraulic pressure through the pump and solenoid valve.

        The SLIP indicator light blinks when the system is operating. When there is a malfunction in the TRAC system, the SLIP indicator light will come on.

        The VSC OFF switch cancels traction control operation. If TRAC control is turned off, the TRAC OFF indicator light will come on.

    5. VSC (Vehicle Stability Control)

      The VSC system helps prevent the vehicle from slipping sideways as a result of strong front or rear wheel skid during cornering.

      Fig 5: Vehicle Stability Control - Communication Diagram
      GTY302216Courtesy of © TOYOTA, LICENSE AGREEMENT TMS1002
      1. Operation description

        The skid control ECU determines the vehicle operating conditions based on signals received from the speed sensors, yaw rate and acceleration sensor, and steering angle sensor. The skid control ECU sends signals via CAN communication to the ECM in order to control engine torque. The skid control ECU controls brake hydraulic pressure using the pump and solenoid valve.

        The SLIP indicator light will blink when the system is operating. If a malfunction occurs in the VSC system, the SLIP indicator light will come on.

        The VSC OFF switch cancels VSC control operation. If VSC control is turned off, the TRAC OFF indicator and VSC OFF indicator lights will come on.

  2. ABS with EBD & BA & TRAC & VSC OPERATION 
    1. The skid control ECU calculates vehicle stability tendency based on the signals from the speed sensor, yaw rate and acceleration sensor and steering angle sensor. In addition, it evaluates the results of the calculations to determine whether any control actions (control of the engine output torque by electronic throttle control and the wheel brake pressure by the ABS & TRACTION actuator assembly) should be implemented.
    2. The SLIP indicator light blinks to inform the driver that the VSC system is operating. The SLIP indicator light also blinks when traction control is operating, and the operation being performed is displayed.
  3. FAIL SAFE FUNCTION 
    1. When a failure occurs in the ABS with BA, TRAC or VSC systems, the ABS warning and SLIP indicator lights come on and ABS with BA, TRAC and VSC operations are prohibited. In addition, when there is a failure that disables the EBD operation, the BRAKE warning light also comes on and the EBD operation is prohibited.
    2. If control is prohibited due to a malfunction during operation, control will be disabled gradually.

      This is to avoid sudden vehicle instability.

  4. INITIAL CHECK 
    1. When the vehicle speed first becomes approximately 6 km/h (4 mph) or more after the ignition switch is turned on (IG), each solenoid valve and motor of the ABS & TRACTION actuator is sequentially activated to perform an electrical check. During the initial check, the operating sound of solenoid valve and motor can be heard from the engine compartment, but this is not a malfunction.
  5. FUNCTION OF COMPONENTS 
    Components Function
    Speed sensor
    • Detect the wheel speed and send the signal to the skid control ECU.
    Skid control ECU
    (housed in ABS & TRACTION actuator assembly)
    • Processes the signals sent from each sensor to control the ABS, BA, TRAC, and VSC.
    • Sends and receives the control signals to or from the ECM, yaw rate and acceleration sensor, and steering angle sensor, etc. via CAN communication.
    ABS & TRACTION actuator assembly
    • Consists of the master cylinder cut solenoid valve, retention solenoid valve, pressure reduction solenoid valve, pump motor, and reservoir, and adjusts the brake hydraulic pressure applied to each wheel cylinder.
    • Housed in the skid control ECU.
    Solenoid relay
    • Supplies power to each solenoid.
    • Houses the skid control ECU
    Motor relay (VSC No. 1 relay) Supplies power to pump motor.
    Fail-safe relay (VSC No. 2 relay) Cuts off power to the motor when the pump motor circuit malfunctions.
    Steering angle sensor
    • Installed in the combination switch.
    • Detects the steering amount and direction and sends the signals to the skid control ECU via CAN communication.
    • Has the magnetic resistance element which detects the rotation of the magnet housed in the detection gear in order to detect the changes of magnetic resistance and the steering amount and direction.
    Yaw rate and acceleration sensor
    • The acceleration sensor measures the amount of deflection of beam in the sensor, which occurs when the vehicle is accelerated, and converts the measured value into electrical signals.
    • The yaw rate sensor detects the vehicle's angular velocity (yaw rate) in the vertical direction based on the amount and direction of the piezoelectric ceramics deflection.
    • Sends signals to the skid control ECU via CAN communication.
    Master cylinder pressure sensor
    • Detects the hydraulic pressure in the master cylinder.
    • Housed in the ABS & TRACTION actuator assembly.
    ECM
    • Controls the engine output when TRAC and VSC are operating with the skid control ECU via CAN communication.
    VSC OFF switch Pressing this switch turns off TRAC and pressing and holding this switch turns off TRAC and VSC.
    ABS warning light
    • Comes on to inform the driver that a malfunction in the ABS or BA (Brake Assist) has occurred.
    • Blinks to output DTC.
    BRAKE warning light
    • Comes on to inform the driver that the parking brake is ON when the system is normal or the brake fluid has decreased.
    • Comes on to inform the driver that a malfunction in the EBD has occurred.
    TRAC OFF indicator light Illuminates to inform the driver when TRAC OFF mode is selected.
    VSC OFF indicator light Illuminates to inform the driver when VSC OFF mode is selected.
    SLIP indicator light
    • Blinks to inform the driver that TRAC or VSC are operating.
    • Comes on to inform the driver that a malfunction in the TRAC or VSC has occurred.
    • Blinks to output DTCs.