LEMON Manuals: Even more car manuals for everyone: 1960-2025
Home >> Lexus >> 2011 >> IS F >> Repair and Diagnosis >> External Pages >> Different car >> Section 54 (Lighting System (Diagnostics - Introduction)) >> Lighting System >> System Diagram >> System Diagram
April 5, 2026: LEMON Manuals is launched! Read the announcement.

System Diagram

WARNING: This page is about a different car, the 2011 Toyota Avalon. However, it is still accessible from the selected car via links, so may be relevant.
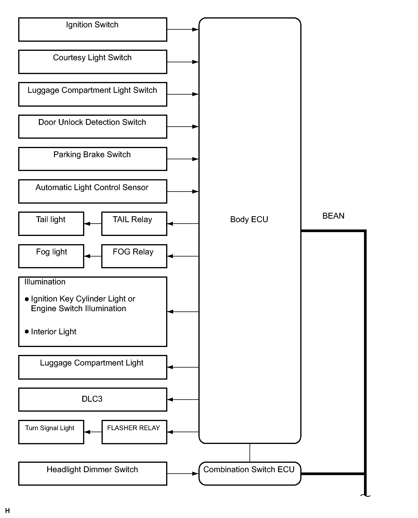
Fig 1: Identifying Lighting System Diagram (1 Of 3)
GTY206380Courtesy of © TOYOTA, LICENSE AGREEMENT TMS1002
Fig 2: Identifying Lighting System Diagram (2 Of 3)
GTY190812Courtesy of © TOYOTA, LICENSE AGREEMENT TMS1002
Fig 3: Identifying Lighting System Diagram (3 Of 3)
GTY210333Courtesy of © TOYOTA, LICENSE AGREEMENT TMS1002
INPUT AND OUTPUT SIGNALS OF EACH ECU

Transmitting ECU
(Transmitter)
Receiving ECU Signals Communication method
Body ECU Front Controller
  • Headlight ON signal
  • High beam ON signal
  • DRL ON demand signal
BEAN
Combination switch ECU Body ECU
  • Light SW auto signal
  • Light SW tail signal
  • Light SW head signal
  • Light SW high beam signal
  • Front fog SW signal
  • Lighting system passing signal
  • Right turn signal
  • Left turn signal
BEAN
ECM Body ECU
  • Alternator L terminal signal
  • Shift position P signal
CAN - BEAN