LEMON Manuals: Even more car manuals for everyone: 1960-2025
Home >> Lexus >> 2011 >> IS F >> Repair and Diagnosis >> External Pages >> Different car >> Section 99 (Audio / Visual System (Symptom Tests (Cont.)) >> Audio And Visual System >> Symptom Tests >> Steering Pad Switch Circuit (TO 12/2010) >> Procedure
April 5, 2026: LEMON Manuals is launched! Read the announcement.

Steering Pad Switch Circuit (TO 12/2010): Procedure

WARNING: This page is about a different car, the 2011 Toyota Avalon. However, it is still accessible from the selected car via links, so may be relevant.
  1. INSPECT RADIO RECEIVER ASSEMBLY 
    1. Disconnect the radio receiver assembly connector.
      Fig 1: Identifying Radio Receiver Assembly Connector Terminals
      GTY303211Courtesy of © TOYOTA, LICENSE AGREEMENT TMS1002
    2. Measure the resistance according to the value(s) in the table below.

      Standard Resistance

      Tester Connection Condition Specified Condition
      E34-7 (SW1) - E34-6 (SWG) No switch pushed 95 to 105 kΩ
      E34-7 (SW1) - E34-6 (SWG) Seek+ switch pushed Below 2.5 Ω
      E34-7 (SW1) - E34-6 (SWG) Seek- switch pushed 312 to 345 Ω
      E34-7 (SW1) - E34-6 (SWG) Volume+ switch pushed 950 to 1050 Ω
      E34-7 (SW1) - E34-6 (SWG) Volume- switch pushed 2954 to 3265 Ω
      E34-8 (SW2) - E34-6 (SWG) No switch pushed 95 to 105 kΩ
      E34-8 (SW2) - E34-6 (SWG) MODE switch pushed Below 2.5 Ω
      E34-8 (SW2) - E34-6 (SWG) Voice switch pushed 2954 to 3265 Ω
      E34-8 (SW2) - E34-6 (SWG) On hook switch pushed 312 to 345 Ω
      E34-8 (SW2) - E34-6 (SWG) Off hook switch pushed 950 to 1050 Ω
      TEXT IN ILLUSTRATION

      *a Front view of wire harness connector
      (to Radio Receiver Assembly)

    NG → See step   3 

    OK → See step   2 

  2. PROCEED TO NEXT SUSPECTED AREA SHOWN IN PROBLEM SYMPTOMS TABLE. Refer to  PROBLEM SYMPTOMS TABLE 
  3. INSPECT STEERING PAD SWITCH ASSEMBLY 
    1. Disconnect the steering pad switch assembly connector.
    2. Measure the resistance according to the value(s) in the table below.
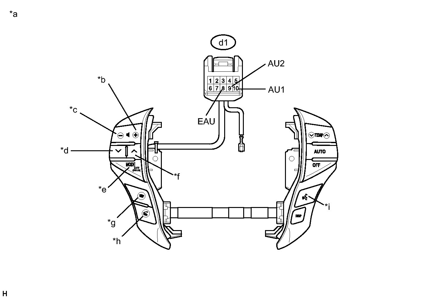
      Fig 2: Identifying Steering Pad Switch Assembly Connector Terminals
      GTY306816Courtesy of © TOYOTA, LICENSE AGREEMENT TMS1002

      Standard Resistance

      Tester Connection Condition Specified Condition
      d1-10 (AU1) - d1-8 (EAU) No switch pushed 95 to 105 kΩ
      d1-10 (AU1) - d1-8 (EAU) Seek+ switch pushed Below 2.5 Ω
      d1-10 (AU1) - d1-8 (EAU) Seek- switch pushed 312 to 345 Ω
      d1-10 (AU1) - d1-8 (EAU) Volume+ switch pushed 950 to 1050 Ω
      d1-10 (AU1) - d1-8 (EAU) Volume- switch pushed 2954 to 3265 Ω
      d1-9 (AU2) - d1-8 (EAU) No switch pushed 95 to 105 kΩ
      d1-9 (AU2) - d1-8 (EAU) MODE switch pushed Below 2.5 Ω
      d1-9 (AU2) - d1-8 (EAU) Voice switch pushed 2954 to 3265 Ω
      d1-9 (AU2) - d1-8 (EAU) On hook switch pushed 312 to 345 Ω
      d1-9 (AU2) - d1-8 (EAU) Off hook switch pushed 950 to 1050 Ω
      TEXT IN ILLUSTRATION

      *a Component without harness connected
      (Steering Pad Switch Assembly)
      *b Volume+
      *c Volume- *d Seek-
      *e MODE *f Seek+
      *g On hook *h Off hook
      *i Voice - -

    NG → See step   6 

    OK: Go to next step 

  4. INSPECT SPIRAL CABLE SUB-ASSEMBLY 
    1. Disconnect the steering pad switch assembly and spiral cable sub-assembly connectors.
      Fig 3: Identifying Spiral Cable Sub-Assembly Connector Terminals
      GTY294998Courtesy of © TOYOTA, LICENSE AGREEMENT TMS1002
    2. Measure the resistance according to the value(s) in the table below.

      Standard Resistance

      Tester Connection Condition Specified Condition
      d1-8 (EAU) - D15-4 (EAU) Center Below 1 Ω
      2.5 rotations to the left
      2.5 rotations to the right
      d1-10 (AU1) - D15-6 (AU1) Center Below 1 Ω
      2.5 rotations to the left
      2.5 rotations to the right
      d1-9 (AU2) - D15-5 (AU2) Center Below 1 Ω
      2.5 rotations to the left
      2.5 rotations to the right
      NOTE:

      The spiral cable sub-assembly is an important part of the SRS airbag system. Incorrect removal or installation of the spiral cable sub-assembly may prevent the airbag from deploying. Be sure to read the article shown in the brackets.

      HINT: 

      TEXT IN ILLUSTRATION

      *a Component without harness connected
      (Spiral Cable Sub-assembly)
      *b Steering Pad Switch Assembly Side
      *c Vehicle Side

    NG → See step   5 

    OK → REPAIR OR REPLACE HARNESS OR CONNECTOR (SPIRAL CABLE SUB-ASSEMBLY - RADIO RECEIVER ASSEMBLY) 

  5. REPLACE SPIRAL CABLE SUB-ASSEMBLY. Refer to  REMOVAL 
  6. REPLACE STEERING PAD SWITCH ASSEMBLY. Refer to  REMOVAL