LEMON Manuals: Even more car manuals for everyone: 1960-2025
Home >> Lexus >> 2011 >> RX 350 AWD V6-3.5L (2GR-FE) >> Repair and Diagnosis >> Accessories and Optional Equipment >> Entertainment Systems >> Entertainment System Control Module >> Service and Repair >> Multi-Media Interface ECU >> Installation
April 5, 2026: LEMON Manuals is launched! Read the announcement.

Installation





AUDIO / VIDEO: MULTI-MEDIA INTERFACE ECU: INSTALLATION

1. INSTALL MULTI-MEDIA INTERFACE ECU (for TMC Made)

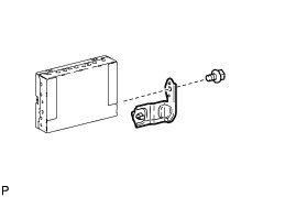
2. INSTALL NO. 2 MULTI-MEDIA INTERFACE BRACKET (for TMC Made)

(a) Install the No. 2 multi-media interface bracket with the bolt.





3. INSTALL NO. 1 MULTI-MEDIA INTERFACE BRACKET (for TMC Made)

(a) Install the No. 1 multi-media interface bracket with the 2 bolts.





4. INSTALL MULTI-MEDIA INTERFACE ECU ASSEMBLY

(a) Connect the connector.

(b) Engage the clip and guide.





(c) Install the multi-media interface ECU assembly with the 2 bolts.

Torque : 6.0 Nm (61 kgf-cm, 53 in-lbf)

5. INSTALL CONSOLE REAR END PANEL SUB-ASSEMBLY Installation