LEMON Manuals: Even more car manuals for everyone: 1960-2025
Home >> Lexus >> 2011 >> RX 350 AWD >> Repair and Diagnosis >> Engine Performance >> System >> Engine Control System SFI System [2GR-FE] (Diagnostic Codes & Circuit Tests) >> SFI System >> Active Control Engine Mount System >> Procedure
April 5, 2026: LEMON Manuals is launched! Read the announcement.

Active Control Engine Mount System: Procedure

  1. CHECK VACUUM HOSES 
    1. If the hose is damaged, replace the vacuum hose assembly.
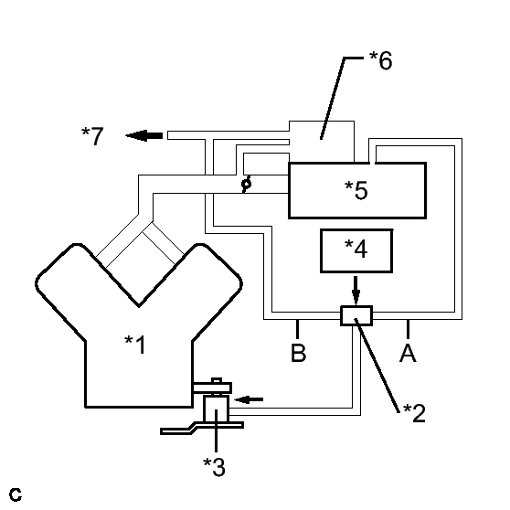
      Fig 1: Engine, Vacuum Switching Valve For Active Control Engine Mount, Engine Mounting Insulator & ECM
      GTY349077Courtesy of © TOYOTA, LICENSE AGREEMENT TMS1002
    2. Check the air and vacuum hoses for looseness, disconnection and blockage.
      TEXT IN ILLUSTRATION

      *1 Engine
      *2 Vacuum Switching Valve for Active Control Engine Mount
      *3 Engine Mounting Insulator
      *4 ECM
      *5 Air Cleaner
      *6 Vacuum Tank
      *7 to Intake Air Control Valve Actuator

    NG → REPAIR OR REPLACE VACUUM HOSES 

    OK: Go to next step 

  2. CHECK VACUUM 
    1. Start the engine.
      Fig 2: View Of Vacuum Hose
      GTY303844Courtesy of © TOYOTA, LICENSE AGREEMENT TMS1002
    2. Disconnect the vacuum hose from the air cleaner cap.
    3. Check that the disconnected port located on the vacuum tank applies suction to your finger.

      OK

      Vacuum exists.

    4. Reconnect the vacuum hose.

    NG → CHECK AND REPLACE VACUUM SOURCE AND HOSES 

    OK: Go to next step 

  3. INSPECT VACUUM SWITCHING VALVE FOR ACTIVE CONTROL ENGINE MOUNT (OPERATION) 
    1. Remove the vacuum switching valve for active control engine mount.
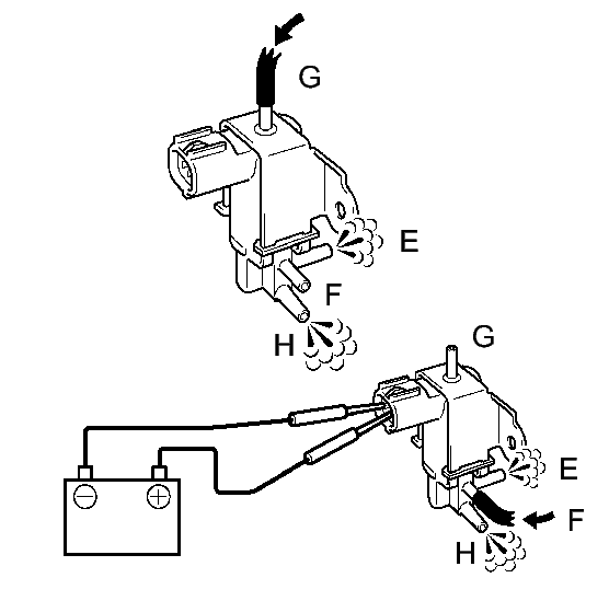
      Fig 3: Inspecting Duty Vacuum Switching Valve Operation
      GTY191104Courtesy of © TOYOTA, LICENSE AGREEMENT TMS1002
    2. Check operation of the vacuum switching valve for active control engine mount when battery voltage is applied to the terminals of the vacuum switching valve for active control engine mount connector.

      Battery voltage is not applied

      The air from pipe G flows out through pipes E and H.

      Battery voltage is applied

      The air from pipe F flows out through pipes E and H.

    3. Reinstall the vacuum switching valve for active control engine mount.

    NG → See step   8 

    OK: Go to next step 

  4. INSPECT VACUUM SWITCHING VALVE FOR ACTIVE CONTROL ENGINE MOUNT (RESISTANCE) 
    1. Disconnect the vacuum switching valve for active control engine mount connector.
      Fig 4: Vacuum Switching Valve For Active Control Engine Mount Connector
      GTY353053Courtesy of © TOYOTA, LICENSE AGREEMENT TMS1002
    2. Measure the resistance according to the value(s) in the table below.

      Standard Resistance

      Tester Connection Condition Specified Condition
      1 - 2 20°C (68°F) 19 to 21 Ω
      TEXT IN ILLUSTRATION

      *a Component without harness connected
      (Vacuum Switching Valve for Active Control Engine Mount)
    3. Reconnect the vacuum switching valve for active control engine mount connector.

    NG → See step   8 

    OK: Go to next step 

  5. INSPECT FRONT ENGINE MOUNTING INSULATOR 
    1. Disconnect the vacuum hose from the front engine mount insulator assembly.
      Fig 5: Inspecting Engine Mounting Insulator Assembly Front
      GTY121574Courtesy of © TOYOTA, LICENSE AGREEMENT TMS1002
    2. Using a vacuum pump, apply vacuum of 80 kPa (600 mmHg, 25 in.Hg) and wait for 1 minute.
    3. Check that there is no change in the needle movement of the vacuum pump gauge.
    4. Check that there is no fluid leakage caused by a break in the diaphragm.

      OK

      Vacuum does not leak.

    5. Reconnect the vacuum hose.

    NG → See step   9 

    OK: Go to next step 

  6. INSPECT VACUUM SWITCHING VALVE FOR ACTIVE CONTROL ENGINE MOUNT (POWER SOURCE VOLTAGE) 
    1. Disconnect the vacuum switching valve for active control engine mount connector.
      Fig 6: Vacuum Switching Valve For Active Control Engine Mount Connector
      GTY349218Courtesy of © TOYOTA, LICENSE AGREEMENT TMS1002
    2. Turn the engine switch on (IG).
    3. Measure the voltage according to the value(s) in the table below.

      Standard Voltage

      Tester Connection Switch Condition Specified Condition
      D4-1 - Body ground Engine switch on (IG) 11 to 14 V
      TEXT IN ILLUSTRATION

      *a Front view of wire harness connector
      (to Vacuum Switching Valve for Active Control Engine Mount)
    4. Reconnect the vacuum switching valve for active control engine mount connector.

    NG → REPAIR OR REPLACE HARNESS OR CONNECTOR (EFI NO. 2 FUSE - VACUUM SWITCHING VALVE) 

    OK: Go to next step 

  7. CHECK HARNESS AND CONNECTOR (VACUUM SWITCHING VALVE - ECM) 
    1. Disconnect the vacuum switching valve for active control engine mount connector.
    2. Disconnect the ECM connector.
    3. Measure the resistance according to the value(s) in the table below.

      Standard Resistance (Check for Open)

      Tester Connection Condition Specified Condition
      D4-2 - D1-83 (ACM) Always Below 1 Ω

      Standard Resistance (Check for Short)

      Tester Connection Condition Specified Condition
      D4-2 or D1-83 (ACM) - Body ground Always 10 kΩ or higher
    4. Reconnect the ECM connector.
    5. Reconnect the vacuum switching valve for active control engine mount connector.

    NG → REPAIR OR REPLACE HARNESS OR CONNECTOR (VACUUM SWITCHING VALVE - ECM) 

    OK → See step   10 

  8. REPLACE VACUUM SWITCHING VALVE FOR ACTIVE CONTROL ENGINE MOUNT. Refer to  REMOVAL 
  9. REPLACE FRONT ENGINE MOUNTING INSULATOR ASSEMBLY. Refer to  REMOVAL 
  10. REPLACE ECM. Refer to  REMOVAL