LEMON Manuals: Even more car manuals for everyone: 1960-2025
Home >> Lexus >> 2011 >> RX 350 FWD >> Repair and Diagnosis >> Brakes >> Traction Control >> Vehicle Stability Control System (Diagnostics - Introduction) >> Vehicle Stability Control System >> System Diagram >> System Diagram
April 5, 2026: LEMON Manuals is launched! Read the announcement.

System Diagram

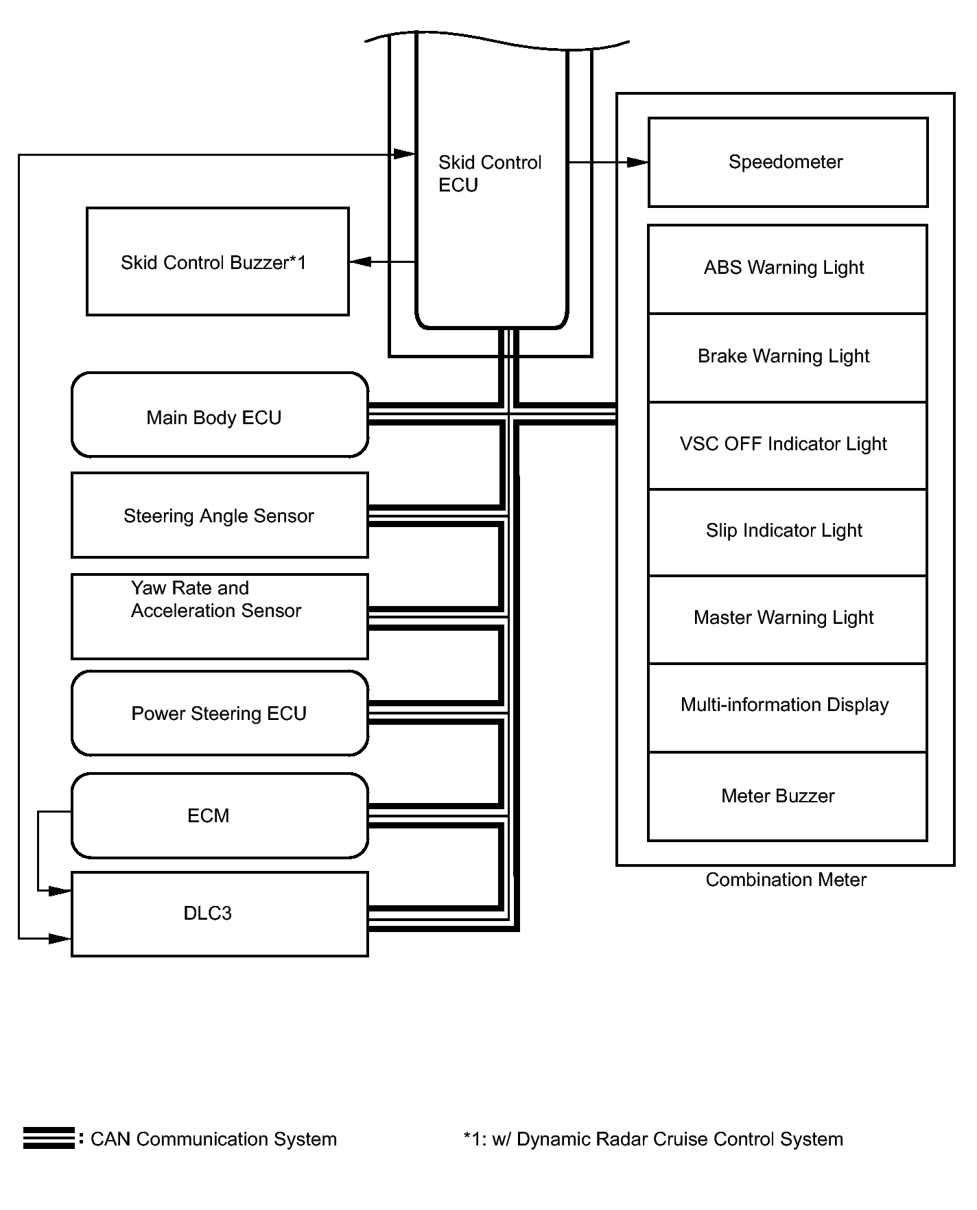
Fig 1: Identifying Vehicle Stability Control System Diagram (1 Of 2)
GTY260261Courtesy of © TOYOTA, LICENSE AGREEMENT TMS1002
Fig 2: Identifying Vehicle Stability Control System Diagram (2 Of 2)
GTY358040Courtesy of © TOYOTA, LICENSE AGREEMENT TMS1002
Transmitting ECU (Transmitter) Receiving ECU Signal Communication Method
Skid control ECU Steering angle sensor Steering angle sensor request signal CAN communication system
Steering angle sensor Skid control ECU Steering angle sensor signal CAN communication system
Skid control ECU Yaw rate and acceleration sensor Yaw rate and acceleration request signal CAN communication system
Yaw rate and acceleration sensor Skid control ECU Yaw rate and acceleration signal CAN communication system
Skid control ECU ECM
  • Wheel speed signal
  • VSC data signal
CAN communication system
ECM Skid control ECU
  • Shift position signal
  • Throttle position signal
  • Engine speed signal
  • Intake air temperature signal
  • Engine torque request signal
  • Accelerator pedal position signal
CAN communication system
Main body ECU Skid control ECU Parking brake switch signal CAN communication system
Skid control ECU Combination meter
  • ABS warning light signal
  • Brake warning light signal
  • VSC OFF indicator light signal
  • Slip indicator light signal
  • Master warning light signal
  • Multi-information display signal
  • Meter buzzer signal
  • Wheel speed signal
CAN communication system
Skid control ECU Power steering ECU
  • Target steering angle signal
  • Target relative angle signal
CAN communication system
Power steering ECU Skid control ECU Electronic power steering cooperative control enabling signal CAN communication system