LEMON Manuals: Even more car manuals for everyone: 1960-2025
Home >> Lexus >> 2011 >> RX 450h 3.5 B >> Repair and Diagnosis >> Engine Performance >> System >> Engine Control System (Diagnostic Codes (P0300-P1423) >> SFI System >> DTC P0403: Exhaust Gas Recirculation Control Circuit >> Procedure
April 5, 2026: LEMON Manuals is launched! Read the announcement.

DTC P0403: Exhaust Gas Recirculation Control Circuit: Procedure

  1. PERFORM ACTIVE TEST USING TECHSTREAM (CONTROL THE EGR STEP POSITION) 
    1. Connect the Techstream to the DLC3.
    2. Turn the power switch on (IG).
    3. Turn the Techstream on.
    4. Put the engine in inspection mode. Refer to INSPECTION MODE PROCEDURE .
    5. Start the engine and warm it up until the engine coolant temperature reaches 75°C (167°F) or more.

      HINT: 

      The A/C switch and all accessory switches should be off.

    6. Enter the following menus: Powertrain / Engine and ECT / Active Test / Control the EGR Step Position.
    7. Confirm the Throttle Idle Position is ON and check the engine idling condition and MAP values in the Data List while performing the Active Test.

      HINT: 

      • Do not leave the EGR valve open for 10 seconds or more during the Active Test.
      • Be sure to return the EGR valve to step 0 when Active Test is completed.

      OK

      MAP and idling condition change in response to EGR step position as follows.

      Standard

      - EGR Step Position (Active Test)
      0 Steps 0 to 30 Steps
      Idling condition Steady idling Idling changes from steady to rough idling or engine stall
      MAP
      (Data List)
      20 to 40 kPa (150 to 300 mmHg)
      (EGR valve is fully closed)
      MAP value is at least +10 kPa (75 mmHg) higher than when EGR valve is fully closed

      HINT: 

      During Active Test, if the idling condition does not change in response to EGR step position, then there is probably a malfunction in EGR valve.

      Result

      Result Proceed to
      Within standard range A
      Outside standard range B

    B → See step   2 

    A → See step   5 

  2. INSPECT EGR VALVE ASSEMBLY 
    Fig 1: EGR Valve Assembly Connector
    GTY359070Courtesy of © TOYOTA, LICENSE AGREEMENT TMS1002
    1. Disconnect the EGR valve assembly connector.
    2. Measure the resistance according to the value(s) in the table below.

      Standard Resistance

      Tester Connection Condition Specified Condition
      2 (+B1) - 1 (EGR4) 20°C (68°F) 18 to 22 Ω
      2 (+B1) - 3 (EGR2) 20°C (68°F) 18 to 22 Ω
      5 (+B2) - 4 (EGR1) 20°C (68°F) 18 to 22 Ω
      5 (+B2) - 6 (EGR3) 20°C (68°F) 18 to 22 Ω
      TEXT IN ILLUSTRATION

      *a Component without harness connected
      (EGR Valve Assembly)
    3. Reconnect the EGR valve assembly connector.

    NG → See step   6 

    OK: Go to next step 

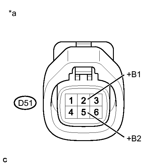
  3. INSPECT EGR VALVE ASSEMBLY (+B1 OR +B2 VOLTAGE) 
    Fig 2: EGR Valve Assembly Connector
    GTY356469Courtesy of © TOYOTA, LICENSE AGREEMENT TMS1002
    1. Disconnect the EGR valve assembly connector.
    2. Turn the power switch on (IG).
    3. Measure the voltage according to the value(s) in the table below.

      Standard Voltage

      Tester Connection Switch Condition Specified Condition
      D51-2 (+B1) - Body ground Power switch on (IG) 11 to 14 V
      D51-5 (+B2) - Body ground Power switch on (IG) 11 to 14 V
      TEXT IN ILLUSTRATION

      *a Front view of wire harness connector
      (to EGR Valve Assembly)
    4. Reconnect the EGR valve assembly connector.

    NG → REPAIR OR REPLACE HARNESS OR CONNECTOR (EGR VALVE ASSEMBLY - EFI MAIN RELAY) 

    OK: Go to next step 

  4. CHECK HARNESS AND CONNECTOR (ECM - EGR VALVE ASSEMBLY) 
    1. Disconnect the EGR valve assembly connector.
    2. Disconnect the ECM connector.
    3. Measure the resistance according to the value(s) in the table below.

      Standard Resistance (Check for Open)

      Tester Connection Condition Specified Condition
      D1-14 (EGR1) - D51-4 (EGR1) Always Below 1 Ω
      D1-13 (EGR2) - D51-3 (EGR2) Always Below 1 Ω
      D1-12 (EGR3) - D51-6 (EGR3) Always Below 1 Ω
      D1-15 (EGR4) - D51-1 (EGR4) Always Below 1 Ω

      Standard Resistance (Check for Short)

      Tester Connection Condition Specified Condition
      D1-14 (EGR1) or D51-4 (EGR1) - Body ground Always 10 kΩ or higher
      D1-13 (EGR2) or D51-3 (EGR2) - Body ground Always 10 kΩ or higher
      D1-12 (EGR3) or D51-6 (EGR3) - Body ground Always 10 kΩ or higher
      D1-15 (EGR4) or D51-1 (EGR4) - Body ground Always 10 kΩ or higher
    4. Reconnect the EGR valve assembly connector.
    5. Reconnect the ECM connector.

    NG → REPAIR OR REPLACE HARNESS OR CONNECTOR (ECM - EGR VALVE ASSEMBLY) 

    OK → See step   7 

  5. CHECK FOR INTERMITTENT PROBLEMS. Refer to  CHECK FOR INTERMITTENT PROBLEMS 
  6. REPLACE EGR VALVE ASSEMBLY. Refer to  REMOVAL 
  7. REPLACE ECM. Refer to  REMOVAL