LEMON Manuals: Even more car manuals for everyone: 1960-2025
Home >> Lexus >> 2011 >> RX 450h 3.5 C >> Repair and Diagnosis (Single Page) >> External Pages >> Different car >> Section 250 (Smart Access System With Push-Button Start (For Entry Function) (Diagnostic Codes & Symptom Tests)) >> SMART ACCESS SYSTEM WITH PUSH-BUTTON START (for Entry Function) >> Symptom Tests >> Room Oscillator does not Recognize Key >> Wiring Diagram
April 5, 2026: LEMON Manuals is launched! Read the announcement.

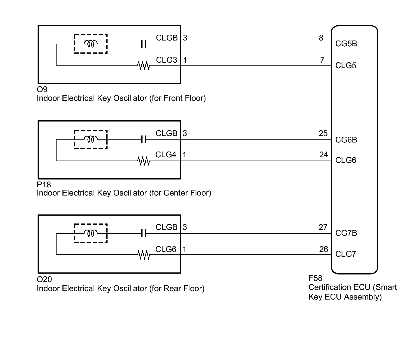
Room Oscillator does not Recognize Key: Wiring Diagram

WARNING: This page is about a different car, the 2011 Lexus RX 350. However, it is still accessible from the selected car via links, so may be relevant.
Fig 1: Identifying Room Oscillator Wiring Diagram
GTY359108Courtesy of © TOYOTA, LICENSE AGREEMENT TMS1002