LEMON Manuals: Even more car manuals for everyone: 1960-2025
Home >> Lexus >> 2012 >> GX 460 V8-4.6L (1UR-FE) >> Repair and Diagnosis >> Powertrain Management >> Computers and Control Systems >> Main Relay (Computer/Fuel System) >> Testing and Inspection
April 5, 2026: LEMON Manuals is launched! Read the announcement.

Main Relay (Computer/Fuel System): Testing and Inspection





1UR-FE ENGINE CONTROL: RELAY: ON-VEHICLE INSPECTION

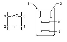
1. INSPECT CIRCUIT OPENING RELAY (C/OPN)

(a) Measure the resistance according to the value(s) in the table below.





Standard Resistance:





If the result is not as specified, replace the circuit opening relay.

2. INSPECT NO. 1 INTEGRATION RELAY (IG2)

(a) Check the IG2 fuse.

(1) Measure the resistance according to the value(s) in the table below.

Standard Resistance:





If the result is not as specified, replace the IG2 fuse.

(b) Check the IG2 relay.

(1) Measure the resistance according to the value(s) in the table below.





Standard Resistance:





Text in Illustration





If the result is not as specified, replace the No. 1 integration relay.

3. INSPECT NO. 1 INTEGRATION RELAY (EFI)

(a) Check the EFI fuse.

(1) Measure the resistance according to the value(s) in the table below.

Standard Resistance:





If the result is not as specified, replace the EFI fuse.

(b) Check the EFI relay.

(1) Measure the resistance according to the value(s) in the table below.





Standard Resistance:





Text in Illustration





If the result is not as specified, replace the No. 1 integration relay.

4. INSPECT NO. 1 INTEGRATION RELAY (A/F)

(a) Check the A/F fuse.

(1) Measure the resistance according to the value(s) in the table below.

Standard Resistance:





If the result is not as specified, replace the A/F fuse.

(b) Measure the resistance according to the value(s) in the table below.





Standard Resistance:





Text in Illustration





If the result is not as specified, replace the No. 1 integration relay.

5. INSPECT AIR INJECTION VSV RELAY (AI-VSV)

(a) Measure the resistance according to the value(s) in the table below.





Standard Resistance:





If the result is not as specified, replace the air injection VSV relay.

6. INSPECT FUEL PUMP RELAY (FUEL PMP)

(a) Measure the resistance according to the value(s) in the table below.





Standard Resistance:





If the result is not as specified, replace the fuel pump relay.

7. INSPECT STARTER RELAY (ST)

(a) Measure the resistance according to the value(s) in the table below.





Standard Resistance:





If the result is not as specified, replace the starter relay.

8. INSPECT MAIN BODY ECU (DRIVER SIDE JUNCTION BLOCK)

NOTICE:
The ACC relay and IG1 No. 1 relay are built into the main body ECU (driver side junction block).

(a) Inspect the ACC relay.

(1) Measure the resistance according to the value(s) in the table below.





Text in Illustration





Standard Resistance:





If the result is not as specified, replace the main body ECU.

(b) Inspect the IG1 No. 1 relay.

(1) Measure the resistance according to the value(s) in the table below.





Text in Illustration





Standard Resistance:





If the result is not as specified, replace the main body ECU.