LEMON Manuals: Even more car manuals for everyone: 1960-2025
Home >> Lexus >> 2012 >> GX 460 >> Repair and Diagnosis >> Transmission >> Transfer Case >> Transfer Case (Service Information) >> Transfer Assembly >> Disassembly >> Disassembly
April 5, 2026: LEMON Manuals is launched! Read the announcement.

Transfer Assembly: Disassembly: Disassembly

  1. REMOVE HOSE 
    1. Detach the clamp and remove the hose.
  2. REMOVE TRANSFER RH BEARING RETAINER SUB-ASSEMBLY 
    1. Remove the 5 bolts and bearing retainer.

      HINT: 

      If necessary, tap the bearing retainer with a plastic-faced hammer to remove it.

  3. REMOVE TRANSFER RH BEARING RETAINER OIL SEAL 
    1. Using a screwdriver and hammer, remove the oil seal from the bearing retainer.
  4. REMOVE TRANSFER CASE COVER SUB-ASSEMBLY 
    1. Remove the 4 bolts and case cover.
  5. REMOVE BREATHER OIL DEFLECTOR 
    1. Remove the oil deflector.
  6. REMOVE FRONT OUTPUT SHAFT COMPANION FLANGE SUB-ASSEMBLY 
    1. Using a chisel and hammer, loosen the staked part of the lock nut.
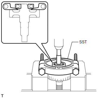
    2. Using SST to hold the companion flange, remove the lock nut.
      Fig 1: Using SST To Hold Output Shaft Companion Flange & Remove Output Shaft Companion Flange Lock Nut
      GTY154618Courtesy of © TOYOTA, LICENSE AGREEMENT TMS1002
      • SST: 09330-00021 
    3. Using SST, remove the companion flange.
      Fig 2: Using SST To Remove Companion Flange
      GTY282659Courtesy of © TOYOTA, LICENSE AGREEMENT TMS1002
      • SST: 09950-40011 
        1. 09951-04020
        2. 09952-04010
        3. 09953-04030
        4. 09954-04010
        5. 09955-04051
        6. 09957-04010
        7. 09958-04011
  7. REMOVE FRONT TRANSFER OUTPUT SHAFT COMPANION FLANGE OIL SEAL 
    1. Using a screwdriver and hammer, tap out the oil seal from the companion flange.
      NOTE:

      Be careful not to damage the oil seal and companion flange contact surfaces.

  8. REMOVE TRANSFER CASE FRONT OIL SEAL  See step  5
  9. REMOVE REAR OUTPUT SHAFT COMPANION FLANGE SUB-ASSEMBLY 
    1. Using a chisel and hammer, loosen the staked part of the lock nut.
    2. Using SST to hold the companion flange, remove the lock nut.
      Fig 3: Removing Lock Nut Using SST
      GTY216448Courtesy of © TOYOTA, LICENSE AGREEMENT TMS1002
      • SST: 09330-00021 
    3. Using SST, remove the companion flange.
      Fig 4: Using SST To Remove Companion Flange
      GTY225673Courtesy of © TOYOTA, LICENSE AGREEMENT TMS1002
      • SST: 09950-40011 
        1. 09951-04020
        2. 09952-04010
        3. 09953-04030
        4. 09954-04010
        5. 09955-04051
        6. 09957-04010
        7. 09958-04011
  10. REMOVE REAR TRANSFER OUTPUT SHAFT COMPANION FLANGE OIL SEAL 
    1. Using a screwdriver and hammer, tap out the oil seal from the companion flange.
      NOTE:

      Be careful not to damage the oil seal and companion flange contact surfaces.

  11. REMOVE TRANSFER CASE REAR OIL SEAL  See step  5
  12. REMOVE TRANSFER EXTENSION HOUSING SUB-ASSEMBLY 
    1. Remove the 5 bolts and extension housing.

      HINT: 

      If necessary, tap the extension housing with a plastic-faced hammer to remove it.

  13. REMOVE TRANSFER OUTPUT SHAFT WASHER 
    1. Remove the 2 washers.
  14. REMOVE COLLAR 
    1. Remove the collar.
  15. REMOVE REAR TRANSFER CASE 
    1. Remove the 12 bolts and clamp.
    2. Remove the rear transfer case.

      HINT: 

      If necessary, tap the rear transfer case with a plastic-faced hammer to remove it.

  16. REMOVE NO. 2 TRANSFER GEAR SHIFT FORK SUB-ASSEMBLY WITH TRANSFER HIGH AND LOW CLUTCH SLEEVE 
    1. Remove the bolt, No. 2 gear shift fork, and high and low clutch sleeve.
      Fig 5: Removing No. 2 Transfer Gear Shift Fork Sub-Assembly
      GTY247624Courtesy of © TOYOTA, LICENSE AGREEMENT TMS1002
  17. REMOVE CENTER DIFFERENTIAL LOCK FORK SUB-ASSEMBLY WITH FRONT DRIVE CLUTCH SLEEVE 
    1. Using 2 screwdrivers and a hammer, tap off the snap ring.
      Fig 6: Tapping Out Snap Ring
      GTY247630Courtesy of © TOYOTA, LICENSE AGREEMENT TMS1002
    2. Remove the bolt, center differential lock fork and front drive clutch sleeve.
      Fig 7: Locating Center Differential Lock Bolt
      GTY247631Courtesy of © TOYOTA, LICENSE AGREEMENT TMS1002
  18. REMOVE REAR OUTPUT SHAFT SUB-ASSEMBLY, FRONT DRIVE CHAIN AND DRIVEN SPROCKET SUB-ASSEMBLY 
    1. Mount the rear transfer case in a vise.
    2. Using a snap ring expander, remove the snap ring.
    3. Using a plastic-faced hammer, carefully tap the rear transfer case, and remove the rear output shaft together with the front drive chain and driven sprocket.
    4. Remove the rear output shaft, front drive chain and driven sprocket.
  19. REMOVE TRANSFER DRIVEN SPROCKET BEARING 
    1. Using SST and a press, remove the driven sprocket bearing.
      • SST: 09555-55010 
      Fig 8: Removing Transfer Driven Sprocket Bearing Using SST
      GTY277158Courtesy of © TOYOTA, LICENSE AGREEMENT TMS1002
      NOTE:

      Be careful not to drop or damage the driven sprocket.

  20. REMOVE TRANSFER INPUT GEAR RADIAL BALL BEARING 
    1. Using SST and a press, remove the transfer input gear radial ball bearing.
      • SST: 09555-55010 
      Fig 9: Removing Transfer Input Gear Radial Ball Bearing Using SST
      GTY270536Courtesy of © TOYOTA, LICENSE AGREEMENT TMS1002
      NOTE:

      Be careful not to drop or damage the driven sprocket.

  21. REMOVE TRANSFER SHIFT ACTUATOR ASSEMBLY 
    1. Using 2 screwdrivers and a hammer, tap off the 2 snap rings.
      Fig 10: Tapping Out Snap Rings
      GTY224087Courtesy of © TOYOTA, LICENSE AGREEMENT TMS1002
    2. Remove the 3 bolts and transfer shift actuator.
  22. REMOVE FILLER PLUG 
    1. Remove the filler plug and gasket.
  23. REMOVE DRAIN PLUG 
    1. Remove the drain plug and gasket.
  24. REMOVE TRANSFER OIL SEPARATOR SUB-ASSEMBLY 
    1. Remove the 3 bolts and oil separator.
  25. REMOVE TRANSFER CASE MAGNET 
  26. REMOVE TRANSFER OIL PUMP BODY SUB-ASSEMBLY 
    1. Remove the 3 bolts and oil pump body.
  27. REMOVE TRANSFER OIL PUMP BODY O-RING 
    Fig 11: Using Screwdriver To Remove Oil Pump Body O-Ring
    GTY154636Courtesy of © TOYOTA, LICENSE AGREEMENT TMS1002
    1. Using a screwdriver, remove the oil pump body O-ring.
      NOTE:

      Be careful not to damage the oil pump body.

  28. REMOVE TRANSFER OIL PUMP GEAR 
    1. Remove the transfer oil pump gear.
  29. REMOVE LOW PLANETARY GEAR ASSEMBLY WITH TRANSFER INPUT SHAFT SUB-ASSEMBLY 
    1. Using a snap ring expander, remove the snap ring.
      Fig 12: Using Snap Ring Expander To Install Shaft Snap Ring
      GTY143364Courtesy of © TOYOTA, LICENSE AGREEMENT TMS1002
    2. Remove the low planetary gear together with the input shaft.
  30. REMOVE TRANSFER OUTPUT SHAFT SPACER 
    1. Remove the transfer output shaft spacer.
  31. REMOVE TRANSFER OUTPUT SHAFT FRONT NEEDLE ROLLER BEARING 
    1. Remove the needle roller bearing.
  32. REMOVE TRANSFER INPUT GEAR STOPPER SHAFT SNAP RING 
    1. Using a snap ring expander, remove the snap ring.
      Fig 13: Using Snap Ring Expander To Remove Input Gear Stopper Shaft Snap Ring
      GTY134087Courtesy of © TOYOTA, LICENSE AGREEMENT TMS1002
  33. REMOVE TRANSFER INPUT GEAR STOPPER 
    1. Remove the input gear stopper.
  34. REMOVE TRANSFER INPUT GEAR STOPPER BALL 
    1. Remove the ball.
  35. REMOVE MANUAL TRANSFER PLANETARY CARRIER WASHER 
    1. Remove the washer.
  36. REMOVE TRANSFER INPUT SHAFT 
    1. Remove the transfer input shaft.
  37. REMOVE NO. 1 TRANSFER THRUST BEARING RACE 
    1. Remove the thrust bearing race.
  38. REMOVE TRANSFER LOW PLANETARY GEAR THRUST BEARING 
    1. Remove the bearing.
  39. REMOVE NO. 1 TRANSFER INPUT SHAFT SEAL RING 
    1. Remove the 2 seal rings.
      Fig 14: Locating No. 1 Transfer Input Shaft Seal Ring
      GTY224010Courtesy of © TOYOTA, LICENSE AGREEMENT TMS1002
  40. REMOVE TRANSFER INPUT SHAFT BEARING 
    1. Using a snap ring expander, remove the snap ring.
    2. Using SST and a press, remove the input shaft bearing.
      Fig 15: Identifying SST & Input Shaft Bearing
      GTY277611Courtesy of © TOYOTA, LICENSE AGREEMENT TMS1002
      • SST: 09555-55010 
      • SST: 09950-70010 
        1. 09951-07150
      • SST: 09950-60020 
        1. 09951-00750
      NOTE:

      Be careful not to drop or damage the low planetary gear.

  41. REMOVE TRANSFER LOW PLANETARY GEAR SPLINE PIECE 
    1. Using a screwdriver, remove the snap ring.
      Fig 16: Using Screwdriver To Remove Spline Piece, Low Planetary & With Snap Ring
      GTY154652Courtesy of © TOYOTA, LICENSE AGREEMENT TMS1002
    2. Remove the low planetary gear spline piece.
  42. REMOVE TRANSFER LOW PLANETARY GEAR BEARING 
    1. Using SST, remove the low planetary gear bearing.
      Fig 17: Removing Transfer Low Planetary Gear Bearing Using SST
      GTY229758Courtesy of © TOYOTA, LICENSE AGREEMENT TMS1002
      • SST: 09612-65014 
        1. 09612-01030
        2. 09612-01050
      NOTE:

      Make sure SST fits securely in the space between the bearing and low planetary gear.

  43. REMOVE NO. 2 TRANSFER OUTPUT SHAFT SPACER 
    1. Using a snap ring expander, remove the snap ring.
    2. Remove the spacer.
  44. REMOVE TRANSFER OUTPUT SHAFT SPACER BALL 
    1. Remove the ball.
  45. REMOVE CENTER DIFFERENTIAL CASE 
    1. Remove the center differential case.
  46. REMOVE TRANSFER CLUTCH HUB 
    1. Remove the transfer clutch hub.
  47. REMOVE TRANSFER OUTPUT SHAFT FRONT NEEDLE ROLLER BEARING 
    1. Remove the needle roller bearing.
  48. REMOVE TRANSFER OUTPUT SHAFT PLATE WASHER 
    1. Remove the washer.
  49. REMOVE REAR TRANSFER OUTPUT SHAFT RADIAL BALL BEARING 
    1. Using SST and a press, remove the bearing.
      Fig 18: Removing Rear Transfer Output Shaft Radial Ball Bearing Using SST
      GTY217382Courtesy of © TOYOTA, LICENSE AGREEMENT TMS1002
      • SST: 09555-55010 
  50. REMOVE NO. 1 TRANSFER OUTPUT SHAFT SPACER 
    1. Remove the output shaft spacer.
  51. REMOVE TRANSFER DRIVE SPROCKET SUB-ASSEMBLY 
    1. Remove the transfer drive sprocket.
  52. REMOVE TRANSFER DRIVE SPROCKET BEARING 
    1. Remove the bearing.
  53. REMOVE TRANSFER OUTPUT SHAFT PLATE WASHER 
    1. Remove the washer.
  54. REMOVE TRANSFER CASE PLUG 
    1. Remove the transfer case plug.
  55. REMOVE COMPRESSION SPRING 
    1. Remove the spring.
  56. REMOVE PIN 
    1. Remove the pin.
  57. REMOVE TRANSFER LOW PLANETARY RING GEAR 
    1. Using a screwdriver, remove the snap ring.
      Fig 19: Using Screwdriver To Install Snap Ring
      GTY154632Courtesy of © TOYOTA, LICENSE AGREEMENT TMS1002
    2. Remove the low planetary ring gear from the front transfer case.