LEMON Manuals: Even more car manuals for everyone: 1960-2025
Home >> Lexus >> 2012 >> HS 250h >> Repair and Diagnosis (Single Page) >> Engine Performance >> Fuel Delivery >> Fuel System (Inspection) >> Fuel System >> Precaution >> Precaution
April 5, 2026: LEMON Manuals is launched! Read the announcement.

Fuel System: Precaution: Precaution

  1. PRECAUTIONS 
    1. Before inspecting and repairing the fuel system, disconnect the cable from the negative (-) battery terminal.
    2. Do not smoke or work near fire when handling the fuel system.
    3. Keep gasoline away from rubber or leather parts.
  2. DISCHARGE FUEL SYSTEM PRESSURE 
    WARNING:
    • Perform the following procedure to prevent fuel from spilling out before removing any fuel system parts.
    • Pressure will still remain in the fuel lines even after performing the following procedure. When disconnecting a fuel line, cover it with a piece of cloth to prevent fuel from spraying or coming out.
    1. Remove the rear seat cushion assembly. Refer to REMOVAL - Step 1 .
    2. Remove the rear floor service hole cover.
      Fig 1: Identifying Rear Floor Service Hole Cover
      GTY217927Courtesy of © TOYOTA, LICENSE AGREEMENT TMS1002
    3. Disconnect the fuel pump connector.
      Fig 2: Identifying Fuel Suction Tube Assembly & Connector
      GTY274019Courtesy of © TOYOTA, LICENSE AGREEMENT TMS1002
    4. Connect the Techstream to the DLC3.
    5. Put the engine in the "inspection mode". Refer to INSPECTION MODE PROCEDURE .
    6. Start the engine.
    7. After the engine has stopped on its own, turn the power switch off.

      HINT: 

      DTCs P0171/25 may be detected.

    8. Crank the engine again and make sure that the engine does not start.
    9. Disconnect the cable from the negative (-) battery terminal.
    10. Connect the fuel pump connector.
    11. Loosen the fuel tank cap, then discharge the pressure in the fuel tank completely.
  3. FUEL LINE 
    1. When disconnecting a high-pressure fuel line, a large amount of gasoline will spray out. Perform the following procedure:
      1. Discharge fuel system pressure.
      2. Disconnect the fuel tube.
      3. Drain the fuel remaining inside the fuel pump tube into a container.
      4. Cover the disconnected pipe and connector with a plastic bag to prevent damage and contamination.
    2. Perform the following procedure when disconnecting a fuel delivery pipe (metallic type):
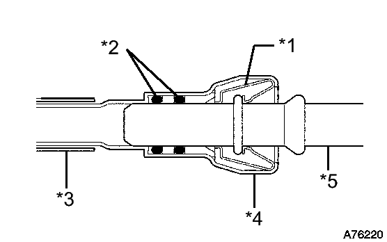
      Fig 3: Identifying Fuel Delivery Pipe Components (Metallic Type)
      GTY236721Courtesy of © TOYOTA, LICENSE AGREEMENT TMS1002
      TEXT IN ILLUSTRATION

      *1 Retainer
      *2 O-ring
      *3 Nylon Tube
      *4 Housing
      *5 Pipe

      HINT: 

      The structure of a fuel tube connector is as shown.

      1. Check if there is any damage or foreign objects on the pipe connections.
      2. Remove the No. 2 fuel pipe clamp.
        Fig 4: Identifying No. 2 Fuel Pipe Clamp
        GTY266137Courtesy of © TOYOTA, LICENSE AGREEMENT TMS1002
        TEXT IN ILLUSTRATION

        *1 No. 2 Fuel Pipe Clamp
        *a Type A
        *b Type B
        NOTE: Do not reuse the fuel pipe clamp.
      3. Find the metallic connector of the fuel tube assembly.
      4. Assemble SST to the connector as shown.
        Fig 5: Assembling SST To Connector
        GTY217223Courtesy of © TOYOTA, LICENSE AGREEMENT TMS1002
        • SST: 09268-21011 
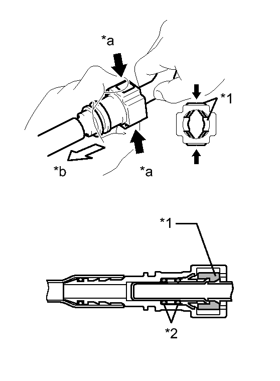
      5. Turn SST, align the retainers inside the connector with the SST chamfers and insert SST into the connector.
        Fig 6: Aligning Retainers Inside Connector With SST Chamfers And Insert SST Into Connector
        GTY286334Courtesy of © TOYOTA, LICENSE AGREEMENT TMS1002
        TEXT IN ILLUSTRATION

        *1 Retainer (4 places)
        *a Turn
        *b Push
      6. Slide SST and the connector together toward the fuel tube assembly.
    3. Perform the following procedure when connecting a fuel tube connector (metallic type):
      1. Check if there is any damage or foreign objects on the pipe connections.
      2. Match the axis of the connector with the axis of the pipe, and push the pipe into the connector until the connector makes a "click" sound. If the pipe is difficult to push into the connector, apply a small amount of clean engine oil to the tip of the pipe.
        Fig 7: Checking Damage Or Foreign Objects On Pipe Connections
        GTY254655Courtesy of © TOYOTA, LICENSE AGREEMENT TMS1002
        TEXT IN ILLUSTRATION

        *a Push
        *b Pull
      3. After connecting, check if the pipe and the connector are securely connected by pulling on them.
      4. Install a new No. 2 fuel pipe clamp.
        Fig 8: Identifying New No. 2 Fuel Pipe Clamp
        GTY284307Courtesy of © TOYOTA, LICENSE AGREEMENT TMS1002
        TEXT IN ILLUSTRATION

        *1 No. 2 Fuel Pipe Clamp
        *a Type A
        *b Type B
      5. Check for fuel leaks.
    4. Perform the following procedure when disconnecting a fuel tube connector (quick type A):
      1. Release the claw and remove the No. 1 fuel pipe clamp.
        Fig 9: Releasing Claw And Identifying No. 1 Fuel Pipe Clamp
        GTY286237Courtesy of © TOYOTA, LICENSE AGREEMENT TMS1002
      2. Check that there is no dirt or other foreign objects on the pipe and contact surface before disconnecting them. Clean them if necessary.
      3. Disconnect the connector from the pipe by hand.
        NOTE: Be sure to disconnect the connector by hand.
      4. If the connector and the pipe are stuck, push in and pull on the connector to release them. Pull the connector out of the pipe carefully.
        Fig 10: Push In And Pull On Connector
        GTY257772Courtesy of © TOYOTA, LICENSE AGREEMENT TMS1002
        TEXT IN ILLUSTRATION

        *1 Retainer
        *2 O-ring
        *a Pinch
        *b Pull Out
      5. Check that there is no dirt or other foreign objects on the contact surface of the disconnected pipe. Clean them away if necessary.
      6. Cover the disconnected pipe and connector with a plastic bag to prevent damage and contamination.
    5. Perform the following procedure when connecting a fuel tube connector (quick type A):
      1. Check if there is any damage or foreign objects on the pipe connections.
        Fig 11: Checking That Fuel Pipe Is Secure
        GTY258855Courtesy of © TOYOTA, LICENSE AGREEMENT TMS1002
        TEXT IN ILLUSTRATION

        *a Push
        *b Pull
      2. Line up the two parts of the pipes to be connected, and push them together until the connector makes a "click" sound. If the pipe is difficult to push into the connector, apply a small amount of clean engine oil to the tip of the pipe and reinsert it.
      3. After connecting the pipes, check that the pipe and connector are securely connected by pulling on them.
      4. Inspect for fuel leaks. See step  1.
      5. Engage the lock claw and install the No. 1 fuel pipe clamp.
        Fig 12: Releasing Claw And Identifying No. 1 Fuel Pipe Clamp
        GTY286237Courtesy of © TOYOTA, LICENSE AGREEMENT TMS1002
    6. Perform the following procedure when disconnecting a fuel tube connector (quick type B):
      Fig 13: Identifying Fuel Tube Connector (Quick Type B)
      GTY226851Courtesy of © TOYOTA, LICENSE AGREEMENT TMS1002
      TEXT IN ILLUSTRATION

      *1 Retainer
      1. Check that there is no damage or foreign matter on the part of the pipe that contacts the connector.
      2. Detach the 2 claws of the connector retainer. Push down on the connector and disconnect it from the pipe.

        HINT: 

        Be sure to disconnect it by hand.

      3. If the connector and pipe are stuck, pinch the fuel pipe by hand and push or pull the connector to disconnect it.
        Fig 14: Disconnecting Stuck Pipe & Connector
        GTY104528Courtesy of © TOYOTA, LICENSE AGREEMENT TMS1002
      4. Check for foreign matter on the seal surface of the disconnected pipe. Clean it if necessary.
      5. Cover the disconnected pipe and connector with a plastic bag to prevent damage and contamination.
    7. Perform the following procedure when connecting a fuel tube connector (quick type B):
      1. Line up the two parts of the pipes to be connected, and fully push the fuel tube connector and pipe together until they are fully seated. Next, push the retainer into the connector until its claws lock. If the pipe is difficult to push into the connector, apply a small amount of clean engine oil to the tip of the pipe and reinsert it.
        Fig 15: Pushing Fuel Tube Connector And Pipe
        GTY101237Courtesy of © TOYOTA, LICENSE AGREEMENT TMS1002
      2. After connecting the pipes, check that the pipe and connector are securely connected by pulling on them.
      3. Inspect for fuel leaks. See step  1.
    8. Observe the following precautions when handling a nylon tube:
      NOTE:
      • Do not twist the connector parts of the nylon tube or the quick connector when connecting them.
      • Do not bend or twist the nylon tube.
      • Do not remove the EPDM protector on the outside of the nylon tube.
      • Do not pinch or kink the nylon tubes to prevent fuel leakage.
  4. INJECTOR 
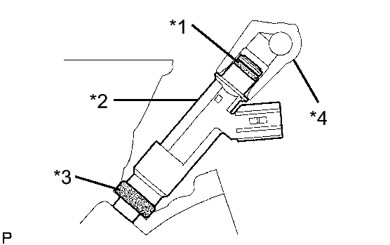
    1. Observe the following precautions when removing and installing a fuel injector:
      Fig 16: Identifying Fuel Injector
      GTY276886Courtesy of © TOYOTA, LICENSE AGREEMENT TMS1002
      TEXT IN ILLUSTRATION

      *1 O-ring
      *2 Delivery Pipe
      *a CORRECT
      *b INCORRECT
      1. Do not reuse an O-ring and insulator.
      2. When placing a new O-ring onto the injector, do not damage the O-ring.
      3. Coat the new O-ring with grease or gasoline before installing it. Do not use engine oil, gear oil or brake fluid.
    2. Install the injector into the delivery pipe and cylinder head as shown. Apply grease or gasoline to the contact surfaces of the injector before installing the injector.
      Fig 17: Identifying O-Ring, Fuel Injector, Insulator And Fuel Delivery Pipe
      GTY281585Courtesy of © TOYOTA, LICENSE AGREEMENT TMS1002
      TEXT IN ILLUSTRATION

      *1 O-ring
      *2 Fuel Injector
      *3 Insulator
      *4 Fuel Delivery Pipe
  5. FUEL SUCTION TUBE ASSEMBLY WITH PUMP AND GAUGE 
    1. Do not disconnect the tube shown when disassembling the fuel suction tube assembly with pump and gauge. Doing so will cause reassembly of the fuel suction tube assembly with pump and gauge to be impossible as the tube is welded to the plate.
      Fig 18: Identifying Fuel Suction Tube
      GTY284720Courtesy of © TOYOTA, LICENSE AGREEMENT TMS1002
      TEXT IN ILLUSTRATION

      *1 Tube
  6. INSPECT FOR FUEL LEAK 
    1. Check that there is no fuel leakage after performing maintenance anywhere on the fuel system. See step  1.