LEMON Manuals: Even more car manuals for everyone: 1960-2025
Home >> Lexus >> 2012 >> HS 250h >> Repair and Diagnosis >> Electrical >> Starter >> Smart Access System (For Start Function) (Diagnostic Codes & Symptom Tests) >> SMART ACCESS SYSTEM WITH PUSH-BUTTON START (For Start Function) >> Symptom Tests >> Power Source Mode does not Change to ON (IG and ACC) >> Procedure
April 5, 2026: LEMON Manuals is launched! Read the announcement.

Power Source Mode does not Change to ON (IG and ACC): Procedure

  1. CHECK HARNESS AND CONNECTOR (AUXILIARY BATTERY - POWER MANAGEMENT CONTROL ECU) See step   1 

    NG → REPAIR OR REPLACE HARNESS OR CONNECTOR (AUXILIARY BATTERY - POWER MANAGEMENT CONTROL ECU) 

    OK: Go to next step 

  2. CHECK HARNESS AND CONNECTOR (POWER MANAGEMENT CONTROL ECU - BODY GROUND) See step   2 

    NG → REPAIR OR REPLACE HARNESS OR CONNECTOR (POWER MANAGEMENT CONTROL ECU - BODY GROUND) 

    OK: Go to next step 

  3. READ VALUE USING TECHSTREAM 
    1. Reconnect the F52 connector to the power management control ECU.
    2. Turn the power switch off.
    3. Connect the Techstream to the DLC3.
    4. Turn the Techstream on.
    5. Turn on and off any of the door courtesy light switches repeatedly at 1.5-second intervals or less until communication between the Techstream and vehicle starts.
    6. Enter the following menus: Body Electrical/Power Source Control/Data List.
    7. Read the Data List according to the display on the Techstream.
      POWER SOURCE CONTROL

      Tester Display Measurement Item/Range Normal Condition Diagnostic Note
      Key Certification Waiting Timed Out Key certification error detection/ No or Yes No: Key certification error not detected
      Yes: Key certification error detected
      -

      OK

      When more than 1 second elapses after the power switch is turned from off to on (IG), No is displayed in the Data List.

    NG → See step   9 

    OK: Go to next step 

  4. READ VALUE USING TECHSTREAM 
    1. Read the Data List according to the display on the Techstream.
      POWER SOURCE CONTROL

      Tester Display Measurement Item/Range Normal Condition Diagnostic Note
      Start Switch1 Start switch 1/ON or OFF ON: Power switch pushed
      OFF: Power switch not pushed
      -
      Start Switch2 Start switch 2/ON or OFF ON: Power switch pushed
      OFF: Power switch not pushed
      -

      OK

      ON (power switch is pushed) and OFF (power switch is not pushed) appear on the screen.

    NG → See step   7 

    OK: Go to next step 

  5. CHECK POWER MANAGEMENT CONTROL ECU 
    1. Read the Data List according to the display on the Techstream.
      POWER SOURCE CONTROL

      Tester Display Measurement Item/Range Normal Condition Diagnostic Note
      Power Supply Condition Power supply condition/All OFF, ACC ON, IG1 ON, IG2 ON, ST ON ALL OFF: All relays off
      ACC ON: ACC relay on
      IG1 ON: IG1 relay on
      IG2 ON: IG2 relay on
      ST ON: ST request signal on
      -
    2. Measure the voltage while checking the Data List on the Techstream.
      Fig 1: Identifying F51 And F52 Connector Terminals
      GTY261617Courtesy of © TOYOTA, LICENSE AGREEMENT TMS1002

      Standard Voltage

      Tester Connection Condition Specified Condition
      F52-20 (IG1D) - Body ground Power switch off Below 1 V
      F52-20 (IG1D) - Body ground Power switch on (ACC) Below 1 V
      F52-20 (IG1D) - Body ground Power switch on (IG) Output voltage at terminal AM21 or AM22 is -2 V or more
      F51-8 (IG2D) - Body ground Power switch off Below 1 V
      F51-8 (IG2D) - Body ground Power switch on (ACC) Below 1 V
      F51-8 (IG2D) - Body ground Power switch on (IG) Output voltage at terminal AM21 or AM22 is -2 V or more
      F52-19 (ACCD) - Body ground Power switch off Below 1 V
      F52-19 (ACCD) - Body ground Power switch on (IG) Output voltage at terminal AM21 or AM22 is -2 V or more
      F52-19 (ACCD) - Body ground Power switch on (ACC) Output voltage at terminal AM21 or AM22 is -2 V or more
      TEXT IN ILLUSTRATION

      *1 Component with harness connected
      (Power Management Control ECU)

    NG → See step   10 

    OK: Go to next step 

  6. CONFIRMATION TEST 
    1. Check that the power source mode becomes on (ACC) and on (IG) when the power switch is operated.

      OK

      Power source mode becomes on (ACC) and on (IG) when the power switch is operated.

    NG → CHECK RELAY CONTACT SIDE CIRCUIT 

    OK → See step   13 

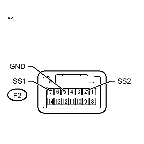
  7. CHECK POWER SWITCH 
    1. Remove the power switch. Refer to REMOVAL .
      Fig 2: Identifying Power Switch
      GTY259270Courtesy of © TOYOTA, LICENSE AGREEMENT TMS1002
    2. Measure the resistance according to the value(s) in the table below.

      Standard Resistance

      Tester Connection Condition Specified Condition
      F2-7 (SS1) - F2-5 (GND) Pushed Below 1 Ω
      F2-7 (SS1) - F2-5 (GND) Not pushed 10 kΩ or higher
      F2-2 (SS2) - F2-5 (GND) Pushed Below 1 Ω
      F2-2 (SS2) - F2-5 (GND) Not pushed 10 kΩ or higher
      TEXT IN ILLUSTRATION

      *1 Component without harness connected
      (Power Switch)

    NG → See step   11 

    OK: Go to next step 

  8. CHECK HARNESS AND CONNECTOR (POWER SWITCH - POWER MANAGEMENT CONTROL ECU AND BODY GROUND) 
    1. Disconnect the F52 connector from the power management control ECU.
    2. Measure the resistance according to the value(s) in the table below.

      Standard Resistance

      Tester Connection Condition Specified Condition
      F52-17 (SSW2) - F2-2 (SS2) Always Below 1 Ω
      F52-18 (SSW1) - F2-7 (SS1) Always Below 1 Ω
      F52-17 (SSW2) - Body ground Always 10 kΩ or higher
      F52-18 (SSW1) - Body ground Always 10 kΩ or higher

    NG → REPAIR OR REPLACE HARNESS OR CONNECTOR (POWER SWITCH - POWER MANAGEMENT CONTROL ECU OR BODY GROUND) 

    OK → See step   12 

  9. CHECK FOR DTC 
    1. Enter the following menus: Body Electrical/Power Source Control and Smart Access/DTC.
    2. Check for DTCs.

      Result

      Result Proceed to
      The following DTCs are not output:
      • B2785
      • B2287
      • B2784
      A
      DTC B2785 is not output but DTC B2287 is output. B
      DTCs other than B2287 are output. C

    A → See step   14 

    B → See step   15 

    C → GO TO DIAGNOSTIC TROUBLE CODE TABLE 

  10. REPLACE POWER MANAGEMENT CONTROL ECU. Refer to  REMOVAL 
  11. REPLACE POWER SWITCH. Refer to  REMOVAL 
  12. REPLACE POWER MANAGEMENT CONTROL ECU. Refer to  REMOVAL 
  13. USE SIMULATION METHOD TO CHECK. Refer to  HOW TO PROCEED WITH TROUBLESHOOTING 
  14. GO TO OTHER FLOW CHART (Room Oscillator does not Recognize Key). Refer to  Room Oscillator does not Recognize Key 
  15. GO TO OTHER FLOW CHART. Refer to  DTC B2287: LIN Communication Master Malfunction