LEMON Manuals: Even more car manuals for everyone: 1960-2025
Home >> Lexus >> 2012 >> IS 250 Base, RWD, Standard >> Repair and Diagnosis >> Engine Performance >> System >> Engine Control System (Diagnostics - Introduction) >> SFI System >> Terminals Of ECM >> Terminals Of ECM
April 5, 2026: LEMON Manuals is launched! Read the announcement.

Terminals Of ECM

Fig 1: ECM Connector Terminal Identification
GTY145277Courtesy of © TOYOTA, LICENSE AGREEMENT TMS1002

HINT: 

The standard normal voltage between each pair of the ECM terminals is shown in the table below. The appropriate conditions for checking each pair of the terminals are also indicated. The result of checks should be compared with the standard normal voltage for that pair of terminals, displayed in the Specified Condition column. The illustration above can be used as a reference to identify the ECM terminal locations.

Symbols (Terminal No.) Wiring Color Terminal Description Condition Specified Condition
A5-4 (BATT) - E4-7 (E1) L - BR Battery (for measuring battery voltage and for ECM memory) Always 11 to 14 V
E3-5 (+BM) - E4-7 (E1) P - BR Power source of throttle motor Always 11 to 14 V
A5-17 (IGSW) - E4-7 (E1) B-W - BR Engine switch Engine switch on (IG) 11 to 14 V
A5-6 (+B) - E4-7 (E1) B-R - BR Power source of ECM Engine switch on (IG) 11 to 14 V
A5-5 (+B1) - E4-7 (E1) B-R - BR Power source of ECM Engine switch on (IG) 11 to 14 V
E3-34 (OC1+) - E3-33 (OC1-) W - L Camshaft timing oil control valve (OCV) (Intake side (bank 1)) Idling Pulse generation
(see waveform 1)
E5-9 (OC2+) - E5-8 (OC2-) P - R Camshaft timing oil control valve (OCV) (Intake side (bank 2)) Idling Pulse generation
(see waveform 1)
E3-9 (OE1+) - E3-8 (OE1-) R - Y Camshaft timing oil control valve (OCV) (Exhaust side (bank 1)) Idling Pulse generation
(see waveform 1)
E5-24 (OE2+) - E5-23 (OE2-) W - R Camshaft timing oil control valve (OCV) (Exhaust side (bank 2)) Idling Pulse generation
(see waveform 1)
A5-13 (MREL) - E4-7 (E1) Y - BR EFI MAIN relay Engine switch on (IG) 11 to 14 V
A6-10 (IREL) - E4-7 (E1) B - BR INJ relay Engine switch on (IG) 11 to 14 V
E3-29 (VC) - E3-28 (E2) LG - BR Power source for sensors (specific voltage) Engine switch on (IG) 4.5 to 5.0 V
E5-29 (VC2) - E5-30 (E3) L - BR Power source for sensors (specific voltage) Engine switch on (IG) 4.5 to 5.0 V
E5-27 (VG) - E5-26 (E2G) G - V Mass air flow meter Idling, Shift lever position neutral, A/C switch OFF 0.5 to 3.0 V
E5-25 (THA) - E5-30 (E3) L - BR Intake air temperature sensor Idling, Intake air temperature 20°C (68°F) 0.5 to 3.4 V
E5-20 (THW) - E3-28 (E2) Y - BR Engine coolant temperature sensor Idling, Engine coolant temperature 80°C (176°F) 0.2 to 1.0 V
E3-23 (VTA1) - E5-30 (E3) LG - BR Throttle position sensor (for engine control) Accelerator pedal fully released 0.5 to 1.1 V
E3-23 (VTA1) - E5-30 (E3) LG - BR Throttle position sensor (for engine control) Accelerator pedal fully depressed 3.2 to 4.8 V
E3-22 (VTA2) - E5-30 (E3) P - BR Throttle position sensor (for sensor malfunction detection) Accelerator pedal fully released 2.1 to 3.1 V
E3-22 (VTA2) - E5-30 (E3) P - BR Throttle position sensor (for sensor malfunction detection) Accelerator pedal fully depressed 4.6 to 5.0 V
A6-33 (VPA) - A6-34 (EPA) G-W - L-Y Accelerator pedal position sensor (for engine control) Accelerator pedal fully released 0.5 to 1.1 V
A6-33 (VPA) - A6-34 (EPA) G-W - L-Y Accelerator pedal position sensor (for engine control) Accelerator pedal fully depressed 2.6 to 4.5 V
A6-32 (VPA2) - A6-26 (EPA2) P-L - G-B Accelerator pedal position sensor (for sensor malfunctioning detection) Accelerator pedal fully released 1.2 to 2.0 V
A6-32 (VPA2) - A6-26 (EPA2) P-L - G-B Accelerator pedal position sensor (for sensor malfunctioning detection) Accelerator pedal fully depressed 3.4 to 5.0 V
A6-35 (VCPA) - A6-26 (EPA2) P - G-B Power source of accelerator pedal position sensor (for VPA) Engine switch on (IG) 4.5 to 5.0 V
A6-27 (VCP2) - A6-26 (EPA2) G-R - G-B Power source of accelerator pedal position sensor (for VPA2) Engine switch on (IG) 4.5 to 5.0 V
E6-6 (HA1A) - E6-5 (E04)
E6-4 (HA2A) - E6-3 (E05)
V - W-B
R - W-B
A/F sensor heater Idling Pulse generation
(see waveform 2)
E6-6 (HA1A) - E6-5 (E04)
E6-4 (HA2A) - E6-3 (E05)
V - W-B
R - W-B
A/F sensor heater Engine switch on (IG) 11 to 14 V
E6-18 (A1A+) - E4-7 (E1) R - BR A/F sensor Engine switch on (IG) 3.3 V*
E6-28 (A2A+) - E4-7 (E1) B - BR A/F sensor Engine switch on (IG) 3.3 V*
E6-17 (A1A-) - E4-7 (E1) G - BR A/F sensor Engine switch on (IG) 2.9 V*
E6-27 (A2A-) - E4-7 (E1) W - BR A/F sensor Engine switch on (IG) 2.9 V*
A6-2 (HT1B) - E3-6 (E03) L-R - W-B Heated oxygen sensor heater Idling Below 3.0 V
A6-1 (HT2B) - E4-7 (E1) L-W - BR Heated oxygen sensor heater Idling Below 3.0 V
A6-2 (HT1B) - E3-6 (E03) L-R - W-B Heated oxygen sensor heater Engine switch on (IG) 11 to 14 V
A6-1 (HT2B) - E4-7 (E1) L-W - BR Heated oxygen sensor heater Engine switch on (IG) 11 to 14 V
A6-28 (OX1B) - A6-29 (O1B-)
A6-17 (OX2B) - A6-18 (O2B-)
R - G
B - W
Heated oxygen sensor Maintain engine speed at 2500 rpm for 2 minutes after warming up sensor Pulse generation
(see waveform 3)
E3-15 (#10) - E4-7 (E1)
E5-17 (#20) - E4-7 (E1)
E3-14 (#30) - E4-7 (E1)
E5-16 (#40) - E4-7 (E1)
E3-13 (#50) - E4-7 (E1)
E5-15 (#60) - E4-7 (E1)
R - BR
GR - BR
L - BR
P - BR
B - BR
Y - BR
Fuel injector Engine switch on (IG) 0 to 5 V
E3-15 (#10) - E4-7 (E1)
E5-17 (#20) - E4-7 (E1)
E3-14 (#30) - E4-7 (E1)
E5-16 (#40) - E4-7 (E1)
E3-13 (#50) - E4-7 (E1)
E5-15 (#60) - E4-7 (E1)
R - BR
GR - BR
L - BR
P - BR
B - BR
Y - BR
Fuel injector Idling Pulse generation
(see waveform 4)
E4-28 (KNK1) - E4-30 (EKNK) B - W Knock sensor Maintain engine speed at 4000 rpm after warming up Pulse generation
(see waveform 5)
E4-29 (KNK2) - E4-31 (EKN2) R - G Knock sensor Maintain engine speed at 4000 rpm after warming up Pulse generation
(see waveform 5)
E3-21 (VV1+) - E3-20 (VV1-) Y - P Variable valve timing (VVT) sensor (Intake camshaft (bank 1)) Idling Pulse generation
(see waveform 6)
E3-19 (VV2+) - E3-18 (VV2-) G - W Variable valve timing (VVT) sensor (Intake camshaft (bank 2)) Idling Pulse generation
(see waveform 6)
E3-32 (NE+) - E3-31 (NE-) R - G Crankshaft position sensor Idling Pulse generation
(see waveform 6, 7)
E5-19 (EV1+) - E5-18 (EV1-) W - G Variable valve timing (VVT) sensor (Exhaust camshaft (bank 1)) Idling Pulse generation
(see waveform 7)
E6-13 (EV2+) - E6-12 (EV2-) W - B Variable valve timing (VVT) sensor (Exhaust camshaft (bank 2)) Idling Pulse generation
(see waveform 7)
E5-13 (IGT1) - E4-7 (E1)
E3-17 (IGT2) - E4-7 (E1)
E5-10 (IGT3) - E4-7 (E1)
E5-12 (IGT4) - E4-7 (E1)
E3-27 (IGT5) - E4-7 (E1)
E3-26 (IGT6) - E4-7 (E1)
GR - BR
G - BR
B - BR
L - BR
B - BR
BR- BR
Ignition coil (ignition signal) Idling Pulse generation
(see waveform 8)
E5-7 (IGF1) - E4-7 (E1)
E5-6 (IGF2) - E4-7 (E1)
G - BR
B - BR
Ignition coil (ignition confirmation signal) Engine switch on (IG) 4.5 to 5.0 V
E5-7 (IGF1) - E4-7 (E1)
E5-6 (IGF2) - E4-7 (E1)
G - BR
B - BR
Ignition coil (ignition confirmation signal) Idling Pulse generation
(see waveform 8)
E3-11 (PRG) - E4-7 (E1) W - BR Purge VSV Engine switch on (IG) 11 to 14 V
E3-11 (PRG) - E4-7 (E1) W - BR Purge VSV Idling Pulse generation
(see waveform 9)
A5-22 (SPD) - E4-7 (E1) Y-G - BR Speed signal from combination meter Driving at 20 km/h (12 mph) Pulse generation
(see waveform 10)
A5-12 (STA) - E4-7 (E1) R - BR Starter signal Cranking 11 to 14 V
E4-4 (STAR) - E4-7 (E1) L - BR STARTER relay drive signal Engine switch on (IG), Other shift position in P or neutral 11 to 14 V
E4-4 (STAR) - E4-7 (E1) L - BR STARTER relay drive signal Cranking 5.5 V or more
A5-19 (STSW) - E4-7 (E1) Y-B - BR Engine switch signal Cranking 8 to 14 V
A5-11 (ACCR) - E4-7 (E1) W-L - BR ACC relay cut signal Engine switch on (IG) → Cranking 11 to 14 V → Below 1V
A6-4 (STP) - E4-7 (E1) R-B - BR Normally open switch Brake pedal depressed 7.5 to 14 V
A6-4 (STP) - E4-7 (E1) R-B - BR Normally open switch Brake pedal released Below 1.5 V
A5-8 (ST1-) - E4-7 (E1) G-W - BR Normally closed switch Engine switch on (IG), Brake pedal depressed Below 1.5 V
A5-8 (ST1-) - E4-7 (E1) G-W - BR Normally closed switch Engine switch on (IG), Brake pedal released 7.5 to 14 V
E3-2 (M+) - E3-4 (ME01) B - W-B Throttle actuator Idling with warm engine Pulse generation
(see waveform 11)
E3-1 (M-) - E3-4 (ME01) W - W-B Throttle actuator Idling with warm engine Pulse generation
(see waveform 12)
A5-14 (FC) - E4-7 (E1) R-G - BR Fuel pump control Engine switch on (IG) 11 to 14 V
A5-14 (FC) - E4-7 (E1) R-G - BR Fuel pump control Idling 0 to 3 V
A5-15 (FPR) - E4-7 (E1) B-Y - BR Fuel pump control Cranking 11 to 14 V
A5-15 (FPR) - E4-7 (E1) B-Y - BR Fuel pump control Idling with warm engine 0 to 3 V
A6-8 (W) - E4-7 (E1) R-L - BR MIL Engine switch on (IG)
(MIL goes on)
Below 3.0 V
A6-8 (W) - E4-7 (E1) R-L - BR MIL Idling 0 to 3 V
A6-3 (TC) - E4-7 (E1) V - BR Terminal TC of DLC 3 Engine switch on (IG) 11 to 14 V
A6-16 (TACH) - E4-7 (E1) R-W - BR Engine speed Idling Pulse generation
(see waveform 13)
E5-3 (ACIS) - E4-7 (E1) Y - BR Intake air control valve actuator for ACIS Engine switch on (IG) 11 to 14 V
E5-3 (ACIS) - E4-7 (E1) Y - BR Intake air control valve actuator Engine speed is 2400 to 4000 rpm and throttle opening percentage is 40 % or more 0 to 3 V
A6-12 (VPMP) - E4-7 (E1) W-L - BR Vent valve (built into canister pump module) Engine switch on (IG) 11 to 14 V
A6-5 (MPMP) - E4-7 (E1) P - BR Vent valve (built into canister pump module) Leak detection pump off Below 3 V
A6-5 (MPMP) - E4-7 (E1) P - BR Vent valve (built into canister pump module) Leak detection pump on 9 to 14 V
A6-25 (PPMP) - E3-28 (E2) LG - BR Canister pressure sensor (built into canister pump module) Engine switch on (IG) 3 to 3.6 V
E6-26 (INJF) - E4-7 (E1) BR- BR Injector injection confirmation signal Idling Pulse generation
(see waveform 4)
E6-32 (FPF1) - E4-7 (E1) W - BR High pressure side fuel pump (Spill valve) Idling Pulse generation
(see waveform 14)
E6-33 (FPD) - E4-7 (E1) G- BR High pressure side fuel pump (Spill valve) Idling Pulse generation
(see waveform 14)
E6-25 (PR) - E3-28 (E2) R- BR Fuel pressure sensor Idling 1.8 to 2.3 V
E6-31 (IAC1) - E4-7 (E1) G - BR Swirl control valve position sensor Engine switch off to on (IG) 3.0 to 4.0 V
E6-2 (IA1+) - E5-2 (E01) L - W-B Intake air control valve actuator for swirl control valve Idling with cold engine Pulse generation
(see waveform 15)
E6-1 (IA1-) - E5-2 (E01) W- W-B Intake air control valve actuator for swirl control valve Idling with cold engine Pulse generation
(see waveform 16)
E3-7 (STJ1) - E4-7 (E1) G - BR Cold start injector Engine switch on (IG) 11 to 14 V
A5-25 (CANH) - E4-7 (E1) B - BR CAN communication line Engine switch on (IG) Pulse generation
(see waveform 17)
A5-24 (CANL) - E4-7 (E1) W - BR CAN communication line Engine switch on (IG) Pulse generation
(see waveform 18)
A5-2 (EC) - Body ground W-B - - Ground Always Below 1 Ω

HINT: 

*: The ECM terminal voltage is constant regardless of the output voltage from the sensor.

  1. WAVEFORM 1 
    Fig 2: Identifying Waveform 1 Graph
    GTY145143Courtesy of © TOYOTA, LICENSE AGREEMENT TMS1002
    CAMSHAFT TIMING OIL CONTROL VALVE (OCV):

    ECM Terminal Name Between OC1+ and OC1- or OC2+ and OC2-
    Between OE1+ and OE1- or OE2+ and OE2-
    Tester Range 5 V/DIV, 1 ms./DIV
    Condition Idling
  2. WAVEFORM 2 
    Fig 3: Identifying Waveform 2
    GTY318954Courtesy of © TOYOTA, LICENSE AGREEMENT TMS1002
    AIR FUEL RATIO SENSOR HEATER:

    ECM Terminal Name Between HA1A-E04 or HA2A-E05
    Tester Range 5 V/DIV, 10 ms./DIV
    Condition Idling

    HINT: 

    The wavelength varies in accordance with the engine operating condition.

  3. WAVEFORM 3 
    Fig 4: Identifying Waveform 3
    GTY126830Courtesy of © TOYOTA, LICENSE AGREEMENT TMS1002
    HEATED OXYGEN SENSOR:

    ECM Terminal Name Between OX1B and O1B- or OX2B and O2B-
    Tester Range 0.2 V/DIV, 200 ms./DIV
    Condition Maintain engine speed at 2500 rpm for 2 minutes after warning up sensor

    HINT: 

    In Data List, item O2S B1S2 or O2S B2S2 shows the ECM input values from the heated oxygen sensor.

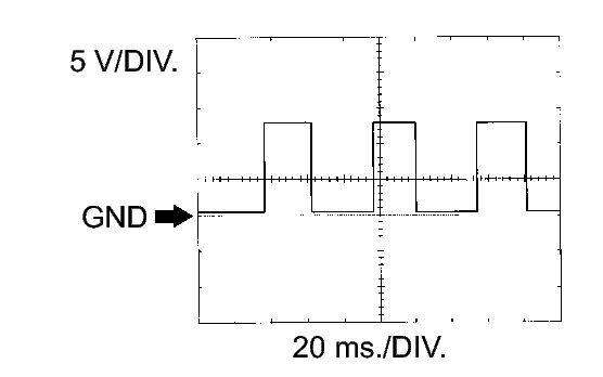
  4. WAVEFORM 4 
    Fig 5: Identifying Waveform 4
    GTY394114Courtesy of © TOYOTA, LICENSE AGREEMENT TMS1002
    INJECTOR NO. 1 (TO NO. 6) INJECTION SIGNAL AND INJECTION CONFIRMATION SIGNAL:

    ECM Terminal Name CH1: Between #10 (to #60) and E1
    CH2: Between INJF and E1
    Tester Range 2 V/DIV, 20 ms./DIV
    Condition Idling

    HINT: 

    The wavelength becomes shorter as the engine speed increases.

  5. WAVEFORM 5 
    Fig 6: Identifying Waveform 5 Graph
    GTY123350Courtesy of © TOYOTA, LICENSE AGREEMENT TMS1002
    KNOCK SENSOR:

    ECM Terminal Name Between KNK1 and EKNK
    Between KNK2 and EKN2
    Tester Range 1 V/DIV, 1 ms./DIV
    Condition Maintain engine speed at 4000 rpm after warning up

    HINT: 

    • The wavelength becomes shorter as the engine speed increases.
    • The waveforms and amplitudes displayed differ slightly depending on the vehicle.
  6. WAVEFORM 6 
    Fig 7: Identifying Waveform 6
    GTY395072Courtesy of © TOYOTA, LICENSE AGREEMENT TMS1002
    CRANKSHAFT POSITION SENSOR AND VVT SENSOR FOR INTAKE CAMSHAFT:

    ECM Terminal Name Between NE+ and NE-
    Between VV1+ and VV1- or VV2+ and VV2-
    Tester Range 5 V/DIV, 20 ms./DIV
    Condition Idling

    HINT: 

    The wavelength becomes shorter as the engine speed increases.

  7. WAVEFORM 7 
    Fig 8: Identifying Waveform 7
    GTY395370Courtesy of © TOYOTA, LICENSE AGREEMENT TMS1002
    CRANKSHAFT POSITION SENSOR AND VVT SENSOR FOR EXHAUST CAMSHAFT:

    ECM Terminal Name Between NE+ and NE-
    Between EV1+ and EV1- or EV2+ and EV2-
    Tester Range 5 V/DIV, 20 ms./DIV
    Condition Idling

    HINT: 

    The wavelength becomes shorter as the engine speed increases.

  8. WAVEFORM 8 
    Fig 9: Identifying Waveform 8
    GTY395157Courtesy of © TOYOTA, LICENSE AGREEMENT TMS1002
    IGNITER IGT SIGNAL (FROM ECM TO IGNITER) AND IGNITER IGF SIGNAL (FROM IGNITER TO ECM):

    ECM Terminal Name CH1: IGT1, IGT3 or IGT5 - E1
    CH2: IGF1 - E1
    CH1: IGT2, IGT4 or IGT6 - E1
    CH2: IGF2 - E1
    Tester Range 2 V/DIV, 20 ms./DIV
    Condition Idling

    HINT: 

    The wavelength becomes shorter as the engine speed increases.

  9. WAVEFORM 9 
    Fig 10: Identifying Waveform 9
    GTY143657Courtesy of © TOYOTA, LICENSE AGREEMENT TMS1002
    PURGE VSV:

    ECM Terminal Name Between PRG and E1
    Tester Range 5 V/DIV, 50 ms./DIV
    Condition Idling

    HINT: 

    If the waveform is not similar to the illustration, check the waveform again after idling for 10 minutes or more.

  10. WAVEFORM 10 
    Fig 11: Identifying Waveform 10
    GTY145138Courtesy of © TOYOTA, LICENSE AGREEMENT TMS1002
    VEHICLE SPEED SIGNAL:

    ECM Terminal Name Between SPD and E1
    Tester Range 5 V/DIV, 20 ms./DIV
    Condition Driving at 20 km/h (12 mph)

    HINT: 

    The wavelength becomes shorter as the vehicle speed increases.

  11. WAVEFORM 11 
    Fig 12: Identifying Waveform 11
    GTY316529Courtesy of © TOYOTA, LICENSE AGREEMENT TMS1002
    THROTTLE ACTUATOR POSITIVE TERMINAL:

    ECM Terminal Name Between M+ and ME01
    Tester Range 5 V/DIV, 1 ms./DIV
    Condition Idling with warm engine

    HINT: 

    The duty ratio varies depending on the throttle actuator operation.

  12. WAVEFORM 12 
    Fig 13: Identifying Waveform 12
    GTY321879Courtesy of © TOYOTA, LICENSE AGREEMENT TMS1002
    THROTTLE ACTUATOR NEGATIVE TERMINAL:

    ECM Terminal Name Between M- and ME01
    Tester Range 5 V/DIV, 1 ms./DIV
    Condition Idling with warm engine

    HINT: 

    The duty ratio varies depending on the throttle actuator operation.

  13. WAVEFORM 13 
    Fig 14: Identifying Waveform 13
    GTY127531Courtesy of © TOYOTA, LICENSE AGREEMENT TMS1002
    ENGINE SPEED SIGNAL:

    ECM Terminal Name Between TACH and E1
    Tester Range 5 V/DIV, 10 ms./DIV
    Condition Idling

    HINT: 

    The wavelength becomes shorter as the engine speed increases.

  14. WAVEFORM 14 
    Fig 15: Identifying Waveform 14
    GTY258823Courtesy of © TOYOTA, LICENSE AGREEMENT TMS1002
    HIGH PRESSURE SIDE FUEL PUMP (SPILL CONTROL VALVE):

    ECM Terminal Name CH1: Between FPD and E1
    CH2: Between FPF1 and E1
    Tester Range 2 V/DIV, 5 ms./DIV
    Condition Idling
  15. WAVEFORM 15 
    Fig 16: Identifying Waveform 15 Graph
    GTY141294Courtesy of © TOYOTA, LICENSE AGREEMENT TMS1002
    INTAKE AIR CONTROL VALVE ACTUATOR FOR SWIRL CONTROL VALVE POSITIVE TERMINAL:

    ECM Terminal Name Between IA1+ and E01
    Tester Range 5 V/DIV, 1 ms./DIV
    Condition Idling with cold engine
  16. WAVEFORM 16 
    Fig 17: Identifying Waveform 16 Graph
    GTY135971Courtesy of © TOYOTA, LICENSE AGREEMENT TMS1002
    INTAKE AIR CONTROL VALVE ACTUATOR FOR SWIRL CONTROL VALVE NEGATIVE TERMINAL:

    ECM Terminal Name Between IA1- and E01
    Tester Range 5 V/DIV, 1 ms./DIV
    Condition Idling with cold engine
  17. WAVEFORM 17 
    Fig 18: Identifying Waveform 17
    GTY315915Courtesy of © TOYOTA, LICENSE AGREEMENT TMS1002
    CAN COMMUNICATION SIGNAL:

    ECM Terminal Name Between CANH and E1
    Tester Range 1 V/DIV, 10 μs/DIV
    Condition Engine switch on (IG)

    HINT: 

    The waveform varies depending on the CAN communication signal.

  18. WAVEFORM 18 
    Fig 19: Identifying Waveform 18
    GTY315900Courtesy of © TOYOTA, LICENSE AGREEMENT TMS1002
    CAN COMMUNICATION SIGNAL:

    ECM Terminal Name Between CANL and E1
    Tester Range 1 V/DIV, 10 μs/DIV
    Condition Engine switch on (IG)

    HINT: 

    The waveform varies depending on the CAN communication signal.