LEMON Manuals: Even more car manuals for everyone: 1960-2025
Home >> Lexus >> 2012 >> IS 250C Automatic Trans >> Repair and Diagnosis >> Body & Frame >> Windows >> Power Window Control System (Diagnostics & Symptom Tests) >> Power Window Control System >> System Diagram >> System Diagram
April 5, 2026: LEMON Manuals is launched! Read the announcement.

System Diagram

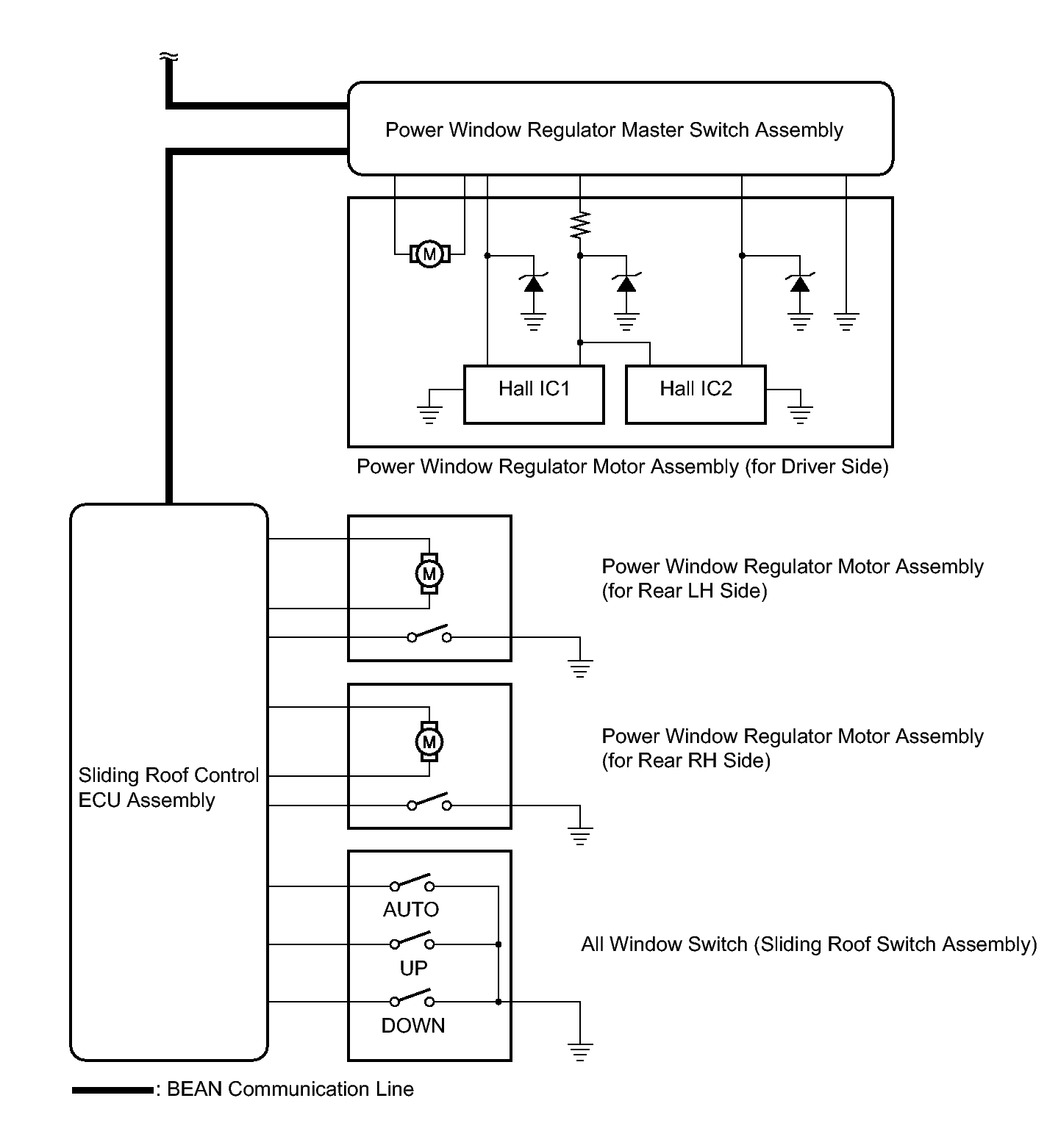
Fig 1: Power Window Control System Wiring Diagram (1 Of 2)
GTY264705Courtesy of © TOYOTA, LICENSE AGREEMENT TMS1002
Fig 2: Power Window Control System Wiring Diagram (2 Of 2)
GTY356314Courtesy of © TOYOTA, LICENSE AGREEMENT TMS1002
COMMUNICATION TABLE

Transmitting ECU Receiving ECU Signal Communication Method
Power window regulator master switch assembly
  • Power window regulator switch assembly
  • Sliding roof control ECU assembly
  • Window lock switch signal
  • Power window remote up and down signal
  • Wireless power window down signal*1, 2
BEAN
Main body ECU RH (cowl side junction block RH)
  • Power window regulator master switch assembly
  • Power window regulator switch assembly
  • IG signal
  • ACC signal
  • Door courtesy light switch signal
BEAN
Main body ECU RH (cowl side junction block RH)
  • Power window regulator master switch assembly
  • Power window regulator switch assembly
  • Sliding roof control ECU assembly
Power window switch power source supply signal BEAN
Main body ECU RH (cowl side junction block RH) Power window regulator master switch Assembly Door lock position switch (for front passenger side) signal BEAN
Certification ECU (smart key ECU assembly) Power window regulator master switch assembly Wireless-linked control signal*1, *2 BEAN
Sliding roof control ECU assembly
  • Power window regulator master switch assembly
  • Power window regulator switch assembly
  • Metal top condition signal
  • Quarter side RH window position signal
  • Quarter side LH window position signal
  • Roof panel fully closed condition signal
BEAN
Sliding roof control ECU assembly Power window regulator master switch assembly
  • Quarter window-linked driver door window operation request signal
  • All power window operation signal
BEAN
Sliding roof control ECU assembly Power window regulator switch assembly
  • Quarter window-linked passenger door window operation request signal
  • All power window operation signal
BEAN