LEMON Manuals: Even more car manuals for everyone: 1960-2025
Home >> Lexus >> 2012 >> IS 250C Automatic Trans >> Repair and Diagnosis >> Engine Performance >> System >> Engine Control System (4GR-FSE) (Diagnostic Codes (P0190- P0630)) >> SFI System >> DTC P0420: Catalyst System Efficiency Below Threshold (Bank 1); DTC P0430: Catalyst System Efficiency Below Threshold (Bank 2) >> Catalyst Location
April 5, 2026: LEMON Manuals is launched! Read the announcement.

Catalyst Location

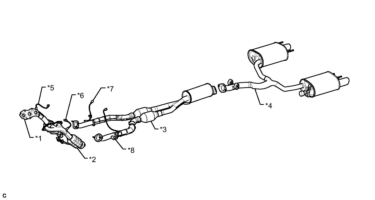
Fig 1: Identifying Exhaust Assembly
GTY274628Courtesy of © TOYOTA, LICENSE AGREEMENT TMS1002
TEXT IN ILLUSTRATION

*1 Exhaust Manifold Sub-assembly RH
(TWC: Front Catalyst)
*2 Exhaust Manifold Sub-assembly LH
(TWC: Front Catalyst)
*3 Front Exhaust Pipe Assembly
(TWC: Rear Catalyst)
*4 Tail Exhaust Pipe Assembly
*5 Air Fuel Ratio Sensor
(Bank 1 Sensor 1)
*6 Air Fuel Ratio Sensor
(Bank 2 Sensor 1)
*7 Heated Oxygen Sensor
(Bank 1 Sensor 2)
*8 Heated Oxygen Sensor
(Bank 2 Sensor 2)
NOTE:
  • When outputting DTC P0420 replace the exhaust manifold sub-assembly RH (*1) and the front exhaust pipe assembly (*3) together when catalysts replacement is necessary. (Excluding air fuel ratio sensor *5 and heated oxygen sensor *7)
  • When outputting DTC P0430 replace the exhaust manifold sub-assembly LH (*2) and the front exhaust pipe assembly (*3) together when catalysts replacement is necessary. (Excluding air fuel ratio sensor *6 and heated oxygen sensor *8)