LEMON Manuals: Even more car manuals for everyone: 1960-2025
Home >> Lexus >> 2012 >> IS 250C Standard Trans >> Repair and Diagnosis >> Body & Frame >> Mirrors >> Power Mirror Control (W/O Memory) (Inspection) >> POWER MIRROR CONTROL SYSTEM (w/o Memory) >> System Diagram >> System Diagram
April 5, 2026: LEMON Manuals is launched! Read the announcement.

System Diagram

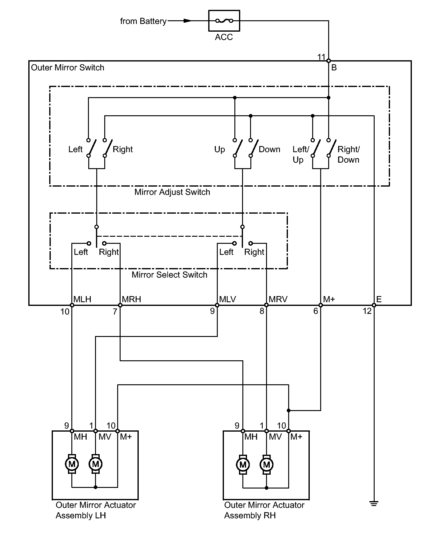
Fig 1: Identifying Power Mirror Control Wiring Diagram (W/O Memory) (1 Of 2)
GTY257451Courtesy of © TOYOTA, LICENSE AGREEMENT TMS1002
Fig 2: Identifying Power Mirror Control System Diagram (W/O Memory) (2 Of 2)
GTY393220Courtesy of © TOYOTA, LICENSE AGREEMENT TMS1002