LEMON Manuals: Even more car manuals for everyone: 1960-2025
Home >> Lexus >> 2012 >> IS 250C Standard Trans >> Repair and Diagnosis >> Electrical >> Starter >> Smart Access System With Push-Button Start (For Start Function) (Diagnostic Codes & Symptom Tests) >> SMART ACCESS SYSTEM WITH PUSH-BUTTON START (for Start Function) >> DTC B2281: "P" Signal Malfunction >> Procedure
April 5, 2026: LEMON Manuals is launched! Read the announcement.

DTC B2281: "P" Signal Malfunction: Procedure

  1. CHECK MULTIPLEX COMMUNICATION SYSTEM 
    1. Clear the DTC. Refer to DTC CHECK / CLEAR .
    2. Check for multiplex network communication system DTCs B1210, B1214 and B1215.

      HINT: 

      If the DTCs for the multiplex network communication system malfunction are output, inspect those DTCs first.

      RESULT

      Result Proceed to
      DTCs B1210, B1214 and B1215 are not output. A
      DTCs B1210, B1214 and B1215 are output. B

    B → See step   5 

    A: Go to next step 

  2. READ VALUE USING TECHSTREAM 
    1. Connect the Techstream to the DLC3.
    2. Turn the engine switch on (IG).
    3. Turn the Techstream on.
    4. Enter the following menus: Body Electrical / Power Source Control / Data List.
    5. Read the Data List according to the display on the Techstream.
      POWER SOURCE CONTROL

      Tester Display Measurement Item/Range Normal Condition Diagnostic Note
      Shift P Signal Shift P position/ON or OFF ON: Shift lever is in P
      OFF: Shift lever is not in P
      -
      RESULT

      Result Proceed to
      ON (shift position is P) and OFF (shift position is not P) appear on the screen according to vehicle operating conditions. A
      ON (shift position is P) and OFF (shift position is not P) do not appear on the screen according to vehicle operating conditions (for A760E). B
      ON (shift position is P) and OFF (shift position is not P) do not appear on the screen according to vehicle operating conditions (for A960E). C

    B → See step   6 

    C → See step   9 

    A: Go to next step 

  3. CHECK HARNESS AND CONNECTOR (POWER SOURCE CONTROL ECU - SHIFT LOCK CONTROL ECU) 
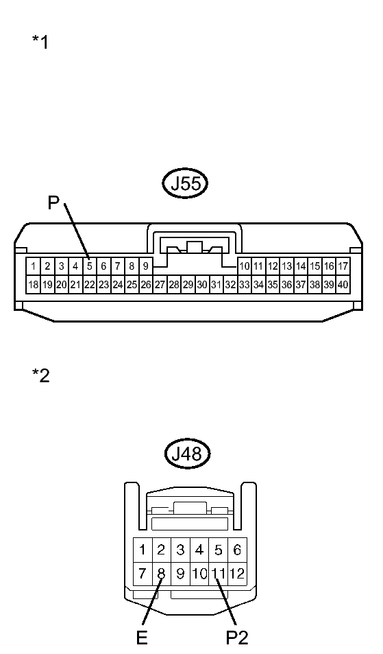
    1. Disconnect the J55 connector from the power source control ECU.
      Fig 1: J55 And J48 Connector Terminal Identification
      GTY265274Courtesy of © TOYOTA, LICENSE AGREEMENT TMS1002
    2. Disconnect the J48 connector from the shift lock control ECU.
    3. Measure the resistance according to the value(s) in the table below.
      STANDARD RESISTANCE

      Tester Connection Condition Specified Condition
      J55-5 (P) - J48-11 (P2) Always Below 1 Ω
      J55-5 (P) or J48-11 (P2) - Body ground Always 10 kΩ or higher
      J48-8 (E) - Body ground Always Below 1 Ω
      TEXT IN ILLUSTRATION

      *1 Front view of wire harness connector
      (to Power Source Control ECU)
      *2 Front view of wire harness connector
      (to Shift Lock Control ECU)

    NG → REPAIR OR REPLACE HARNESS OR CONNECTOR (POWER SOURCE CONTROL ECU - SHIFT LOCK CONTROL ECU) 

    OK: Go to next step 

  4. INSPECT SHIFT LOCK CONTROL ECU 
    1. Measure the resistance according to the value(s) in the table below.
      Fig 2: Shift Lock Control ECU Connector Terminal Identification
      GTY271339Courtesy of © TOYOTA, LICENSE AGREEMENT TMS1002
      STANDARD RESISTANCE

      Tester Connection Condition Specified Condition
      J48-11 (P2) - J48-8 (E) Shift lever is in P Below 1 Ω
      J48-11 (P2) - J48-8 (E) Shift lever is not in P 10 kΩ or higher
      TEXT IN ILLUSTRATION

      *1 Component without harness connected
      (Shift Lock Control ECU)
      RESULT

      Result Proceed to
      OK A
      NG (for A960E) B
      NG (for A760E) C

    B → See step   10 

    C → See step   7 

    A → See step   8 

  5. GO TO MULTIPLEX COMMUNICATION SYSTEM. Refer to  DIAGNOSTIC TROUBLE CODE CHART 
  6. GO TO AUTOMATIC TRANSMISSION SYSTEM (for A760E). Refer to  DTC P0705: Transmission Range Sensor Circuit Malfunction (PRNDL Input) 
  7. REPLACE SHIFT LOCK CONTROL ECU (for A760E). Refer to  DISASSEMBLY - Step 2 
  8. REPLACE POWER SOURCE CONTROL ECU. Refer to  REMOVAL 
  9. GO TO AUTOMATIC TRANSMISSION SYSTEM (for A960E). Refer to  DTC P0705: Transmission Range Sensor Circuit Malfunction (PRNDL Input) 
  10. REPLACE SHIFT LOCK CONTROL ECU (for A960E). Refer to  DISASSEMBLY - Step 2