LEMON Manuals: Even more car manuals for everyone: 1960-2025
Home >> Lexus >> 2012 >> IS 250C V6-2.5L (4GR-FSE) >> Repair and Diagnosis >> Cruise Control >> Cruise Control Switch >> Testing and Inspection
April 5, 2026: LEMON Manuals is launched! Read the announcement.

Cruise Control Switch: Testing and Inspection





CRUISE CONTROL: CRUISE CONTROL MAIN SWITCH: INSPECTION

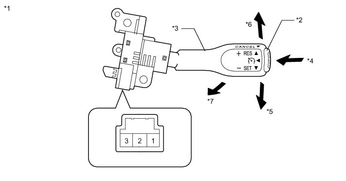
1. INSPECT CRUISE CONTROL MAIN SWITCH

(a) for vehicles without vehicle-to-vehicle distance control mode:

(1) Measure the resistance according to the value(s) in the table below.





Text in Illustration





Standard Resistance:





*1: The lever is in the neutral position

If the result is not as specified, replace the cruise control main switch.

(b) for vehicles with vehicle-to-vehicle distance control mode:

(1) Measure the resistance according to the value(s) in the table below.





Text in Illustration





Standard Resistance:





*1: The lever is in the neutral position

If the result is not as specified, replace the cruise control main switch.