LEMON Manuals: Even more car manuals for everyone: 1960-2025
Home >> Lexus >> 2012 >> IS 250C V6-2.5L (4GR-FSE) >> Repair and Diagnosis >> Heating and Air Conditioning >> Control Assembly >> Service and Repair >> Overhaul >> Disassembly
April 5, 2026: LEMON Manuals is launched! Read the announcement.

Disassembly





HEATING / AIR CONDITIONING: AIR CONDITIONING PANEL: DISASSEMBLY

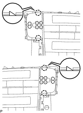
1. REMOVE CENTER INSTRUMENT CLUSTER FINISH PANEL

(a) Remove the 6 screws.





(b) Disengage the 5 claws and remove the center instrument cluster finish panel.





2. REMOVE NO. 1 CONTROL KNOB SUB-ASSEMBLY

(a) Disengage the 16 claws and remove the No. 1 control knob sub-assembly.