LEMON Manuals: Even more car manuals for everyone: 1960-2025
Home >> Lexus >> 2012 >> IS 250C V6-2.5L (4GR-FSE) >> Repair and Diagnosis >> Powertrain Management >> Ignition System >> Spark Plug >> Specifications
April 5, 2026: LEMON Manuals is launched! Read the announcement.

Spark Plug: Specifications






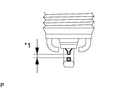
Spark plug electrode gap








Maximum electrode gap for a used spark plug 1.4 mm (0.0551 in.)
If the gap is greater than the maximum, replace the spark plug

NOTICE:
Never attempt to adjust the gap of a used plug

Electrode gap for a new spark plug 1.0 to 1.1 mm (0.0394 to 0.0433 in.)

Spark Plug
Torque 18 Nm (184 kgf-cm, 13 ft-lbf)