LEMON Manuals: Even more car manuals for everyone: 1960-2025
Home >> Lexus >> 2012 >> IS 350C >> Repair and Diagnosis >> Transmission >> Automatic Trans >> Automatic Transmission (Service Information) >> Automatic Transmission Unit >> Reassembly >> Reassembly
April 5, 2026: LEMON Manuals is launched! Read the announcement.

Automatic Transmission Unit: Reassembly: Reassembly

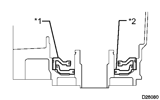
  1. BEARING POSITION 
    Fig 1: Exploded View Of Bearing Position
    GTY279365Courtesy of © TOYOTA, LICENSE AGREEMENT TMS1002
    Mark Front Race Diameter
    Inside/Outside
    Thrust Bearing Diameter
    Inside/Outside
    Rear Race Diameter
    Inside/Outside
    A 74.2 mm (2.92 in.) / 87.74 mm (3.45 in.) 71.9 mm (2.83 in.) / 85.6 mm (3.37 in.) -
    B 37 mm (1.45 in.) / 52.3 mm (2.06 in.) 34.6 mm (1.36 in.) / 52.0 mm (2.05 in.) -
    C 37.0 mm (1.457 in.) / 52.3 mm (2.059 in.) 34.6 mm (1.362 in.) / 52.0 mm (2.047 in.) -
    D - 21.3 mm (0.893 in.) / 41.1 mm (1.618 in.) 22.6 mm (0.890 in.) / 44.8 mm (1.764 in.)
    E - 35.6 mm (1.402 in.) / 56.6 mm (2.228 in.) -
    F - 42.5 mm (1.673 in.) / 61.2 mm (2.409 in.) -
    G 38.0 mm (1.50 in.) / 57.0 mm (2.24 in.) 43.4 mm (1.71 in.) / 58.3 mm (2.30 in.) -
    H - 55.7 mm (2.19 in.) / 76.4 mm (3.01 in.) -
    I - - 53.7 mm (2.11 in.) / 74.0 mm (2.91 in.)
    J 33.4 mm (1.31 in.) / 49.0 mm (1.93 in.) 32.1 mm (1.26 in.) / 49.35 mm (1.94 in.) 32.1 mm (1.26 in.) / 49.0 mm (1.93 in.)
    K - 21.5 mm (0.847 in.) / 40.8 mm (1.61 in.) -
    L - 43.6 mm (1.72 in.) / 61.0 mm (2.40 in.) 47.1 mm (1.85 in.) / 67.1 mm (2.64 in.)
    M 36.9 mm (1.45 in.) / 49.7 mm (1.96 in.) 36.1 mm (1.42 in.) / 52.5 mm (2.07 in.) 36.1 mm (1.42 in.) / 51.0 mm (2.01 in.)
  2. INSTALL NO. 4 BRAKE PISTON 
    1. Coat 2 new O-rings with ATF, and install them to the brake reaction sleeve.
      Fig 2: Identifying No. 4 Brake Piston O-Ring
      GTY260845Courtesy of © TOYOTA, LICENSE AGREEMENT TMS1002
    2. Coat 2 new O-rings with ATF, and install them to the No. 4 brake piston.
    3. Install the No. 4 brake piston to the reaction sleeve.
      NOTE:

      Be careful not to damage the 4 O-rings.

      TEXT IN ILLUSTRATION

      *1 O-ring
  3. INSTALL BRAKE REACTION SLEEVE 
    1. Coat a new O-ring with ATF, and install it to the reaction sleeve.
      Fig 3: Identifying Brake Reaction Sleeve O-Ring
      GTY259501Courtesy of © TOYOTA, LICENSE AGREEMENT TMS1002
    2. With the No. 4 brake piston underneath (the rear side), install the brake reaction sleeve and No. 4 brake piston to the transmission case.
      NOTE:

      Be careful not to damage the O-ring.

      TEXT IN ILLUSTRATION

      *1 Brake Reaction Sleeve
      *2 No. 4 Brake Piston
  4. INSTALL 1ST AND REVERSE BRAKE PISTON 
    1. Coat a new O-ring with ATF.
      Fig 4: Identifying 1St And Reverse Brake Piston O-Ring
      GTY266902Courtesy of © TOYOTA, LICENSE AGREEMENT TMS1002
      TEXT IN ILLUSTRATION

      *1 1st and Reverse Brake Piston
    2. Install the O-ring on the 1st and reverse brake piston.
    3. With the spring seat of the piston facing upwards (front side), place the piston in the transmission case.
      NOTE:

      Be careful not to damage the O-ring.

    4. Place the brake return spring onto the No. 4 brake piston.
      Fig 5: Identifying Brake Return Spring Onto Brake Piston
      GTY107801Courtesy of © TOYOTA, LICENSE AGREEMENT TMS1002
  5. INSTALL 1ST AND REVERSE BRAKE RETURN SPRING SUB-ASSEMBLY 
    1. Place SST on the brake return spring, and compress the return spring.
      Fig 6: Identifying 1st And Reverse Brake Return Spring Shaft Snap Ring
      GTY287166Courtesy of © TOYOTA, LICENSE AGREEMENT TMS1002
      TEXT IN ILLUSTRATION

      *1 1st and Reverse Brake Return Spring Shaft Snap Ring
      • SST: 09350-30020 
        • 09350-07050
    2. Using SST, install the 1st and reverse brake return spring shaft snap ring.
      • SST: 09350-30020 
        • 09350-07070
    3. Install the brake apply tube with its protruding part fitting into the groove of the transmission case as shown in the illustration.
      Fig 7: Identifying Brake Apply Tube
      GTY107189Courtesy of © TOYOTA, LICENSE AGREEMENT TMS1002
      NOTE:

      Engage the 1st and reverse brake piston claw with the protrusion of the brake apply tube.

  6. INSTALL REAR PLANETARY GEAR ASSEMBLY 
    1. Install the No. 9 thrust bearing race.
      Fig 8: Identifying No. 9 Thrust Bearing Race
      GTY104087Courtesy of © TOYOTA, LICENSE AGREEMENT TMS1002

      Race Diameter

        Inside Outside
      Thrust bearing race 47.1 mm (1.85 in.) 67.1 mm (2.64 in.)
    2. Install the 2 thrust needle roller bearings.
      Fig 9: Identifying Thrust Needle Roller Bearings
      GTY281181Courtesy of © TOYOTA, LICENSE AGREEMENT TMS1002

      Thrust Needle Roller Bearing Diameter

        Inside Outside
      Bearing A 21.5 mm (0.847 in.) 40.8 mm (1.61 in.)
      Bearing B 43.6 mm (1.72 in.) 61.0 mm (2.40 in.)
      TEXT IN ILLUSTRATION

      *1 Bearing A
      *2 Bearing B
    3. Install the rear planetary gear assembly.
      Fig 10: Identifying Rear Planetary Gear Assembly
      GTY149705Courtesy of © TOYOTA, LICENSE AGREEMENT TMS1002
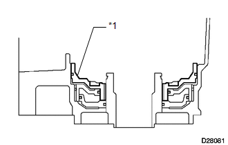
  7. INSPECT PACK CLEARANCE OF 1ST AND REVERSE BRAKE PISTON  See step  3
  8. INSTALL NO. 4 BRAKE DISC 
    1. Install the sleeve, 4 No. 4 brake plates, 4 No. 4 brake discs and No. 4 brake flange.
      Fig 11: Identifying No. 4 Brake Plates
      GTY255620Courtesy of © TOYOTA, LICENSE AGREEMENT TMS1002

      Installation order

      *1 - *2 - *3 - *2 - *3 - *2 - *3 - *2 - *3 - *4

      TEXT IN ILLUSTRATION

      *1 No. 4 Brake Flange
      *2 No. 4 Brake Disc
      *3 No. 4 Brake Plate
      *4 No. 4 Brake Sleeve
  9. INSTALL BRAKE PLATE STOPPER SPRING 
    1. Install the brake plate stopper spring.
      Fig 12: Identifying Brake Plate Stopper Spring
      GTY107732Courtesy of © TOYOTA, LICENSE AGREEMENT TMS1002
  10. INSTALL REAR PLANETARY RING GEAR FLANGE SUB-ASSEMBLY 
    1. Install the No. 8 thrust bearing race, thrust needle roller bearing, No. 7 thrust bearing race and planetary ring gear flange to the intermediate shaft.
      Fig 13: Identifying No. 8 Thrust Bearing Race
      GTY279478Courtesy of © TOYOTA, LICENSE AGREEMENT TMS1002

      Bearing and Race Diameter

        Inside Outside
      No. 7 thrust bearing race 33.4 mm (1.31 in.) 49.0 mm (1.93 in.)
      Thrust needle roller bearing 32.1 mm (1.26 in.) 49.35 mm (1.94 in.)
      No. 8 thrust bearing race 32.1 mm (1.26 in.) 49.0 mm (1.93 in.)
      TEXT IN ILLUSTRATION

      *1 No. 7 Thrust Bearing Race
      *2 Thrust Needle Roller Bearing
      *3 No. 8 Thrust Bearing Race
  11. INSTALL NO. 3 ONE-WAY CLUTCH ASSEMBLY 
    1. Install the No. 3 one-way clutch assembly and one-way clutch inner race to the intermediate shaft.
      Fig 14: View Of 1 Way No. 3 Clutch Assembly & Intermediate Shaft Inner Race
      GTY107750Courtesy of © TOYOTA, LICENSE AGREEMENT TMS1002
  12. INSTALL INTERMEDIATE SHAFT 
    1. Install the intermediate shaft with the No. 3 one-way clutch assembly to the transmission case.
      Fig 15: Identifying Intermediate Shaft
      GTY143649Courtesy of © TOYOTA, LICENSE AGREEMENT TMS1002
    2. Using SST, install the snap ring.
      Fig 16: Identifying Snap Ring
      GTY122555Courtesy of © TOYOTA, LICENSE AGREEMENT TMS1002
      • SST: 09350-30020 
        • 09350-07060
  13. INSTALL CENTER PLANETARY GEAR ASSEMBLY 
    1. Install the center planetary gear assembly and planetary sun gear to the transmission case.
      Fig 17: Identifying Center Planetary Gear Assembly
      GTY106994Courtesy of © TOYOTA, LICENSE AGREEMENT TMS1002
    2. Coat the thrust bearing race with petroleum jelly, and install it onto the center planetary ring gear.

      Race Diameter

        Inside Outside
      Race 53.7 mm (2.11 in.) 74.0 mm (2.91 in.)
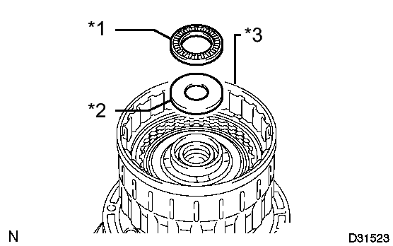
  14. INSTALL NO. 2 BRAKE PISTON 
    1. Coat 2 new O-rings with ATF, and install them to the No. 2 brake piston.
      Fig 18: Identifying No. 2 Brake Piston O-Ring
      GTY277055Courtesy of © TOYOTA, LICENSE AGREEMENT TMS1002
      TEXT IN ILLUSTRATION

      *1 O-ring
    2. Press the No. 2 brake piston into the No. 2 brake cylinder.
      NOTE:

      Be careful not to damage the 2 O-rings.

    3. Install the No. 2 brake piston to the transmission case.

      HINT: 

      Install the No. 2 brake cylinder so that the projection protrudes from the upside of the transmission case.

    4. Check that the oil pressure apply hole of the No. 2 brake cylinder aligns with the oil pressure apply hole of the transmission case.
      Fig 19: Identifying Oil Pressure Apply Hole
      GTY131798Courtesy of © TOYOTA, LICENSE AGREEMENT TMS1002
  15. INSTALL NO. 2 BRAKE DISC 
    1. Install the 2 No. 2 brake flanges, 3 No. 2 brake plates, 4 No. 2 brake discs and brake piston return spring.
      Fig 20: Identifying No. 2 Brake Flanges
      GTY276101Courtesy of © TOYOTA, LICENSE AGREEMENT TMS1002

      Installation order

      *1 - *2 - *3 - *2 - *3 - *2 - *3 - *2 - *1

      TEXT IN ILLUSTRATION

      *1 No. 2 Brake Flange
      *2 No. 2 Brake Disc
      *3 No. 2 Brake Plate
    2. Using SST, a screwdriver and a press, install the No. 2 brake snap ring.
      Fig 21: Identifying No 2 Brake Spring Snap Ring
      GTY360358Courtesy of © TOYOTA, LICENSE AGREEMENT TMS1002
      • SST: 09351-40010 
        • 09351-04010
        • 09351-04020
        • 09351-04040
        • 09351-04050
  16. INSPECT PISTON STROKE OF NO. 2 BRAKE PISTON  See step  11
  17. INSTALL NO. 1 BRAKE PISTON 
    1. Coat 2 new O-rings with ATF, and install them on the No. 1 brake piston.
      Fig 22: Identifying No. 1 Brake Piston O-Ring
      GTY278585Courtesy of © TOYOTA, LICENSE AGREEMENT TMS1002
    2. Press the No. 1 brake piston into the No. 1 brake cylinder.
      NOTE:

      Be careful not to damage the 2 O-rings.

      TEXT IN ILLUSTRATION

      *1 O-ring
  18. INSTALL BRAKE PISTON RETURN SPRING SUB-ASSEMBLY 
    1. Install the brake piston return spring and the No. 1 brake piston with the No. 1 brake cylinder to the transmission case.
      Fig 23: Identifying Brake Piston Return Spring
      GTY100090Courtesy of © TOYOTA, LICENSE AGREEMENT TMS1002

      HINT: 

      Install the No. 1 brake cylinder so that the projection protrudes from the upside of the transmission case.

    2. Check that the oil pressure apply hole of the No. 1 brake cylinder aligns with the oil pressure apply hole of the transmission case.
      Fig 24: Identifying Oil Pressure Apply Hole
      GTY131628Courtesy of © TOYOTA, LICENSE AGREEMENT TMS1002
  19. INSTALL BRAKE PISTON RETURN SPRING SNAP RING 
    1. Using SST, a screwdriver and a press, install the brake piston return spring snap ring.
      Fig 25: Installing Brake Piston Return Spring Snap Ring
      GTY107812Courtesy of © TOYOTA, LICENSE AGREEMENT TMS1002
      • SST: 09351-40010 
        • 09351-04010
        • 09351-04030
        • 09351-04040
        • 09351-04050
  20. INSTALL CENTER PLANETARY RING GEAR 
    1. Install the thrust needle roller bearing to the front planetary ring thrust flange.

      Thrust Needle Roller Bearing Diameter

        Inside Outside
      Thrust needle roller bearing 55.7 mm (2.19 in.) 76.4 mm (3.01 in.)
    2. Install the center planetary ring gear and front planetary ring thrust flange on the front planetary ring gear.
      Fig 26: Identifying Center Planetary Ring Gear And Front Planetary Ring Gear Flange
      GTY107903Courtesy of © TOYOTA, LICENSE AGREEMENT TMS1002
    3. Using a screwdriver, install the snap ring.
      Fig 27: Installing Snap Ring
      GTY102150Courtesy of © TOYOTA, LICENSE AGREEMENT TMS1002
      NOTE:

      Install the snap ring to the ring gear so that the both ends of the snap ring come to the center of a protrusion on the ring gear.

  21. INSTALL FRONT PLANETARY RING GEAR 
    1. Install the front planetary ring gear to the transmission case.
      Fig 28: Remove/Install Front Planetary Ring Gear
      GTY107901Courtesy of © TOYOTA, LICENSE AGREEMENT TMS1002
  22. INSTALL FRONT PLANETARY GEAR ASSEMBLY 
    1. Install the thrust needle roller bearing and the thrust washer.
      Fig 29: Identifying Front Planetary Gear Assembly
      GTY270849Courtesy of © TOYOTA, LICENSE AGREEMENT TMS1002
      TEXT IN ILLUSTRATION

      *1 Thrust Bearing Race
      *2 Thrust Needle Roller Bearing
    2. Coat the thrust bearing race with petroleum jelly, and install it onto the front planetary ring gear.

      Thrust Needle Roller Bearing and Race Diameter

        Inside Outside
      Bearing 43.4 mm (1.71 in.) 58.3 mm (2.30 in.)
      Race 38.0 mm (1.50 in.) 57.0 mm (2.24 in.)
    3. Install the front planetary gear assembly and one-way clutch inner race to the transmission case.
      Fig 30: View Of Front Planetary Gear Assembly
      GTY101766Courtesy of © TOYOTA, LICENSE AGREEMENT TMS1002
  23. INSPECT NO. 1 PISTON STROKE OF BRAKE PISTON  See step  15
  24. INSTALL NO. 1 BRAKE DISC 
    1. Install the 3 No. 1 plates, 3 No. 1 discs and No. 1 flange.
      Fig 31: Identifying No. 1 Brake Discs
      GTY262308Courtesy of © TOYOTA, LICENSE AGREEMENT TMS1002

      Installation order

      *1 - *2 - *3 - *2 - *3 - *2 - *3

      TEXT IN ILLUSTRATION

      *1 No. 1 Flange
      *2 No. 1 Disc
      *3 No. 1 Plate
  25. INSTALL 2ND BRAKE PISTON 
    1. Coat 2 new O-rings with ATF, and install them to the 2nd brake piston.
      Fig 32: Identifying 2nd Brake Piston O-Ring
      GTY272742Courtesy of © TOYOTA, LICENSE AGREEMENT TMS1002
      TEXT IN ILLUSTRATION

      *1 O-ring
    2. Press the 2nd brake piston into the 2nd brake cylinder.
      NOTE:

      Be careful not to damage the 2 O-rings.

    3. Using SST, a screwdriver and a press, install the return spring with the 2nd brake piston hole snap ring.
      Fig 33: Identifying Snap Ring
      GTY101067Courtesy of © TOYOTA, LICENSE AGREEMENT TMS1002
      • SST: 09351-40010 
        • 09351-04060
        • 09351-04070
      NOTE:

      Be sure that the end gap of the snap ring is not aligned with the spring retainer claw.

  26. INSTALL 2ND BRAKE CYLINDER 
    1. Install the 2nd brake cylinder to the transmission case.
      Fig 34: Identifying 2nd Brake Cylinder
      GTY107717Courtesy of © TOYOTA, LICENSE AGREEMENT TMS1002
    2. Check that the oil pressure apply hole of the brake cylinder aligns with the oil pressure apply hole of the transmission case.
      Fig 35: Identifying Oil Pressure Apply Hole Of 2nd Brake Cylinder
      GTY149726Courtesy of © TOYOTA, LICENSE AGREEMENT TMS1002
  27. INSTALL ONE-WAY CLUTCH ASSEMBLY 
    1. Install the one-way clutch assembly and thrust washer to the transmission case.
      Fig 36: Identifying One Way Clutch Assembly And Thrust Washer
      GTY107716Courtesy of © TOYOTA, LICENSE AGREEMENT TMS1002
  28. INSTALL 2ND BRAKE PISTON HOLE SNAP RING 
    1. Using SST, install the snap ring.
      Fig 37: Identifying Snap Ring
      GTY125690Courtesy of © TOYOTA, LICENSE AGREEMENT TMS1002
      • SST: 09350-30020 
        • 09350-07060
  29. INSTALL NO. 3 BRAKE DISC 
    1. Install the cushion plate, No. 3 brake flange, 4 No. 3 brake discs and 4 No. 3 brake plates to the transmission case.
      Fig 38: Identifying Cushion Plate, Plates, Discs And Flange
      GTY289505Courtesy of © TOYOTA, LICENSE AGREEMENT TMS1002

      Installation order

      *1 - *4 - *2 - *4 - *2 - *4 - *2 - *4 - *2 - *3

      TEXT IN ILLUSTRATION

      *1 No. 3 Brake Flange
      *2 No. 3 Brake Plate
      *3 Cushion Plate
      *4 No. 3 Brake Disc
  30. INSTALL NO. 3 BRAKE SNAP RING 
    1. Using a screwdriver, install the snap ring.
      Fig 39: View Of Installing Snap Ring Using A Screwdriver
      GTY102057Courtesy of © TOYOTA, LICENSE AGREEMENT TMS1002
  31. INSTALL DIRECT CLUTCH PISTON SUB-ASSEMBLY 
    1. Coat 2 new O-rings with ATF, and install them in the direct clutch piston.
      Fig 40: Identifying Direct Clutch Piston O-Rings
      GTY103490Courtesy of © TOYOTA, LICENSE AGREEMENT TMS1002
    2. Install the No. 2 clutch balancer and direct clutch return spring to the direct clutch piston sub-assembly.
      Fig 41: View Of Clutch Balancer Return Spring Sub Assembly And Direct Clutch Piston Sub Assembly
      GTY107782Courtesy of © TOYOTA, LICENSE AGREEMENT TMS1002
    3. Press the direct clutch piston into the reverse clutch drum sub-assembly by hands.
      NOTE:

      Do not damage the 2 O-rings.

    4. Place SST on the direct clutch piston, and compress the return spring with a press.
      Fig 42: Installing Snap Ring
      GTY124571Courtesy of © TOYOTA, LICENSE AGREEMENT TMS1002
      • SST: 09320-89010 
      • SST: 09350-30020 
        • 09350-07070
    5. Install the snap ring with a snap ring expander.
      NOTE:
      • Be sure that the end gap of the snap ring is not aligned with the spring retainer claw.
      • Stop pressing when the spring sheet is lowered to the place 1 to 2 mm (0.0394 to 0.0787 in.) from the snap ring groove to prevent the spring sheet from being deformed.
      • Do not expand the snap ring excessively.
    6. Set the end gap of the snap ring in the piston as shown in the illustration.
      Fig 43: Identifying Snap Ring End Gap
      GTY276297Courtesy of © TOYOTA, LICENSE AGREEMENT TMS1002
      TEXT IN ILLUSTRATION

      *1 Stopper
  32. INSTALL REVERSE CLUTCH PISTON SUB-ASSEMBLY 
    1. Coat a new O-ring with ATF, and install it on the reverse clutch drum sub-assembly.
      Fig 44: Identifying Clutch Drum O-Ring
      GTY107779Courtesy of © TOYOTA, LICENSE AGREEMENT TMS1002
    2. Coat a new O-ring with ATF, and install it on the reverse clutch piston sub-assembly.
      Fig 45: Identifying Reverse Clutch Piston Sub-Assembly O-Ring
      GTY107777Courtesy of © TOYOTA, LICENSE AGREEMENT TMS1002
    3. Press the reverse clutch drum sub-assembly into the reverse clutch piston with both hands.
      Fig 46: Identifying Reverse Clutch Drum Sub-Assembly & Reverse Clutch Piston
      GTY107776Courtesy of © TOYOTA, LICENSE AGREEMENT TMS1002
      NOTE:

      Do not damage the O-rings.

  33. INSTALL REVERSE CLUTCH RETURN SPRING SUB-ASSEMBLY 
    1. Coat a new O-ring with ATF, and install it on the reverse clutch piston sub-assembly.
    2. Install the reverse clutch return spring onto the reverse clutch piston sub-assembly.
      Fig 47: Identifying O-Ring On Reverse Clutch Piston Sub-Assembly
      GTY103355Courtesy of © TOYOTA, LICENSE AGREEMENT TMS1002
  34. INSTALL NO. 3 CLUTCH BALANCER 
    1. Install the No. 3 clutch balancer to the reverse clutch return spring.
      Fig 48: View Of Installing Clutch Balancer No. 3 Snap Ring
      GTY107774Courtesy of © TOYOTA, LICENSE AGREEMENT TMS1002
    2. Place SST on the No. 3 clutch balancer, and compress the clutch balancer with a press.
      • SST: 09387-00070 
    3. Install the snap ring with a snap ring expander.
      • SST: 09350-30020 
        • 09350-07070
      NOTE:
      • Be sure that the end gap of the snap ring is not aligned with the spring retainer claw.
      • Stop pressing when the spring sheet is lowered to the place 1 to 2 mm (0.0394 to 0.0787 in.) from the snap ring groove to prevent the spring sheet from being deformed.
      • Do not expand the snap ring excessively.
    4. Set the end gap of the snap ring in the piston as shown in the illustration.
      Fig 49: Identifying Snap Ring Gap
      GTY286156Courtesy of © TOYOTA, LICENSE AGREEMENT TMS1002
      TEXT IN ILLUSTRATION

      *1 OK
      *2 Snap Ring
      *3 NG
  35. INSTALL NO. 2 DIRECT CLUTCH DISC 
    1. Install the reverse clutch flange, 6 No. 2 clutch plates and 5 No. 2 clutch discs on the reverse clutch drum sub-assembly.
      Fig 50: Identifying No. 2 Direct Clutch Discs
      GTY269557Courtesy of © TOYOTA, LICENSE AGREEMENT TMS1002

      Installation order

      *3 - *2 - *1 - *2 - *1 - *2 - *1 - *2 - *1 - *2 - *1 - *1

      TEXT IN ILLUSTRATION

      *1 No. 2 Clutch Plate
      *2 No. 2 Clutch Disc
      *3 Reverse Clutch Flange
    2. Using a screwdriver, install the 2 hole snap rings on the reverse clutch drum sub-assembly.
      Fig 51: View Of Removing/Installing Clutch Drum Hole Snap Rings
      GTY101013Courtesy of © TOYOTA, LICENSE AGREEMENT TMS1002
  36. INSPECT PACK CLEARANCE OF NO. 2 DIRECT CLUTCH  See step  25
  37. INSTALL REVERSE CLUTCH FLANGE 
    1. Install the reverse clutch flange to the reverse clutch drum sub-assembly.
      Fig 52: Identifying Reverse Clutch Flange
      GTY101235Courtesy of © TOYOTA, LICENSE AGREEMENT TMS1002
  38. INSTALL REVERSE CLUTCH REACTION SLEEVE 
    1. Install the reverse clutch reaction sleeve, clutch cushion plate, reverse clutch flange, 5 No. 3 clutch discs and 4 No. 3 clutch plates to the reverse clutch hub.
      Fig 53: Identifying Reverse Clutch Reaction Sleeve Installation Order
      GTY282901Courtesy of © TOYOTA, LICENSE AGREEMENT TMS1002

      Installation order

      *1 - *2 - *3 - *4 - *5 - *4 - *5 - *4 - *5 - *4 - *5 - *4

    2. Using a screwdriver, install the hole snap ring.
      TEXT IN ILLUSTRATION

      *1 Reverse Clutch Reaction Sleeve
      *2 Clutch Cushion Plate
      *3 Reverse Clutch Flange
      *4 No. 3 Clutch Disc
      *5 No. 3 Clutch Plate
  39. INSPECT PACK CLEARANCE OF NO. 3 CLUTCH  See step  26
  40. REMOVE REVERSE CLUTCH REACTION SLEEVE 
    1. Using a screwdriver, remove the snap ring from the reverse clutch drum sub-assembly.
      Fig 54: Removing Snap Ring From Reverse Clutch Drum Sub-Assembly
      GTY149657Courtesy of © TOYOTA, LICENSE AGREEMENT TMS1002
    2. Remove the reverse clutch reaction sleeve, clutch cushion plate, reverse clutch flange, 5 reverse clutch discs and 4 clutch plates from the reverse clutch hub sub-assembly.
      Fig 55: Removing Reverse Clutch Discs And Clutch Plates From Reverse Clutch Hub Sub-Assembly
      GTY149656Courtesy of © TOYOTA, LICENSE AGREEMENT TMS1002
  41. INSTALL FORWARD CLUTCH PISTON SUB-ASSEMBLY 
    1. Install the coast clutch piston to the forward clutch piston sub-assembly.
      Fig 56: Identifying Coast Clutch Piston & Forward Clutch Piston
      GTY107856Courtesy of © TOYOTA, LICENSE AGREEMENT TMS1002
    2. Coat a new O-ring with ATF, and install it on the input shaft.
    3. Install the forward clutch piston sub-assembly to the input shaft.
  42. INSTALL NO. 1 CLUTCH BALANCER 
    1. Coat a new D-ring with ATF and install it on the No. 1 clutch balancer.
      Fig 57: Identifying O-Ring From Clutch Balancer No. 1
      GTY107785Courtesy of © TOYOTA, LICENSE AGREEMENT TMS1002
    2. Install the No. 1 clutch balancer and forward clutch return spring sub-assembly.
      Fig 58: Identifying Clutch Balancer No 1 And Forward Clutch Return Spring Sub-Assembly
      GTY107879Courtesy of © TOYOTA, LICENSE AGREEMENT TMS1002
      NOTE:

      Do not damage the D-ring.

    3. Place SST on the No. 1 clutch balancer, and compress the return spring with a press.
      • SST: 09350-30020 
        • 09350-07040
        • 09350-07070
      Fig 59: Identifying Snap Ring
      GTY100026Courtesy of © TOYOTA, LICENSE AGREEMENT TMS1002
    4. Install the snap ring with a snap ring expander.
      NOTE:
      • Be sure that the end gap of the snap ring is not aligned with the spring retainer claw.
      • Stop pressing when the spring sheet is lowered to the place 1 to 2 mm (0.0394 to 0.0787 in.) from the snap ring groove to prevent the spring sheet from being deformed.
      • Do not expand the snap ring excessively.
    5. Set the end gap of the snap ring in the piston as shown in the illustration.
      Fig 60: Identifying Snap Ring Gap
      GTY283426Courtesy of © TOYOTA, LICENSE AGREEMENT TMS1002
      TEXT IN ILLUSTRATION

      *1 OK
      *2 Snap Ring
      *3 NG
  43. INSTALL COAST CLUTCH DISC 
    1. Install the flange, 3 coast clutch discs and 3 coast clutch plates to the forward clutch piston sub-assembly.
      Fig 61: Identifying Coast Clutch Disc Installation Order
      GTY284288Courtesy of © TOYOTA, LICENSE AGREEMENT TMS1002

      Installation order

      *1 - *3 - *2 - *3 - *2 - *3 - *2

    2. Using a screwdriver, install the hole snap ring.
      TEXT IN ILLUSTRATION

      *1 Flange
      *2 Coast Clutch Plate
      *3 Coast Clutch Disc
  44. INSPECT PACK CLEARANCE OF COAST CLUTCH  See step  29
  45. INSTALL NO. 1 CLUTCH DISC 
    1. Install the flange, 4 No. 1 clutch discs, 4 No. 1 clutch plates and clutch cushion plate to the input shaft assembly.
      Fig 62: Identifying No. 1 Clutch Disc Installation Order
      GTY286099Courtesy of © TOYOTA, LICENSE AGREEMENT TMS1002

      Installation order

      *1 - *4 - *2 - *4 - *2 - *4 - *2 - *4 - *2 - *3

      TEXT IN ILLUSTRATION

      *1 Flange
      *2 No. 1 Clutch Plate
      *3 Clutch Cushion Plate
      *4 No. 1 Clutch Disc
    2. Using a screwdriver, install the hole snap ring.
      Fig 63: Identifying Input Shaft Hole Snap Ring
      GTY275567Courtesy of © TOYOTA, LICENSE AGREEMENT TMS1002
      TEXT IN ILLUSTRATION

      *1 Input Shaft
    3. Install the thrust needle roller bearing and thrust bearing race.
      Fig 64: Identifying Thrust Needle Roller Bearing
      GTY285322Courtesy of © TOYOTA, LICENSE AGREEMENT TMS1002

      Thrust Needle Roller Bearing and Race Diameter

        Inside Outside
      Thrust needle roller bearing 34.6 mm (1.36 in.) 52.0 mm (2.05 in.)
      Thrust bearing race 37.0 mm (1.46 in.) 52.3 mm (2.06 in.)
      TEXT IN ILLUSTRATION

      *1 Thrust Needle Roller Bearing
      *2 Thrust Bearing Race
      *3 Reverse Clutch Drum Sub-assembly
  46. INSTALL INPUT SHAFT OIL SEAL RING 
    1. Coat 4 new oil seal rings with ATF.
      Fig 65: Identifying Oil Seal Rings
      GTY100829Courtesy of © TOYOTA, LICENSE AGREEMENT TMS1002
    2. Squeeze the ends of the 4 oil seal rings together, and then install them to the starter shaft groove.
      NOTE:

      Do not expand the ring ends excessively.

      HINT: 

      After installing the oil seal rings, check that they rotate smoothly.

  47. INSPECT PACK CLEARANCE OF NO. 1 CLUTCH  See step  31
  48. INSTALL INPUT SHAFT 
    1. Install the input shaft to the reverse clutch drum sub-assembly.
      Fig 66: View Of Input Shaft Assembly And Clutch Drum
      GTY107882Courtesy of © TOYOTA, LICENSE AGREEMENT TMS1002
    2. Install the thrust needle roller bearing to the reverse clutch drum sub-assembly.
      Fig 67: Identifying Thrust Needle Roller Bearing
      GTY265933Courtesy of © TOYOTA, LICENSE AGREEMENT TMS1002

      Thrust Needle Roller Bearing Diameter

        Inside Outside
      Thrust needle roller bearing 21.3 mm (0.839 in.) 41.1 mm (1.62 in.)
  49. INSTALL COAST CLUTCH HUB SUB-ASSEMBLY 
    1. Install the underdrive one-way clutch, clutch hub thrust washer and input shaft rear thrust bearing race to the coast clutch hub.
      Fig 68: Identifying Coast Clutch Hub Sub-Assembly Bearing Race
      GTY269401Courtesy of © TOYOTA, LICENSE AGREEMENT TMS1002

      Bearing and Race Diameter

        Inside Outside
      Input shaft rear thrust bearing race 22.6 mm (0.890 in.) 44.8 mm (1.76 in.)
      TEXT IN ILLUSTRATION

      *1 Bearing Race
      *2 Thrust Washer
    2. Install the coast clutch hub sub-assembly to the reverse clutch drum sub-assembly.
      Fig 69: Identifying Coast Clutch Hub Sub-Assembly
      GTY107849Courtesy of © TOYOTA, LICENSE AGREEMENT TMS1002
  50. INSTALL CLUTCH HUB SUB-ASSEMBLY 
    1. Install the 2 thrust needle roller bearings to the clutch hub sub-assembly.
      Fig 70: Identifying Clutch Hub Sub-Assembly Bearing
      GTY268172Courtesy of © TOYOTA, LICENSE AGREEMENT TMS1002

      Bearing and Race Diameter

        Inside Outside
      Bearing A 42.5 mm (1.67 in.) 61.2 mm (2.41 in.)
      Bearing B 35.6 mm (1.40 in.) 56.6 mm (2.23 in.)
      TEXT IN ILLUSTRATION

      *1 Bearing A
      *2 Bearing B
    2. Install the clutch hub thrust washer and forward clutch hub sub-assembly to the reverse clutch drum sub-assembly.
      Fig 71: Identifying Clutch Hub Thrust Washer
      GTY122612Courtesy of © TOYOTA, LICENSE AGREEMENT TMS1002
  51. INSTALL NO. 3 CLUTCH DISC 
    1. Install the clutch cushion plate, reverse clutch flange, 4 No. 3 clutch plates and 5 No. 3 clutch discs to the reverse clutch hub.
      Fig 72: Identifying No. 3 Clutch Disc Installation Order
      GTY275923Courtesy of © TOYOTA, LICENSE AGREEMENT TMS1002

      Installation order

      *1 - *2 - *4 - *3 - *4 - *3 - *4 - *3 - *4 - *3 - *4

      TEXT IN ILLUSTRATION

      *1 Cushion Plate
      *2 Reverse Clutch Flange
      *3 No. 3 Clutch Plate
      *4 No. 3 Clutch Disc
  52. INSTALL REVERSE CLUTCH REACTION SLEEVE 
    1. Install the reverse clutch reaction sleeve to the reverse clutch hub.
      Fig 73: Identifying Reverse Clutch Reaction Sleeve
      GTY102209Courtesy of © TOYOTA, LICENSE AGREEMENT TMS1002
  53. INSTALL REVERSE CLUTCH HUB SUB-ASSEMBLY 
    1. Install the reverse clutch hub sub-assembly, reverse clutch reaction sleeve, clutch cushion plate, reverse clutch flange, 5 No. 3 clutch discs and No. 3 clutch plates to the reverse clutch drum sub-assembly.
      Fig 74: Identifying Reverse Clutch Hub Sub-Assembly
      GTY149549Courtesy of © TOYOTA, LICENSE AGREEMENT TMS1002
    2. Using a screwdriver, install the snap ring on the reverse clutch drum sub-assembly and input shaft assembly.
      Fig 75: View Of Installing Clutch Drum And Input Shaft Assembly Snap Ring
      GTY107762Courtesy of © TOYOTA, LICENSE AGREEMENT TMS1002
  54. INSTALL NO. 2 ONE-WAY CLUTCH ASSEMBLY 
    1. Install the No. 2 one-way clutch assembly and No. 2 clutch drum thrust washer to the clutch drum and input shaft.
      Fig 76: View Of 1 Way no. 2 Clutch Assembly And Clutch Drum Thrust Washer
      GTY107760Courtesy of © TOYOTA, LICENSE AGREEMENT TMS1002
  55. INSTALL CLUTCH DRUM AND INPUT SHAFT 
    1. Install the thrust needle roller bearings and thrust washer.
      Fig 77: Identifying Thrust Needle Roller Bearings And Thrust Washer
      GTY287491Courtesy of © TOYOTA, LICENSE AGREEMENT TMS1002
      TEXT IN ILLUSTRATION

      *1 Thrust Needle Roller Bearing A
      *2 Bearing Race
      *3 Thrust Needle Roller Bearing B
      *4 Clutch Drum Thrust Washer
    2. Coat the race with petroleum jelly and install it onto the clutch drum and input shaft assembly.

      Thrust Needle Roller Bearing and Race Diameter

        Inside Outside
      Thrust needle roller bearing A 71.9 mm (2.83 in.) 85.6 mm (3.37 in.)
      Thrust needle roller bearing B 34.6 mm (1.36 in.) 52.0 mm (2.05 in.)
      Bearing Race 37.0 mm (1.45 in.) 52.3 mm (2.06 in.)
    3. Install the clutch drum and input shaft into the transmission case.
      Fig 78: Installing Clutch Drum And Input Shaft Assembly Into Transmission Case
      GTY149655Courtesy of © TOYOTA, LICENSE AGREEMENT TMS1002
  56. INSTALL OIL PUMP ASSEMBLY 
    1. Install the No. 1 thrust bearing race to the oil pump.
      Fig 79: Identifying No. 1 Thrust Bearing Race
      GTY103513Courtesy of © TOYOTA, LICENSE AGREEMENT TMS1002

      Thrust Bearing Race Diameter

        Inside Outside
      Thrust bearing race 74.2 mm (2.92 in.) 87.74 mm (3.45 in.)
    2. Coat a new O-ring with ATF, and install it around the oil pump assembly.
      Fig 80: Identifying O-Ring
      GTY102611Courtesy of © TOYOTA, LICENSE AGREEMENT TMS1002
    3. Place the oil pump through the input shaft, and align the bolt holes of the oil pump assembly with the transmission case.
    4. Hold the input shaft, and lightly press the oil pump to slide the oil seal rings into the overdrive direct clutch drum.
    5. Install the 10 bolts.
      Fig 81: Identifying Oil Pump Assembly Bolts
      GTY142551Courtesy of © TOYOTA, LICENSE AGREEMENT TMS1002

      Torque: 21 N*m (214 kgf*cm, 15 ft.*lbf) 

  57. INSTALL MANUAL VALVE LEVER SHAFT OIL SEAL 
    1. Using SST and a hammer, drive in 2 new oil seals.
      Fig 82: Identifying Manual Valve Lever Shaft Oil Seal
      GTY277423Courtesy of © TOYOTA, LICENSE AGREEMENT TMS1002
      TEXT IN ILLUSTRATION

      *1 RH Side
      *2 LH Side
      • SST: 09350-30020 
        • 09350-07110

      Oil seal drive in depth

      -0.3 to 0.3 mm (-0.0118 to 0.0118 in.)

    2. Coat the oil seal lips with MP grease.
  58. INSPECT INDIVIDUAL PISTON OPERATION  See step  20
  59. INSTALL MANUAL VALVE LEVER SUB-ASSEMBLY 
    1. Install a new spacer to the manual valve lever.
      Fig 83: Identifying Manual Valve Lever Spacer
      GTY283524Courtesy of © TOYOTA, LICENSE AGREEMENT TMS1002
      TEXT IN ILLUSTRATION

      *1 Manual Valve Lever
      *2 Spacer
    2. Install the manual valve lever shaft to the transmission case through the manual valve lever.
    3. Using a hammer, drive in a new spring pin.
      Fig 84: Installing Spring Pin
      GTY149622Courtesy of © TOYOTA, LICENSE AGREEMENT TMS1002
    4. Align the manual valve lever indentation with the spacer hole, and stake them together with the punch.
      Fig 85: Aligning Manual Valve Lever Indentation With Spacer Hole
      GTY149739Courtesy of © TOYOTA, LICENSE AGREEMENT TMS1002
    5. Make sure that the shaft rotates smoothly.
  60. INSTALL PARKING LOCK PAWL SHAFT 
    1. Install a new E-ring to the shaft.
      Fig 86: Identifying Parking Lock Pawl Shaft Spring
      GTY276105Courtesy of © TOYOTA, LICENSE AGREEMENT TMS1002
    2. Install the parking lock pawl, shaft and spring.
      TEXT IN ILLUSTRATION

      *1 Parking Lock Pawl
      *2 E-ring
      *3 Spring
  61. INSTALL PARKING LOCK ROD SUB-ASSEMBLY 
    1. Connect the parking lock rod to the manual valve lever.
      Fig 87: View Of Parking Lock Rod And Manual Valve Lever
      GTY103238Courtesy of © TOYOTA, LICENSE AGREEMENT TMS1002
  62. INSTALL PARKING LOCK PAWL BRACKET 
    1. Place the parking lock pawl bracket onto the transmission case and tighten the 3 bolts.
      Fig 88: Identifying Parking Lock Pawl Bracket
      GTY107836Courtesy of © TOYOTA, LICENSE AGREEMENT TMS1002

      Torque: 7.4 N*m (75 kgf*cm, 65 in.*lbf) 

    2. Shift the manual valve lever to the P position, and confirm that the planetary gear is correctly locked up by the lock pawl.
      Fig 89: Identifying Manual Valve Lever
      GTY278582Courtesy of © TOYOTA, LICENSE AGREEMENT TMS1002
      TEXT IN ILLUSTRATION

      *1 Manual Valve Lever
      *2 Planetary Ring Gear
      *3 Lock Pawl
  63. INSTALL B-1 ACCUMULATOR VALVE 
    1. Install the 2 springs and accumulator valve to the hole.
      Fig 90: Identifying Springs And Accumulator Valve
      GTY102131Courtesy of © TOYOTA, LICENSE AGREEMENT TMS1002
      Fig 91: Identifying Accumulator Springs
      GTY284103Courtesy of © TOYOTA, LICENSE AGREEMENT TMS1002

      B-1 Accumulator Spring

      INNER SPRING

      Free Length Outer Diameter Color
      44.98 mm (1.77 in.) 11.30 mm (0.445 in.) Natural
      OUTER SPRING

      Free Length Outer Diameter Color
      46.36 mm (1.83 in.) 17.10 mm (0.673 in.) Natural
      TEXT IN ILLUSTRATION

      *1 Outer Spring
      *2 Inner Spring
  64. INSTALL C-3 ACCUMULATOR PISTON 
    1. Coat 2 new O-rings with ATF, and install them to the piston.
      Fig 92: Identifying C-3 Accumulator Spring O-Rings
      GTY259963Courtesy of © TOYOTA, LICENSE AGREEMENT TMS1002
    2. Install the 2 springs and accumulator piston to the hole.

      C-3 Accumulator Spring

      INNER SPRING

      Free Length Outer Diameter Color
      44.0 mm (1.73 in.) 14.0 mm (0.551 in.) Yellow
      OUTER SPRING

      Free Length Outer Diameter Color
      76.65 mm (3.02 in.) 20.10 mm (0.791 in.) Natural
      TEXT IN ILLUSTRATION

      *1 Outer Spring
      *2 Inner Spring
      *3 O-ring
  65. INSTALL B-3 ACCUMULATOR PISTON 
    1. Coat 2 new O-rings with ATF, and install them to the piston.
      Fig 93: Identifying B-3 Accumulator Spring O-Rings
      GTY280875Courtesy of © TOYOTA, LICENSE AGREEMENT TMS1002
    2. Install the spring and accumulator piston to the hole.

      Accumulator Spring

      Free Length Outer Diameter Color
      64.5 mm (2.54 in.) 19.5 mm (0.768 in.) Orange
      TEXT IN ILLUSTRATION

      *1 Accumulator Piston
      *2 Spring
      *3 O-ring
  66. INSTALL C-2 ACCUMULATOR PISTON 
    1. Coat 2 new O-rings with ATF, and install them to the piston.
      Fig 94: Identifying C-2 Accumulator Spring O-Rings
      GTY271411Courtesy of © TOYOTA, LICENSE AGREEMENT TMS1002
    2. Install the spring and accumulator piston to the hole.

      Accumulator Spring

      Free Length Outer Diameter Color
      63.14 mm (2.49 in.) 16.0 mm (0.630 in.) Light Gray
      TEXT IN ILLUSTRATION

      *1 Accumulator Piston
      *2 Spring
      *3 O-ring
  67. INSTALL CHECK BALL BODY 
    1. Install the check ball body and spring.
      Fig 95: Identifying Check Ball Body
      GTY254385Courtesy of © TOYOTA, LICENSE AGREEMENT TMS1002
      TEXT IN ILLUSTRATION

      *1 Check Ball Body
      *2 Spring
  68. INSTALL BRAKE DRUM GASKET 
    1. Install 3 new brake drum gaskets.
      Fig 96: Identifying Brake Drum Gaskets
      GTY107757Courtesy of © TOYOTA, LICENSE AGREEMENT TMS1002
  69. INSTALL TRANSAXLE CASE GASKET 
    1. Install 3 new transaxle case gaskets.
      Fig 97: Identifying Transaxle Case Gasket
      GTY269642Courtesy of © TOYOTA, LICENSE AGREEMENT TMS1002
      TEXT IN ILLUSTRATION

      *1 Gasket
  70. INSTALL TRANSMISSION VALVE BODY ASSEMBLY 
    1. Align the groove of the manual valve lever with the pin of the manual valve.
      Fig 98: Identifying Transmission Valve Body Assembly Pin
      GTY270313Courtesy of © TOYOTA, LICENSE AGREEMENT TMS1002
      TEXT IN ILLUSTRATION

      *1 Pin
    2. Install the 20 bolts.
      Fig 99: Identifying Transmission Valve Body Bolts
      GTY107835Courtesy of © TOYOTA, LICENSE AGREEMENT TMS1002

      Torque: 11 N*m (112 kgf*cm, 8 ft.*lbf) 

      HINT: 

      Each bolt length is indicated below.

      Bolt length

      Bolt A 

      25 mm (0.984 in.)

      Bolt B 

      36 mm (1.42 in.)

      Bolt C 

      45 mm (1.77 in.)

      Bolt D 

      50 mm (1.97 in.)

    3. Install the detent spring and detent spring cover with the bolt.
      Fig 100: Identifying Detent Spring And Detent Spring Cover
      GTY101604Courtesy of © TOYOTA, LICENSE AGREEMENT TMS1002

      Torque: 10 N*m (102 kgf*cm, 7 ft.*lbf) 

  71. INSTALL TRANSMISSION WIRE 
    1. Coat a new O-ring with ATF.
      Fig 101: Identifying Transmission Wire O-Ring
      GTY267698Courtesy of © TOYOTA, LICENSE AGREEMENT TMS1002
      TEXT IN ILLUSTRATION

      *1 O-ring
    2. Install the O-ring to the transmission wire.
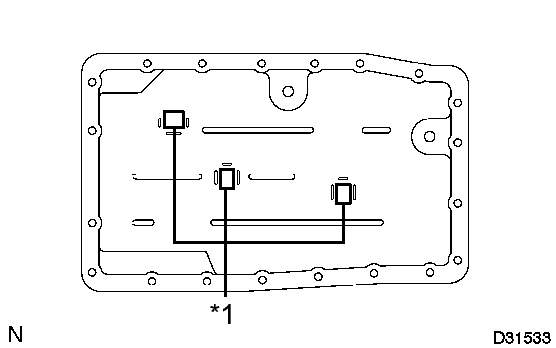
    3. Install the transmission wire.
      Fig 102: Location of Transmission Internal Wiring Harness bolt
      GTY104188Courtesy of © TOYOTA, LICENSE AGREEMENT TMS1002
    4. Install the bolt.

      Torque: 5.4 N*m (55 kgf*cm, 48 in.*lbf) 

    5. Connect the 9 solenoid connectors.
      Fig 103: Location of Solenoid Valves Connectors
      GTY104237Courtesy of © TOYOTA, LICENSE AGREEMENT TMS1002
    6. Install the clamps with the 2 bolts.
      Fig 104: Location of Clamps And Bolts
      GTY100391Courtesy of © TOYOTA, LICENSE AGREEMENT TMS1002

      Bolt A 

      Torque: 6.4 N*m (65 kgf*cm, 57 in.*lbf) 

      Bolt B 

      Torque: 10 N*m (102 kgf*cm, 7 ft.*lbf) 

  72. INSTALL TEMPERATURE SENSOR CLAMP 
    1. Install the ATF temperature sensor and clamp with the bolt.
      Fig 105: Location of ATF Temperature Sensor Locking Plate Bolt
      GTY106498Courtesy of © TOYOTA, LICENSE AGREEMENT TMS1002

      Torque: 10 N*m (102 kgf*cm, 7 ft.*lbf) 

  73. INSTALL VALVE BODY OIL STRAINER ASSEMBLY 
    1. Coat a new O-ring with ATF, and install it to the valve body oil strainer assembly.
      Fig 106: Identifying Valve Body Oil Strainer Assembly O-Ring
      GTY254006Courtesy of © TOYOTA, LICENSE AGREEMENT TMS1002
      TEXT IN ILLUSTRATION

      *1 O-ring
    2. Install the oil strainer with the 4 bolts.
      Fig 107: Identifying Valve Body Oil Strainer Bolts
      GTY128384Courtesy of © TOYOTA, LICENSE AGREEMENT TMS1002

      Torque: 10 N*m (102 kgf*cm, 7 ft.*lbf) 

  74. INSTALL TRANSMISSION OIL CLEANER MAGNET 
    1. Install the 3 transmission oil cleaner magnets.
      Fig 108: Identifying Oil Pan Magnets
      GTY258763Courtesy of © TOYOTA, LICENSE AGREEMENT TMS1002
      TEXT IN ILLUSTRATION

      *1 Magnet
  75. INSTALL AUTOMATIC TRANSMISSION OIL PAN SUB-ASSEMBLY 
    1. Install a new gasket on the oil pan.
    2. Install and tighten the 20 bolts.
      Fig 109: Identifying Oil Pan Bolts
      GTY101524Courtesy of © TOYOTA, LICENSE AGREEMENT TMS1002

      Torque: 4.4 N*m (45 kgf*cm, 39 in.*lbf) 

    3. Install a new gasket and the drain plug.

      Torque: 20 N*m (204 kgf*cm, 15 ft.*lbf) 

    4. Install a new gasket and the overflow plug.

      Torque: 20 N*m (204 kgf*cm, 15 ft.*lbf) 

  76. INSTALL AUTOMATIC TRANSMISSION EXTENSION HOUSING OIL SEAL 
    1. Coat the lip of a new oil seal with MP grease.
    2. Using SST and a hammer, install the new oil seal.
      Fig 110: Identifying Automatic Transmission Extension Housing Oil Seal
      GTY255130Courtesy of © TOYOTA, LICENSE AGREEMENT TMS1002
      • SST: 09316-60011 
        • 09316-00011
        • 09316-00051

      Oil seal drive in depth

      1.8 to 2.2 mm (0.0709 to 0.0866 in.)

  77. INSTALL TRANSMISSION CASE ADAPTER RADIAL BALL BEARING 
    1. Install the transmission case adapter radial ball bearing to the extension housing sub-assembly.
      Fig 111: Identifying Transmission Case Adaptor Radial Ball Bearing
      GTY107208Courtesy of © TOYOTA, LICENSE AGREEMENT TMS1002
  78. INSTALL REAR COVER SLEEVE 
    1. Install the 2 washers and rear cover sleeve to the output shaft.
      Fig 112: Identifying Washers And RR Cover Sleeve
      GTY149720Courtesy of © TOYOTA, LICENSE AGREEMENT TMS1002
  79. INSTALL EXTENSION HOUSING SUB-ASSEMBLY 
    1. Install the thrust needle roller bearing and 2 bearing races.
      Fig 113: Identifying Snap Ring
      GTY139916Courtesy of © TOYOTA, LICENSE AGREEMENT TMS1002
    2. Using a snap ring expander, install the snap ring.
    3. Using a feeler gauge, measure the clearance between the snap ring and the race.
      Fig 114: Measuring Clearance Between Snap Ring And Race
      GTY149658Courtesy of © TOYOTA, LICENSE AGREEMENT TMS1002

      Clearance

      0.02 to 0.12 mm (0.000787 to 0.00472 in.)

      If the clearance is outside the specified range, select another race that brings the clearance within the specified range.

      HINT: 

      There are 12 different thicknesses for the race.

      Flange Thickness

      Mark Thickness Mark Thickness
      1 3.80 mm (0.150 in.) 7 4.10 mm (0.161 in.)
      2 3.85 mm (0.152 in.) 8 4.15 mm (0.163 in.)
      3 3.90 mm (0.154 in.) 9 4.20 mm (0.165 in.)
      4 3.95 mm (0.156 in.) 10 4.25 mm (0.167 in.)
      5 4.00 mm (0.157 in.) 11 4.30 mm (0.169 in.)
      6 4.05 mm (0.159 in.) 12 4.35 mm (0.171 in.)
    4. Clean the threads of the bolts and the case with non-residue solvent.
    5. Apply FIPG to the extension housing as shown in the illustration.
      Fig 115: Applying FIPG To Extension Housing
      GTY149719Courtesy of © TOYOTA, LICENSE AGREEMENT TMS1002

      FIPG

      Toyota Genuine Seal Packing 1281, Three Bond 1281 or equivalent

    6. Install the extension housing with 6 new bolts.
      Fig 116: Identifying Extension Housing Bolts
      GTY138057Courtesy of © TOYOTA, LICENSE AGREEMENT TMS1002

      Torque: 34 N*m (347 kgf*cm, 25 ft.*lbf) 

      HINT: 

      Each bolt length is indicated below.

      Bolt length

      Bolt A 

      45 mm (1.77 in.)

      Bolt B 

      35 mm (1.38 in.)

  80. INSTALL AUTOMATIC TRANSMISSION FLANGE YOKE ASSEMBLY 
    1. Using SST, install a new oil seal to the automatic transmission flange yoke.
      Fig 117: Identifying Automatic Transmission Flange Yoke Assembly Oil Seal
      GTY268246Courtesy of © TOYOTA, LICENSE AGREEMENT TMS1002
      • SST: 09950-60010 
        • 09951-00350
      • SST: 09950-70010 
        • 09951-07100

      Oil seal drive in depth

      0 to 0.3 mm (0 to 0.0118 in.)

    2. Install the automatic transmission flange yoke to the output shaft with a new nut.

      Torque: 126 N*m (1285 kgf*cm, 93 ft.*lbf) 

    3. Using a hammer and chisel, stake the nut.
  81. INSTALL AUTOMATIC TRANSMISSION HOUSING 
    1. Clean the threads of the bolts and the case with non-residue solvent.
      Fig 118: Location of Automatic Transmission Housing Bolts
      GTY360695Courtesy of © TOYOTA, LICENSE AGREEMENT TMS1002
    2. Install the transmission housing with the 10 bolts.

      A (14 mm bolt) 

      Torque: 34 N*m (347 kgf*cm, 25 ft.*lbf) 

      B (17 mm bolt) 

      Torque: 57 N*m (581 kgf*cm, 42 ft.*lbf) 

  82. INSTALL AUTOMATIC TRANSMISSION BREATHER TUBE 
    1. Install the breather tube.
      Fig 119: Identifying Automatic Transmission Breather Tube
      GTY106782Courtesy of © TOYOTA, LICENSE AGREEMENT TMS1002
    2. Install the 2 bolts.

      Torque: 5.4 N*m (55 kgf*cm, 48 in.*lbf) 

  83. INSTALL TRANSMISSION REVOLUTION SENSOR 
    1. Coat 2 new O-rings with ATF, and install them to the transmission revolution sensors.
      Fig 120: Identifying Transmission Revolution Sensors
      GTY107827Courtesy of © TOYOTA, LICENSE AGREEMENT TMS1002
    2. Install the 2 transmission revolution sensors.
    3. Install the 2 bolts.

      Torque: 5.4 N*m (55 kgf*cm, 48 in.*lbf) 

  84. INSTALL TRANSMISSION OIL COOLER 
    1. Coat 2 new O-rings with ATF, and install them to the transmission oil cooler.
      Fig 121: 2 New O-Rings
      GTY352552Courtesy of © TOYOTA, LICENSE AGREEMENT TMS1002
      TEXT IN ILLUSTRATION

      *1 O-ring
      *2 Spacer
    2. Coat 2 new O-rings with ATF, and install them to the spacer.
    3. Install the spacer and transmission oil cooler with the 3 bolts.
      Fig 122: Identifying Transmission Oil Cooler Bolts
      GTY100631Courtesy of © TOYOTA, LICENSE AGREEMENT TMS1002

      Torque: 21 N*m (214 kgf*cm, 16 ft.*lbf) 

  85. INSTALL PARK/NEUTRAL POSITION SWITCH ASSEMBLY 
    1. Install the park/neutral position switch onto the manual valve lever shaft, and temporarily install the adjusting bolt.
      Fig 123: Identifying Park/Neutral Position Switch
      GTY103637Courtesy of © TOYOTA, LICENSE AGREEMENT TMS1002

      HINT: 

      Make sure that the manual valve lever shaft has not been rotated prior to installing the park/neutral position switch as the detent spring may become detached from the manual valve lever shaft.

    2. Install a new lock washer. Install and tighten the nut.

      Torque: 6.9 N*m (70 kgf*cm, 61 in.*lbf) 

    3. Using the control shaft lever, turn the manual lever shaft all the way back and then forward 2 notches to select the neutral position.
      Fig 124: Turning Manual Lever Shaft
      GTY100191Courtesy of © TOYOTA, LICENSE AGREEMENT TMS1002
    4. Align the neutral basic line with the switch groove as shown in the illustration, and tighten the adjusting bolt.
      Fig 125: Identifying Neutral Basic Line
      GTY273595Courtesy of © TOYOTA, LICENSE AGREEMENT TMS1002

      Torque: 13 N*m (133 kgf*cm, 9 ft.*lbf) 

      TEXT IN ILLUSTRATION

      *1 Bolt
      *2 Neutral Basic Line
      *3 Groove
    5. Using a screwdriver, bend the tabs of the lock washer.
      Fig 126: Bending Tabs Of Lock Washer
      GTY141222Courtesy of © TOYOTA, LICENSE AGREEMENT TMS1002

      HINT: 

      Bend at least 2 of the lock washer tabs.

  86. INSTALL TRANSMISSION CONTROL SHAFT LEVER RH 
    1. Install the control shaft lever RH, spring washer and nut.
      Fig 127: Identifying Transmission Control Shaft Lever RH
      GTY107163Courtesy of © TOYOTA, LICENSE AGREEMENT TMS1002

      Torque: 16 N*m (163 kgf*cm, 12 ft.*lbf) 

  87. INSTALL TRANSMISSION CASE COVER 
    1. Install the transmission case cover with the 2 bolts.
      Fig 128: Location of Transmission Case Cover Bolts
      GTY107207Courtesy of © TOYOTA, LICENSE AGREEMENT TMS1002

      Torque: 5.4 N*m (55 kgf*cm, 48 in.*lbf)