LEMON Manuals: Even more car manuals for everyone: 1960-2025
Home >> Lexus >> 2012 >> IS 350C >> Repair and Diagnosis >> Transmission >> Automatic Trans >> Automatic Transmission (Service Information) >> Shift Lever >> Disassembly >> Disassembly
April 5, 2026: LEMON Manuals is launched! Read the announcement.

Shift Lever: Disassembly: Disassembly

  1. REMOVE TRANSMISSION CONTROL SWITCH 
    1. Remove the transmission control switch connector from the floor shift assembly.
      Fig 1: Identifying Transmission Control Switch Connector
      GTY277216Courtesy of © TOYOTA, LICENSE AGREEMENT TMS1002
    2. Remove the shift lever support and lock pin from the floor shift assembly.
      Fig 2: Identifying Shift Lever Support And Lock Pin
      GTY285901Courtesy of © TOYOTA, LICENSE AGREEMENT TMS1002
    3. Disengage the 2 claws and remove the shift lever guide housing from the floor shift assembly.
      NOTE:

      First remove the shift lever support and lock pin, then disengage the 2 claws.

    4. Disengage the 2 claws to remove the transmission control switch from the shift lever guide housing.
      Fig 3: Location of Transmission Control Switch Claws
      GTY285881Courtesy of © TOYOTA, LICENSE AGREEMENT TMS1002
  2. REMOVE SHIFT LOCK CONTROL ECU SUB-ASSEMBLY 
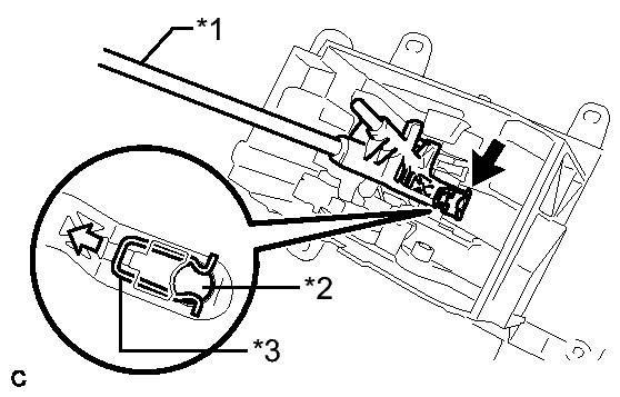
    1. Remove the shift lever nut and pull the pin.
      Fig 4: Identifying Shift Lock Control ECU Sub-Assembly Pin
      GTY255264Courtesy of © TOYOTA, LICENSE AGREEMENT TMS1002
      TEXT IN ILLUSTRATION

      *1 Shift Lever
      *2 Pin
      *3 Shift Lever Nut
    2. Remove the shift lever sub-assembly.
    3. Remove the 2 screws and shift lock control ECU sub-assembly.
      Fig 5: Identifying Shift Lock Control ECU Sub-Assembly Screws
      GTY277617Courtesy of © TOYOTA, LICENSE AGREEMENT TMS1002