LEMON Manuals: Even more car manuals for everyone: 1960-2025
Home >> Lexus >> 2012 >> IS F >> Repair and Diagnosis >> Brakes >> Traction Control >> Brake Control System (Service Information) >> Yaw Rate And Acceleration Sensor >> Components >> Illustration
April 5, 2026: LEMON Manuals is launched! Read the announcement.

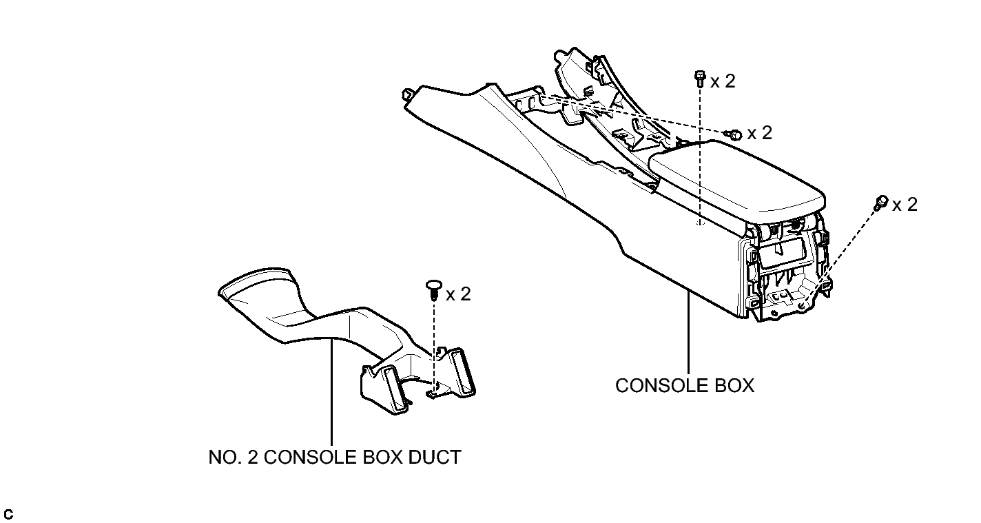
Yaw Rate And Acceleration Sensor: Components: Illustration

Fig 1: Identifying Yaw Rate And Acceleration Sensor Replacement Components (1 Of 2)
GTY284991Courtesy of © TOYOTA, LICENSE AGREEMENT TMS1002


Fig 1: Identifying Yaw Rate And Acceleration Sensor Replacement Components With Torque Specifications (2 Of 2)
GTY282160Courtesy of © TOYOTA, LICENSE AGREEMENT TMS1002