LEMON Manuals: Even more car manuals for everyone: 1960-2025
Home >> Lexus >> 2012 >> LS 460 RWD V8-4.6L (1UR-FSE) >> Repair and Diagnosis >> Maintenance >> Alignment >> Service and Repair >> Front Wheel Alignment
April 5, 2026: LEMON Manuals is launched! Read the announcement.

Front Wheel Alignment





SUSPENSION: FRONT WHEEL ALIGNMENT (for 2WD): ADJUSTMENT

1. INSPECT TIRES Component Tests and General Diagnostics

2. MEASURE VEHICLE HEIGHT (w/o Air Suspension)

(a) Bounce the vehicle at the corners up and down to stabilize the suspension and inspect the vehicle height.





Standard vehicle height (unloaded):





Measuring points:

A
Ground clearance of front wheel center

B
Ground clearance of front center position of front No. 2 suspension lower arm assembly front bush installation

C
Ground clearance of pit center of the attachment rear suspension arm

D
Ground clearance of rear wheel center

NOTICE:
* Before inspecting the wheel alignment, adjust the vehicle height to the specified value.
* The standard value shown here is a value that is used for adjusting the wheel alignment and does not indicate the height of an actual vehicle.

If the vehicle height is not as specified, adjust the height by pressing down on the vehicle several times to stabilize the suspension.

3. MEASURE VEHICLE HEIGHT (w/ Air Suspension)

(a) Bounce the vehicle at the corners up and down to stabilize the suspension and inspect the vehicle height.





Standard vehicle height (unloaded):





Measuring points:

A
Ground clearance of front wheel center

B
Ground clearance of front center position of front No. 2 suspension lower arm assembly front bush installation

C
Ground clearance of pit center of the attachment rear suspension arm

D
Ground clearance of rear wheel center

NOTICE:
* Before inspecting the wheel alignment, adjust the vehicle height to the specified value.
* The standard value shown here is a value that is used for adjusting the wheel alignment and does not indicate the height of an actual vehicle.

If the vehicle height is not as specified, adjust the height by pressing down on the vehicle several times to stabilize the suspension.

4. INSPECT TOE-IN

(a) Bounce the vehicle up and down at the corners to stabilize the suspension and inspect toe-in.





Toe-in (w/ Air Suspension):





Toe-in (w/o Air Suspension):





If toe-in is not within the specified range, adjust it at the rack ends.

5. ADJUST TOE-IN

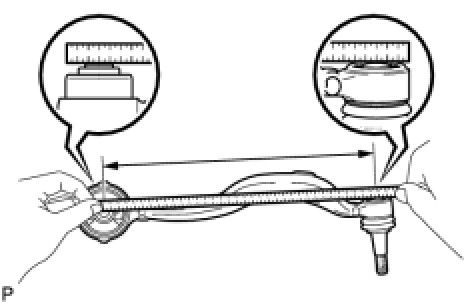
(a) Measure the thread lengths of the right and left rack ends.

Standard:

Difference in thread length of 1.5 mm (0.059 in.) or less

(b) Remove the rack boot set clips.

(c) Loosen the tie rod end lock nuts.

(d) Adjust the rack ends if the difference in thread length between the right and left rack ends is not within the specified range.

(1) Extend the shorter rack end if the measured toe-in deviates toward the outer-side.

(2) Shorten the longer rack end if the measured toe-in deviates toward the inner-side.

(e) Turn the right and left rack ends by an equal amount to adjust toe-in.

HINT
Try to adjust toe-in to the center of the specified range.

(f) Make sure that the lengths of the right and left rack ends are the same.

(g) Tighten the tie rod end lock nuts.





Torque : 55.9 Nm (571 kgf-cm, 41 ft-lbf)

NOTICE:
Temporarily tighten the lock nut while holding the hexagonal part of the steering rack end so that the lock nut and the steering rack end do not turn together. Hold the width across flat of the tie rod end and tighten the lock nut.

(h) Perform the VGRS system calibration Calibration.

(i) Place the boots on the seats and install the clips.





HINT
* Make sure that the boots are not twisted.
* Make sure that the clips' finger grips are positioned as shown in the illustration.

6. INSPECT WHEEL ANGLE

(a) Turn the steering wheel fully to the left and right and measure the turning angle.





Standard wheel turning angle:





If the right and left inside wheel angles differ from the specified range, check the right and left rack end lengths.

7. INSPECT CAMBER, CASTER AND STEERING AXIS INCLINATION

(a) Put the front wheels on the center of the alignment tester.





(b) Remove the center ornament.

(c) Install the camber-caster-steering axis inclination gauge at the center of the axle hub or drive shaft.

(d) Inspect the camber, caster and steering axis inclination.

Standard camber inclination (unloaded):





Standard caster inclination (unloaded):





Standard steering axis inclination (unloaded):





NOTICE:
* Inspect while the vehicle is empty.
* The maximum tolerance of right and left difference for the camber is 30' or less.
* The maximum tolerance of right and left difference for the caster is 45' or less.

(e) Remove the camber-caster-steering axis inclination gauge and attachment.

(f) Install the center ornament.

If the caster and steering axis inclination are not within the specified values, after the camber has been correctly adjusted, recheck the suspension parts for damaged and/or worn out parts.

8. ADJUST CAMBER AND CASTER

(a) Lift up the vehicle so that there is no load on the tires.

(b) Place a mark (with spray, etc.) over the front right vehicle side attachment area of the crossmember, which is indicated in the illustration.





(c) Place a mark (with spray, etc.) over the front left vehicle side attachment area of the crossmember.

(d) Loosen areas as necessary so that the front suspension crossmember can move.

(e) Move the front suspension crossmember and adjust the camber and caster.





Relative alignment change based on amount of suspension crossmember movement in each direction:





(f) Tighten the areas loosened previously.

9. ADJUST CAMBER

(a) If the front suspension crossmember's left to right camber value is not as specified even though the camber and caster adjustment was performed, replace the No. 1 arm attachment plate inner and No. 2 arm attachment plate inner. Then perform the camber adjustment again.

Standard:





HINT
For +2 mm parts, the upper arm installation hole is further toward the outside of the vehicle compared to standard parts.





10. INSPECT FRONT SUSPENSION

(a) Inspect the front suspension member.





(1) Measure the dimension between the center of the installation bolts of the front No. 2 suspension lower arm.

Standard length:

788 mm (31.0236 in.)

If the result is not within the specification, replace the front suspension member.

(b) Inspect the front No. 1 suspension lower arm.





(1) Remove the front No. 1 suspension lower arm Removal.

(2) Measure the dimension between the center of the front No. 1 suspension lower arm bush and the ball joint stud.

Standard length:

385.5 mm (15.177 in.)

HINT
If the dimension of the front suspension lower arm changes 2 mm (0.0787 in.), the camber will change approximately 15' (0.25°).

(c) Inspect the front No. 2 suspension lower arm.





(1) Remove the front No. 2 suspension lower arm Removal.

(2) Measure the dimension between the center of the front suspension lower arm bush and position A.

Standard length:

315.6 mm (12.425 in.)

HINT
If the dimension of the front suspension lower arm changes 2 mm (0.0787 in.), the camber will change approximately 15' (0.25°).

(d) Inspect the front No. 1 suspension upper arm.





(1) Remove the front No. 1 suspension upper arm Removal.

(2) Measure the dimension between the center of the front No. 1 suspension upper arm bush and the ball joint stud.

Standard length:

235.8 mm (9.283 in.)

HINT
If the dimension of the front suspension upper arm changes 2 mm (0.0787 in.), the camber will change approximately 15' (0.25°).

(e) Inspect the front No. 2 suspension upper arm.





(1) Remove the front No. 2 suspension upper arm Removal.

(2) Measure the dimension between the center of the front No. 2 suspension upper arm bush and the ball joint stud.

Standard length:

224.5 mm (8.839 in.)

HINT
If the dimension of the front suspension upper arm changes 2 mm (0.0787 in.), the camber will change approximately 15' (0.25°).