LEMON Manuals: Even more car manuals for everyone: 1960-2025
Home >> Lexus >> 2012 >> LS 460L AWD >> Repair and Diagnosis (Single Page) >> External Pages >> Different car >> Section 2 (Cruise Control System (Diagnostics - Introduction)) >> Cruise Control System >> System Diagram >> System Diagram
April 5, 2026: LEMON Manuals is launched! Read the announcement.

System Diagram

WARNING: This page is about a different car, the 2012 Lexus LS 460. However, it is still accessible from the selected car via links, so may be relevant.
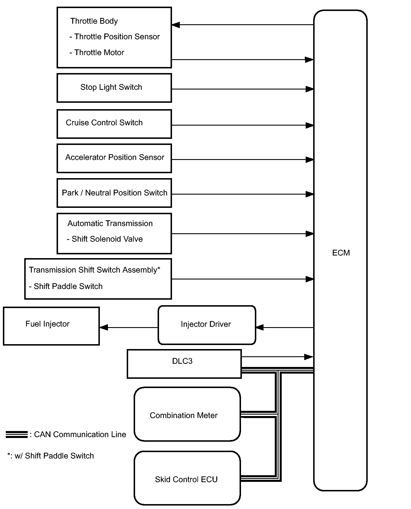
Fig 1: Identifying Cruise Control System Diagram
GTY272959Courtesy of © TOYOTA, LICENSE AGREEMENT TMS1002
COMMUNICATION TABLE

Sender Receiver Signal Line
Combination meter ECM CRUISE main indicator light signal CAN
Skid control ECU ECM Vehicle speed signal CAN