LEMON Manuals: Even more car manuals for everyone: 1960-2025
Home >> Lexus >> 2012 >> RX 350 AWD V6-3.5L (2GR-FE) >> Repair and Diagnosis >> Powertrain Management >> Computers and Control Systems >> Information Bus >> Testing and Inspection >> Component Tests and General Diagnostics >> Check CAN Bus Line For Short to +B >> Part 1
April 5, 2026: LEMON Manuals is launched! Read the announcement.

Part 1





NETWORKING: CAN COMMUNICATION SYSTEM: Check CAN Bus Line for Short to +B
- Check CAN Bus Line for Short to +B

DESCRIPTION

There may be a short circuit between the CAN bus main wire and +B when no resistance exists between terminals 6 (CANH) and 16 (BAT) or 14 (CANL) and 16 (BAT) of the DLC3.





WIRING DIAGRAM









INSPECTION PROCEDURE

NOTICE:
* Turn the engine switch off before measuring the resistances between CAN bus main wires and between CAN bus branch wires.
* Turn the engine switch off before inspecting CAN bus wires for a ground short.
* After the engine switch is turned off, check that the key reminder warning system and light reminder warning system are not operating.
* Before measuring the resistance, leave the vehicle as is for at least 1minute and do not operate the engine switch, any other switches or the doors. If any doors need to be opened in order to check connectors, open the doors and leave them open.

HINT
* Operating the engine switch, any other switches or a door triggers related ECU and sensor communication on the CAN. This communication will cause the resistance value to change.
* Even after DTCs are cleared, if a DTC is stored again after driving the vehicle for a while, the malfunction may be occurring due to vibration of the vehicle. In such a case, wiggling the ECUs or wire harness while performing the inspection below may help determine the cause of the malfunction.

PROCEDURE

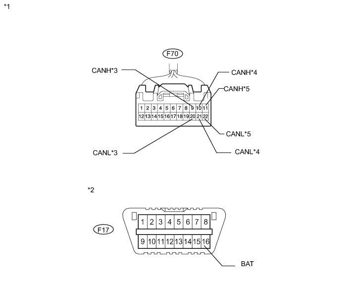
1. CHECK FOR SHORT TO +B IN CAN BUS WIRE (CAN NO. 1 J/C - CAN NO. 2 J/C)

(a) Disconnect the cable from the negative (-) battery terminal.

(b) Disconnect the CAN No. 1 junction connector.





Text in Illustration





(c) Measure the resistance according to the value(s) in the table below.





Standard Resistance:





Text in Illustration





NG -- CHECK FOR SHORT TO +B IN CAN BUS WIRE (CAN NO. 2 J/C - CAN NO. 1 J/C)
OK -- Continue to next step.

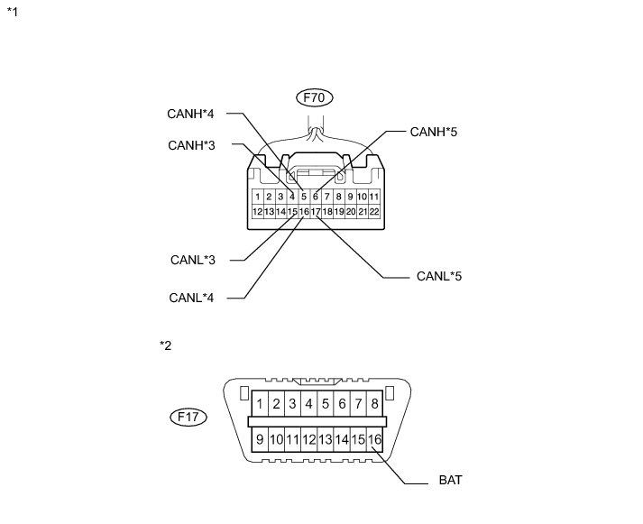
2. CHECK FOR SHORT TO +B IN CAN BUS WIRE (CAN NO. 1 J/C)





(a) Measure the resistance according to the value(s) in the table below.

Standard Resistance:





Result:





Text in Illustration





B -- CHECK FOR SHORT TO B+ IN CAN BUS WIRE (CAN NO. 1 J/C - POWER STEERING ECU)

C -- CHECK FOR SHORT TO B+ IN CAN BUS WIRE (CAN NO. 1 J/C - STEERING ANGLE SENSOR)

D -- REPAIR OR REPLACE CAN BRANCH WIRE CONNECTED TO DLC3 (CAN NO. 1 J/C - DLC3)
A -- Continue to next step.

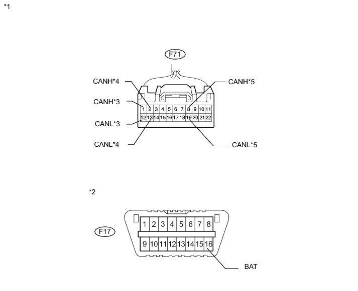
3. CHECK FOR SHORT TO +B IN CAN BUS WIRE (CAN NO. 1 J/C)





(a) Measure the resistance according to the value(s) in the table below.

Standard Resistance:





Text in Illustration





Result:





B -- CHECK FOR SHORT TO B+ IN CAN BUS WIRE (CAN NO. 1 J/C - COMBINATION METER)

C -- CHECK FOR SHORT TO B+ IN CAN BUS WIRE (CAN NO. 1 J/C - MAIN BODY ECU)

D -- CHECK FOR SHORT TO +B IN CAN BUS WIRE (CAN NO. 1 J/C - ECM)
A -- Continue to next step.

4. CHECK FOR SHORT TO +B IN CAN BUS WIRE (CAN NO. 1 J/C)





(a) Measure the resistance according to the value(s) in the table below.

Standard Resistance:





Text in Illustration





Result:





B -- CHECK FOR SHORT TO +B IN CAN BUS WIRE (CAN NO. 1 J/C - POWER MANAGEMENT CONTROL ECU)

C -- CHECK FOR SHORT TO +B IN CAN BUS WIRE (CAN NO. 1 J/C - CENTER AIRBAG SENSOR ASSEMBLY)

D -- CHECK FOR SHORT TO +B IN CAN BUS WIRE (CAN NO. 1 J/C - YAW RATE SENSOR)

A -- REPLACE CAN NO. 1 JUNCTION CONNECTOR

5. CHECK FOR SHORT TO +B IN CAN BUS WIRE (CAN NO. 2 J/C - CAN NO. 1 J/C)

(a) Disconnect the CAN No. 2 junction connector.





Text in Illustration





(b) Measure the resistance according to the value(s) in the table below.





Standard Resistance:





Text in Illustration





NG -- REPAIR OR REPLACE CAN BUS MAIN WIRE OR CONNECTOR (CAN NO. 2 J/C - CAN NO. 1 J/C)
OK -- Continue to next step.

6. CHECK FOR SHORT TO +B IN CAN BUS WIRE (CAN NO. 2 J/C)





(a) Measure the resistance according to the value(s) in the table below.

Standard Resistance:





Text in Illustration





Result:





B -- CHECK FOR SHORT TO +B IN CAN BUS WIRE (CAN NO. 2 J/C - SKID CONTROL ECU)

C -- CHECK FOR SHORT TO +B IN CAN BUS WIRE (CAN NO. 2 J/C - CERTIFICATION ECU)

D -- CHECK FOR SHORT TO +B IN CAN BUS WIRE (CAN NO. 2 J/C - NAVIGATION ECU)

A -- REPLACE CAN NO. 2 JUNCTION CONNECTOR

7. CHECK FOR SHORT TO B+ IN CAN BUS WIRE (CAN NO. 1 J/C - POWER STEERING ECU)

(a) Disconnect the power steering ECU connector.





Text in Illustration





(b) Measure the resistance according to the value(s) in the table below.





Standard Resistance:





Text in Illustration





NG -- REPAIR OR REPLACE CAN BUS BRANCH WIRE OR CONNECTOR (CAN NO. 1 J/C- POWER STEERING ECU)

OK -- REPLACE POWER STEERING ECU Removal

8. CHECK FOR SHORT TO B+ IN CAN BUS WIRE (CAN NO. 1 J/C - STEERING ANGLE SENSOR)

(a) Disconnect the steering angle sensor connector.





Text in Illustration





(b) Measure the resistance according to the value(s) in the table below.





Standard Resistance:





Text in Illustration





NG -- REPAIR OR REPLACE CAN BUS BRANCH WIRE OR CONNECTOR (CAN NO. 1 J/C - STEERING ANGLE SENSOR)

OK -- REPLACE SPIRAL CABLE W/STEERING SENSOR SUB-ASSEMBLY Removal