LEMON Manuals: Even more car manuals for everyone: 1960-2025
Home >> Lexus >> 2012 >> RX 350 AWD V6-3.5L (2GR-FE) >> Repair and Diagnosis >> Powertrain Management >> Computers and Control Systems >> Information Bus >> Testing and Inspection >> Component Tests and General Diagnostics >> Check CAN Bus Lines For Short Circuit >> Part 1
April 5, 2026: LEMON Manuals is launched! Read the announcement.

Part 1





NETWORKING: CAN COMMUNICATION SYSTEM: Check CAN Bus Lines for Short Circuit
- Check CAN Bus Lines for Short Circuit

DESCRIPTION

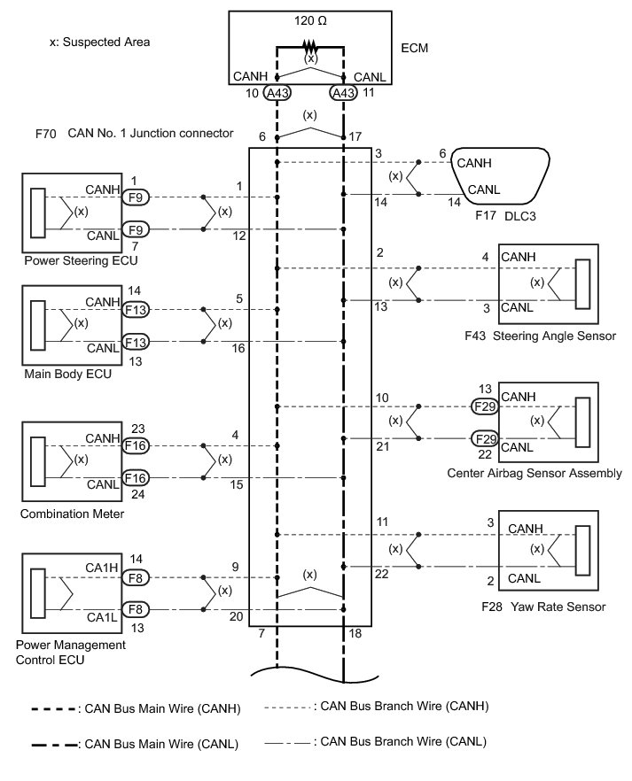
There may be a short circuit in the CAN bus main wire and/or CAN branch wire when the resistance between terminals 6 (CANH) and 14 (CANL) of the DLC3 is below 54 Ohms.





WIRING DIAGRAM









INSPECTION PROCEDURE

NOTICE:
* Turn the engine switch off before measuring the resistances between CAN bus main wires and between CAN bus branch wires.
* Turn the engine switch off before inspecting CAN bus wires for a ground short.
* After the engine switch is turned off, check that the key reminder warning system and light reminder warning system are not operating.
* Before measuring the resistance, leave the vehicle as is for at least 1minute and do not operate the engine switch, any other switches or the doors. If any doors need to be opened in order to check connectors, open the doors and leave them open.

HINT
* Operating the engine switch, any other switches or a door triggers related ECU and sensor communication on the CAN. This communication will cause the resistance value to change.
* Even after DTCs are cleared, if a DTC is stored again after driving the vehicle for a while, the malfunction may be occurring due to vibration of the vehicle. In such a case, wiggling the ECUs or wire harness while performing the inspection below may help determine the cause of the malfunction.

PROCEDURE

1. CHECK FOR SHORT IN CAN BUS WIRE (CAN NO. 1 J/C - CAN NO. 2 J/C)

(a) Turn the engine switch off.

(b) Disconnect the CAN No. 1 junction connector.





Text in Illustration





(c) Measure the resistance according to the value(s) in the table below.

Standard Resistance:





NG -- CHECK FOR SHORT IN CAN BUS WIRE (CAN NO. 2 J/C - CAN NO. 1 J/C)
OK -- Continue to next step.

2. CHECK FOR SHORT IN CAN BUS WIRE (CAN NO. 1 J/C - ECM)

(a) Measure the resistance according to the value(s) in the table below.





Standard Resistance:





Text in Illustration





NG -- CHECK FOR SHORT IN CAN BUS WIRE (ECM)
OK -- Continue to next step.

3. CHECK FOR SHORT IN CAN BUS WIRE (CAN NO. 1 J/C - DLC3)

(a) Measure the resistance according to the value(s) in the table below.





Standard Resistance:





Text in Illustration





NG -- REPAIR OR REPLACE CAN BRANCH WIRE CONNECTED TO DLC3
OK -- Continue to next step.

4. CHECK FOR SHORT IN CAN BUS WIRE (CAN NO. 1 J/C - COMBINATION METER)

(a) Disconnect the combination meter connector.





Text in Illustration





(b) Measure the resistance according to the value(s) in the table below.





Standard Resistance:





Text in Illustration





NG -- REPAIR OR REPLACE CAN BUS BRANCH WIRE OR CONNECTOR (CAN NO. 1 J/C - COMBINATION METER)
OK -- Continue to next step.

5. CHECK FOR SHORT IN CAN BUS WIRE (CAN NO. 1 J/C - STEERING ANGLE SENSOR)

(a) Disconnect the steering angle sensor connector.





Text in Illustration





(b) Measure the resistance according to the value(s) in the table below.





Standard Resistance:





Text in Illustration





NG -- REPAIR OR REPLACE CAN BUS BRANCH WIRE OR CONNECTOR (CAN NO. 1 J/C - STEERING ANGLE SENSOR)
OK -- Continue to next step.

6. CHECK FOR SHORT IN CAN BUS WIRE (CAN NO. 1 J/C - POWER STEERING ECU)

(a) Disconnect the power steering ECU connector.





Text in Illustration





(b) Measure the resistance according to the value(s) in the table below.





Standard Resistance:





Text in Illustration





NG -- REPAIR OR REPLACE CAN BUS BRANCH WIRE OR CONNECTOR (CAN NO. 1 J/C - POWER STEERING ECU)
OK -- Continue to next step.

7. CHECK FOR SHORT IN CAN BUS WIRE (CAN NO. 1 J/C - YAW RATE SENSOR)

(a) Disconnect the yaw rate sensor connector.





Text in Illustration





(b) Measure the resistance according to the value(s) in the table below.





Standard Resistance:





Text in Illustration





NG -- REPAIR OR REPLACE CAN BUS BRANCH WIRE OR CONNECTOR (CAN NO. 1 J/C - YAW RATE SENSOR)
OK -- Continue to next step.

8. CHECK FOR SHORT IN CAN BUS WIRE (CAN NO. 1 J/C - POWER MANAGEMENT CONTROL ECU)

(a) Disconnect the power management control ECU connector.





Text in Illustration





(b) Measure the resistance according to the value(s) in the table below.





Standard Resistance:





Text in Illustration





NG -- REPAIR OR REPLACE CAN BUS BRANCH WIRE OR CONNECTOR (CAN NO. 1 J/C - POWER MANAGEMENT CONTROL ECU)
OK -- Continue to next step.

9. CHECK FOR SHORT IN CAN BUS WIRES (CAN NO. 1 J/C - CENTER AIRBAG SENSOR ASSEMBLY)

(a) Disconnect the center airbag sensor assembly connector.





Text in Illustration





(b) Measure the resistance according to the value(s) in the table below.





Standard Resistance:





Text in Illustration





NG -- REPAIR OR REPLACE CAN BUS BRANCH WIRE OR CONNECTOR (CAN NO. 1 J/C - CENTER AIRBAG SENSOR ASSEMBLY)
OK -- Continue to next step.

10. CHECK FOR SHORT IN CAN BUS WIRE (CAN NO. 1 J/C - MAIN BODY ECU)

(a) Disconnect the main body ECU connector.





Text in Illustration





(b) Measure the resistance according to the value(s) in the table below.





Standard Resistance:





Text in Illustration





NG -- REPAIR OR REPLACE CAN BUS BRANCH WIRE OR CONNECTOR (CAN NO. 1 J/C - MAIN BODY ECU)
OK -- Continue to next step.

11. CHECK FOR SHORT IN CAN BUS WIRES (CAN NO. 1 J/C)

(a) Reconnect the CAN No. 1 junction connector.

(b) Measure the resistance according to the value(s) in the table below.





Standard Resistance:





Text in Illustration





NOTICE:
The resistance must be measured after the main wire connected ECUs (ECM and certification ECU), and the CAN No. 1 and No. 2 junction connectors are reconnected.

NG -- REPLACE CAN NO. 1 JUNCTION CONNECTOR
OK -- Continue to next step.